Проектирование генеральных планов аэропортов
8.69M
Category: life safetylife safety

Проектирование_генеральных_планов_аэропортов_семинары_5_6

1. Проектирование генеральных планов аэропортов

Семинар 5-6. Перрон. Место стоянки (МС). МС хранения. МС для
доводочных работ, Предангарные МС. Места мойки ВС. МС для гонки
авиадвигателей. Расчет количества МС на перроне. Приписной парк.
Планировка перрона. Путь руления. Дневная маркировка ВС. Дневная
маркировка путей движения спецавтотранспорта. План дневной
маркировки перрона. Площадка ожидания

2.

3.

перрон: Определенная площадь сухопутного аэродрома, предназначенная
для размещения воздушных судов в целях посадки и высадки пассажиров,
погрузки или выгрузки почты или грузов, заправки, стоянки или технического
обслуживания ВС. (3.19)
площадка специального назначения: Выделенный участок летного поля
аэродрома, предназначенный для выполнения специальных видов
обслуживания ВС. (3.20)
место стоянки; МС: Выделенный участок на перроне, предназначенный для
стоянки ВС. (3.16)
место стоянки хранения; МС хранения: Подготовленная площадка на
аэродроме, предназначенная для стоянки ВС в целях их хранения и
технического обслуживания. (3.16а)

4.

Основные принципы выбора планировочных решений перронов, мест стоянок и
площадок специального назначения
В зависимости от величины пропускной способности перрона, геометрических характеристик
самолетов, способов их передвижения и установки, форм и технологии их обслуживания, а также
производственно-технологических требований обслуживания пассажиров, доставки, погрузки,
разгрузки багажа, почты и грузов, технологические и планировочные решения пассажирских перронов
могут быть:
по принципу взаиморасположения с аэровокзалом:
примыкающие к аэровокзалу;
удаленные от аэровокзала;
по принципу организации технологических процессов:
одноуровневые (все процессы и операции осуществляются в уровне покрытия перрона);
двухуровневые (все процессы, за и исключением посадки пассажиров в самолет,
осуществляется в уровне покрытия перрона, а посадка пассажиров - в уровне пола салона самолета);
по принципу расстановки самолетов:
однорядные;
многорядные;
по объемно-планировочному решению:
открытые (без посадочных сооружений аэровокзала на покрытии перрона);
оборудованные специальными посадочными сооружениями аэровокзала.

5.

Открытый перрон - тип перрона, на котором самолеты располагается в один или несколько рядов таким образом, чтобы
били созданы условия для удобного заруливания и выруливания самолетов на стоянки, а также для механизированной
очистки аэродромных покрытий покрытий и т.д.

6.

7.

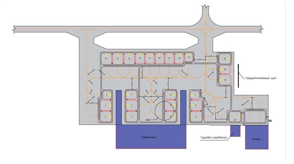
Перрон со специальными посадочными сооружениями
аэровокзала может быть галерейный, сателлитный, а также с
посадкой непосредственно из основного здания аэровокзала.
Количество МС самолетов, располагаемых у одной галереи,
рекомендуется принимать не более 12. При 13-24 МС
рекомендуется проектировать две галереи, при 25 и более многогалерейную систему.

8.

9.

10.

При устройстве посадочных сооружений аэровокзала в виде
сателлита, вокруг которого располагается самолеты, свявь его с
основным зданием аэровокзала обеспечивается наземным
(переходная галерея) или подземным (тоннель) способом. При
варианте переходной галереи следует предусматривать не более 5
МС около сателлита, при устройстве тоннеля - не более 6 МС.

11.

12.

13.

14.

Окончательный выбор типа перрона следует осуществлять на основе техникоэкономического сравнения вариантов аэровокзального комплекса (привокзальная площадь аэровокзал - перрон).
Пассажирские перроны в зависимости от класса аэропорта, показателей пропускной
способности, количества мест стоянки самолетов делятся на три группы. (не применяется)
Взаиморасположение перрона с аэровокзалом и другими зданиями и сооружениями
аэропорта следует устанавливать в соответствии с технологическими связями между ними,
технологией работы аэровокзала, а также с учетом перспективы развития аэровокзального
комплекса.
При одной ВПП перрон, как правило, следует располагать на одинаковом удалении от
торцов ВПП.
При двух и более ВПП перрон следует располагать таким образом, чтобы пути руления
самолетов на взлет я на посадку были минимальными и его расположение не оказывало влияние
на работу радиосредств.
Перрон следует соединять РД с теми элементами аэродрома, с которыми необходимы
технологические связи (ВПП, МС, площадки специального назначения).
При размещении осветительных мачт или другого оборудования, а также при выборе расстановки
самолетов на перроне, необходимо учитывать действующие требования по ограничение высот
объектов, расположенных на летном поле и в районе аэродрома.

15.

16.

17.

При проектировании перрона следует предусматривать его зонирование, т.е.
выделение отдельный зон стоянки самолетов. При зонировании места стоянии самолетов
на перроне разделяется:
по местоположению:
ближние;
дальние;
по назначение:
специализированные;
частично-универсальные;
универсальные.
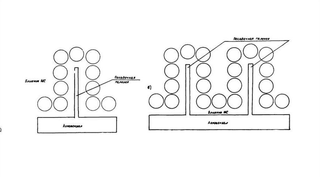
К ближним местам стоянки самолетов относятся ВС, расположенные
непосредственно у основного здании аэровокзала или у специальных посадочных
сооружений аэровокзала .
Специализированные стояния самолетов - стоянки, на которых могут размечаться и
обслуживаться самолеты одного типа.
Частично-универсальные стоянки самолетов - стоянки, на которых могут
размечаться и обслуживаться самолеты одной группы.
Универсальные стоянки самолетов - стоянки, на которых могут размечаться к
обслуживаться самолеты нескольких групп.

18.

Как правило, ближние МС на перроне следует предусматривать универсальными
или частично-универсальными, с размещением на них в первую очередь самолетов
большей пассажировместимости и требующих более длительного времени обслуживания.
Схема расстановки самолетов на перроне должна обеспечивать:
безопасность следования (доставки) пассажиров к самолету (и обратно) и посадки
(высадки);
безопасность движения самолетов по перрону;
минимальные площади искусственных покрытий и протяженности путей руления;
движение спецавтотранспорта и средств перронной механизации;
возможность использования стационарного оборудования и передвижных средств
для технического обслуживания самолетов.
При размещении самолетов на перроне, как правило, следует использовать
следующие схемы их расстановки:
хвостовой частью к оси руления;
носовой частью к оси руления;
между двумя осями руления - перпендикулярно или под углом к осям руления.

19.

20.

21.

22.

На ближних МС самолеты, как правило, следует устанавливать носовой частью к
аэровокзалу. При использовании тягачей для буксировки самолетов, расстояние от здания
аэровокзала или посадочного сооружения до самолета должно обеспечивать установку и
маневрирование тягача с буксировочным устройством. В зависимости от типа самолета,
габаритов тягача и буксировочного устройства, указанное расстояние рекомендуется
принимать равным от 25 до 34 м.
При расстановке самолетов у телескопических трапов следует учитывать: тип трапа
(с неподвижной опорой или поворотный), способ наведения самолета на КС, тип самолета.
Места стоянки для обслуживания приписных воздушных судов, предназначенные
для ночной стоянки, стоянки резервных самолетов, а также ожидания трудоемких видов их
технического
обслуживания,
рекомендуется
предусматривать,
как
правило,
универсальными, обеспечивающими размещение и обслуживание наибольшего по
габаритам типа самолета. Самолеты рекомендуется располагать носовой частью к оси
руления.

23.

При соответствующем технико-экономическом обосновании, а также в соответствии с заданием на
проектирование в целях экономии авиационного топлива, на пути движения самолетов от перрона или МС к ИВПП
следует устраивать специальную площадку для запуска авиадвигателей. В целях максимальной экономии
авиатоплива площадку следует располагать вблизи ИВПП, при этом воздушные суда, осветительные мачты,
технологическое оборудование и т.п. не должны превышать условные поверхности ограничения препятствий.
Расположение площадок для запуска авиадвигателей не должно препятствовать устойчивой работе
радиотехнических средств и соблюдению санитарных требований по допустимым уровням сверхвысокочастотных
облучений от радиотехнических систем и шума.
Для размещения самолетов на площадке для запуска авиадвигателей рекомендуется использовать
следующие варианты размещения самолетов:
при 1 МС самолеты устанавливается параллельно оси руления (рис. 16) или под углом к оси РД (рис. 17);
при 2 МС и более самолеты устанавливается под углом к оси РД (см. рис. 17).
При отсутствии на аэродроме площадок для запуска авиадвигателей и невозможности организации запуска
авиадвигателей на ближних МС, на перроне (или вблизи его) следует предусматривать специальные МС для
запуска авиадвигателей.
При устройстве на аэродромах площадок для запуска авиадвигателей для обеспечения безопасного
движения самолетов и тягачей в аэропортах внеклассных, I, II и III классов следует предусматривать подъездные
пути для движения тягачей. Бровка земляного полотна должна располагаться на расстоянии не менее 7,5 м от
крайней точки габарита рулящего по РД самолета, имевшего наибольший размах крыла, при этом необходимо, по
возможности, использовать существующую сеть внутрипортовых дорог. Конструкция покрытий подъездных путей
должна обеспечивать нагрузку от буксировщика.

24.

25.

26.

27.

28.

29.

Общее количество МС на аэродроме САД определяется по формуле
Сад = Спд + Сз + Смс + Сд + См + Спр
Спд-Количество мест стоянок в дневное время
Сз- Количество мест для запуска двигателей
(Определяем по нормам ВНТП 1-85)
Смс- Количество мест стоянок приписных самолетов
Сд – Количество мест для доводочных работ (Определяем по нормам ВНТП
1-85)
См- Количество мест для мойки (Определяем по нормам ВНТП 1-85)
Спр- Количество мест на предангарной площадке (Определяем по нормам
ВНТП 1-85)

30.

31.

32.

Количество стоянок самолетов на аэродроме в дневной период суток (СПД) определяется
по формуле:
Спд = ∑ (Ni + βi *Pi) - Cм - Cпр –Nсв
где Ni – количество стоянок самолетов i-группы на перроне, определяется по графику 1 в
зависимости от интенсивности движения ВС в максимальный час и среднего времени стоянки
на перроне Ti
(Ti принято для ВС I группы-1.9ч, II группы – 1,45 ч, III и IVгруппы 0,97 ч);
βi – коэффициент, учитывающий количество ВС приписного парка i-ой группы, простаивающие
в ожидании рейсов (для самолетов I группы=0.25, II и III группы=0,3, IV группы=0)
Pi – количество приписных самолетов i-ой группы
Nсв – количество свободных стоянок на местах обслуживания приписных самолетов в период
наибольшей интенсивности движения, определяемые по графику 2 (I)

33.

График 1 для Ni

34.

Количество
свободных
стоянок
определяется в
соответствии с графиком.
Если
в
аэропорту
эксплуатируется приписные
самолеты I и II групп вместе
с самолетами III группы, то в
этом случае количество
свободных
стоянок
на
местах
обслуживания
следует определять, исходя
из общего числа самолетов
приписного парка по ветви
II(a) графика, относящегося к
самолетам I и II групп.

35.

Количество стоянок ВС на местах обслуживания приписных
воздушных судов
Смс = ∑ Ki*Pi + Pот
Где: ki – коэффициент, учитывающий количество резервных приписных ВС
i –группы, для II III IVгруппы ВС ki=0,085. Для I группы ВС ki=0,075;
Pi – количество ВС приписного парка i-группы
Pот – количество МС для самолетов приписного парка, поступающих на
трудоемкие виды технического обслуживания в течение суток, определяется
по графику 2 (I).

36.

37.

38.

39.

40.

41.

42.

43.

44.

пути движения
спецавтотранспорта
контур зоны обслуживания ВС
маршрут руления ВС
на перроне
(ось руления ВС)
знак разрешения на въезд и
выезд спецавтотранспорта
номер стоянки
Т – образный знак
остановки
ось руления ВС спецавтотранспорта
Т – образный знак
остановки ВС

45.

4.33. На покрытии перронов и мест стоянок должны быть нанесены следующие
маркировочные знаки (рисунок 7 приложения № 10 к настоящим Правилам):
осей руления ВС (линий заруливания, разворота, выруливания);
разделительных осей путей движения спецавтотранспорта;
Т-образных знаков остановки ВС;
номеров стоянок;
контуров зон обслуживания ВС;
путей движения спецавтотранспорта;
знаков остановки спецавтотранспорта;
знаков разрешения на въезд и выезд спецавтотранспорта.
Допускается отличная от указанной на рисунке 7 приложения № 10 к настоящим
Правилам конфигурация контура зоны обслуживания ВС в случае маркировки
комплексных (рассчитанных на несколько ВС различных типов) мест стоянок ВС, как
представлено на рисунке 8 приложения № 10 к настоящим Правилам.
Допускается маркировка краев перрона по границе покрытий в случае
отсутствия контраста между их границами и примыкающей поверхностью сплошной
линией шириной 0,15 м.

46.

1 - оси руления ВС;
2 - номер стоянки ВС;
3 - контур зоны обслуживания ВС;
4 - пути движения спецавтотранспорта;
5 - Т-образный знак остановки спецавтотранспорта;
6 - Т-образный знак места остановки ВС;
7 - разделительная ось пути движения спецавтотранспорта;
8 - знак разрешения на въезд и выезд спецавтотранспорта.
Примечание: размеры даны в метрах.

47.

Примечания:
1. Размеры даны в метрах;
2. В представленном на рисунке примере
контура зоны обслуживания возможна
единовременная стоянка либо двух ВС
на МС 19a и 19b, либо одного ВС на МС
19.
3. Для указанных МС определен общий
контур зоны обслуживания ВС.

48.

4.34. Форма и размеры Т-образного знака остановки ВС (носовой части)
приведены на рисунке 1 приложения № 10 к настоящим Правилам.
Расстояние между поперечной линией Т-образного знака и прямолинейной
осью руления ВС должно составлять не менее половины размаха крыла и
безопасное расстояние (от 4 до 7,5 м). Расстояние между Т-образными
знаками составляет не менее размаха крыла с учетом безопасного
расстояния (от 5 до 7,5 м).

49.

III - перрон.
10 - пути руления ВС по прямой и кривой;
11 - Т-образный знак остановки ВС;
12 - номер стоянки ВС; 6 - край ИВПП;
13 - контур зоны обслуживания ВС;
14 - пути движения спецавтотранспорта;
15 - Т-образный знак остановки
спецавтотранспорта. Примечание: числитель
дробей, отмеченных звездочками, обозначает
размеры маркировочных знаков аэродромов
класса А, Б, В, знаменатель - размеры
маркировочных знаков аэродромов классов Г,
Д.

50.

4.34. Форма и размеры Тобразного знака остановки ВС
(носовой части) приведены на
рисунке 1 приложения № 10 к
настоящим
Правилам.
Расстояние между поперечной
линией Т-образного знака и
прямолинейной осью руления
ВС должно составлять не менее
половины размаха крыла и
безопасное расстояние (от 4 до
7,5 м). Расстояние между Тобразными знаками составляет
не менее размаха крыла с
учетом безопасного расстояния
(от 5 до 7,5 м).

51.

2.28. Расстояние между осевой линией маршрута руления на перроне и
неподвижными препятствиями должно быть не менее:
16,0 м для ВС индекса 1;
22,0 м для ВС индексов 2,
3; 28,5 м для ВС индексов 4, 5;
40,0 м для ВС индекса 6;
47,5 м для ВС индекса 7.
В случае, если в качестве маршрута руления на перроне используется
РД аэродрома, примыкающая на определенном протяжении к перрону,
расстояние между осевой линией маршрута руления должно быть
увеличено в соответствии с пунктом 3.26 (2.26) настоящих Правил

52.

Пункт 4.34 ФАП-262 регламентирует расстояние между осевой
линией маршрута руления на перроне и неподвижными
препятствиями (расстояние между поперечной линией
Т-образного знака и прямолинейной осью руления ВС) для ВС
размах крыла которых превышает максимальных размах крыла
для 7 индекса ВС.

53.

4.35. Номер места стоянки необходимо наносить на расстоянии 2,0 м
впереди Т-образного знака. Размеры и форма цифр приведены на рисунке 9
приложения № 10 к настоящим Правилам.

54.

55.

4.36. Контур зоны обслуживания ВС наносится сплошной линией шириной
0,15 м в виде восьмиугольника, размеры которого, как правило,
соответствуют габаритам эксплуатируемых ВС, а линии наносятся не ближе
2,0 м от крайних габаритных точек ВС.

56.

1 - оси руления ВС;
2 - номер стоянки ВС;
3 - контур зоны обслуживания ВС;
4 - пути движения спецавтотранспорта;
5 - Т-образный знак остановки спецавтотранспорта;
6 - Т-образный знак места остановки ВС;
7 - разделительная ось пути движения спецавтотранспорта;
8 - знак разрешения на въезд и выезд спецавтотранспорта.
Примечание: размеры даны в метрах.

57.

4.37. На покрытиях площадок противообледенительной обработки ВС (мест
стоянок), примыкающих к РД, в дополнение к маркировке МС должна быть
нанесена маркировка промежуточных мест ожидания

58.

4.38. Маркировочные знаки перрона и мест стоянок должны быть следующих цветов: желтого
(оранжевого) - для осей руления ВС, Т-образных знаков места остановки ВС и номеров стоянок;
красного - для линий контуров зон обслуживания ВС;
белого - для путей движения и знаков остановки спецавтотранспорта.
Пути движения спецавтотранспорта для аэродромов всех классов маркируются двумя
сплошными линиями шириной 0,1 м, обозначающими ширину проезжей части равной 7,0 м - при
двустороннем движении спецмашин и 3,5 м - при одностороннем движении.
Двусторонние пути маркируются разделительной пунктирной линией шириной 0,1 м и
шагом 1,0 м.
Односторонние и двусторонние пути движения спецавтотранспорта могут наноситься как
перед стоящими ВС, так и за ними, на расстоянии не менее 2,0 м от крайних точек эксплуатируемых
ВС.
В местах разрешенного въезда спецавтотранспорта в промежуток между стоянками ВС
сплошная линия прерывается и заменяется пунктирной. В промежутках между местами стоянок ВС
маркируется Т-образный знак, обозначающий место остановки спецавтотранспорта перед
подъездом к ВС для его обслуживания. Знак «Т» располагается на расстоянии не ближе 10 м от
крайних габаритных точек стоящих рядом ВС. Форма и размеры Т-образного знака места остановки
спецавтотранспорта приведены на рисунке 1 приложения № 10 к настоящим Правилам.

59.

60.

III - перрон.
10 - пути руления ВС по прямой и кривой;
11 - Т-образный знак остановки ВС;
12 - номер стоянки ВС; 6 - край ИВПП;
13 - контур зоны обслуживания ВС;
14 - пути движения спецавтотранспорта;
15 - Т-образный знак остановки
спецавтотранспорта. Примечание: числитель
дробей, отмеченных звездочками, обозначает
размеры маркировочных знаков аэродромов
класса А, Б, В, знаменатель - размеры
маркировочных знаков аэродромов классов Г,
Д.
English     Русский Rules