Схема работы многовалковой листоправильной машины
Калибрующее кольцо
Схема сборки обечаек на роликовых стендах
Схема сборки обечайки и днища
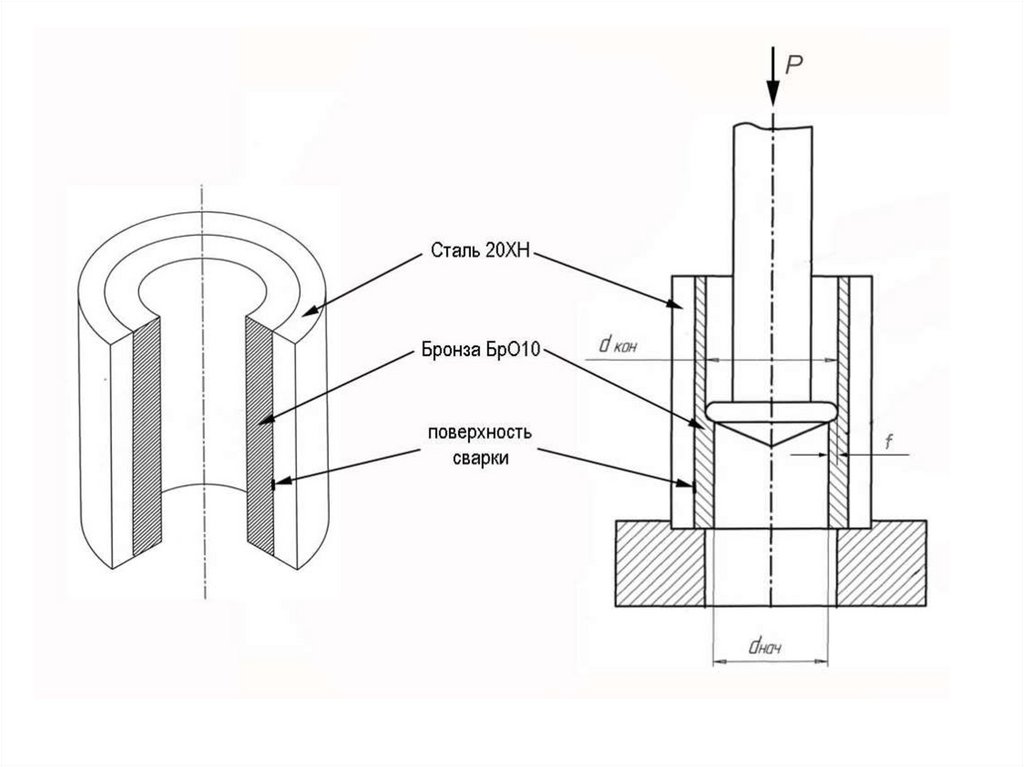
Копирующее устройство для снятия односторонней фаски: 1-обкатывающий ролик,2-пружина прижимная, 3-резец
Установка для производства трехслойного биметалла методом холодной прокатке в рулонне
Установка для производства трехслойного биметалла методом холодной прокатке в рулонне
Схема прокатки биметалла в профильных валках
а) б) Схема установки пластин для отливки биметаллических заготовок: а) и б)-двухслойные листы
Заливка жидкого металла непосредственно на плакируемый металл
а) б) Схема непрерывно отливки биметаллов: а)-трехслойных, б)-двухслойных, 1 и 2-кристаллизаторы, 3- основной, 4-плакирующий
Схема футерования труб волочением: 1-наружная труба,2-внутренняя труба, 3-обжатый конец, 4-фильера
Установка для безкопирной вырезки отверстий в корпусах аппаратов
Установка для газовой вырезки отверстий
Конструкции фланцев
Фланцевое соединение
Приварка фланца в стык
Свободный фланец (пластмасса)
Виды уплотнительных паверхностей фланцев: а) плоская поверхность, б)-полузащищенный фланец, в)-защищищенный фланец (типа
Конструкция гибкого элемента двухслойного куомпенсатора
16.12M
Category: industryindustry

Схема работы многовалковой листоправильной машины

1. Схема работы многовалковой листоправильной машины

2.

Конструкции щеток для очистки стальных
листовых заготовок

3.

Схема работы гильотинных ножниц:
а - с параллельными ножами; б - с наклонными ножами;
1-стол; 2-прижимы пневматические; 3-нижний нож 4-верхний нож;
5-подвижная траверса 6-заготовка;7-упор

4.

Дефекты при резке
листового проката

5.

Схема резки с обратной подачей листа

6.

а)
б)
в)
Типы дисковых ножниц:
а)- с прямым расположением ножей; б)-с одним
наклонным ножом; в)-с двумя наклонными ножами

7.

Схема кислородной резки:
1-горючий газ+кислород ; 2-режущий кислород;
3-подогревающее пламя (1000-1200)оС; 4-режущее пламя;
5-заготовка

8.

Воздушно-дуговая резка
1-металл; 2-графитовый электрод;3-струя сжатого воздуха
для удаления металла

9.

а)
б)
в)
Схема работы кромкострогального а) и б) и
кромкофрезарного в) станков

10.

Форма разделки кромок под сварку:
а)- без скоса кромок; б) и д) –V образный скос кромок;
в)и г) –X образный скос кромок; e)- Uобразный скос кромок

11.

12.

13.

Гибка на двухвалковых машинах:
1-гибочный упор; 2-стол; 3-давильный валок

14.

Вальцы с эластичным покрытием

15.

Трехвалковая симметричная машина

16.

Гибка листа на машинах с ассиметричным
расположением валков

17.

Четырехвалковая листогибочная машина

18.

Гибочная машина с поворотной траверсой:
1-нажимная траверса; 2-оправка; 3-заготовка; 4-стол;
5- поворотная траверса

19.

Гибка полуобечаек на прессах:
1-пуансон;2-заготовка;3-матрица

20.

а)
б)
в)
Дефекты, возникающие при гибке на вальцах

21.

г)
д)
е)
Дефекты, возникающие при гибке на вальцах

22.

Схема гибки конических обечаек на трехвалковых
машинах

23.

Схема свертывания конических обечаек:
1-заготовка; 2и5-опоры; 3и4-кромки заготовки

24.

Cпособ гибки конических обечаек

25.

Струбцина

26.

а)
а)
б)
Сборочные кольца:
а)- стяжное; б)-распорное

27. Калибрующее кольцо

28.

Схема располжения прихваток и планок:
1-планка заходная; 2-прихватка; 3- пластина контрольная; 4планка выходная

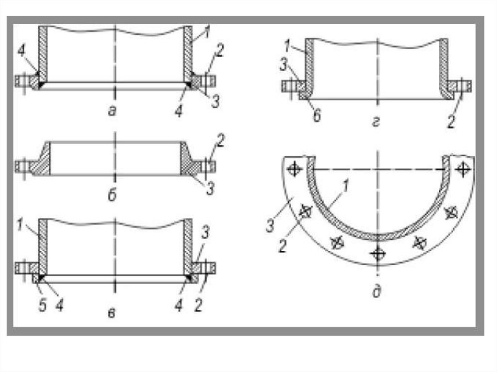
29. Схема сборки обечаек на роликовых стендах

30. Схема сборки обечайки и днища

31.

Нахлест кромок

32.

Дефекты при гибке нежестких обечанк

33.

Устройство для гибки нежестких обечаек:
1- поддерживающее устройство; 2- телескопические
опоры

34.

35.

36.

37.

38.

39.

40.

а)
б)
Конструкции днищ:
а)-эллиптическое б)торосферическое
(коробовое)

41.

а)
в)
б)
г)
д)
Конструкции днищ:
а)-эллиптическое, б)-торосферическое (коробовое),
г) и д)-коническое неотбортованное

42.

е)
ж)
з)
е)-плоские днища не отбортованные,
ж)-плоские днища отбортованные,
з)-тарельчатые днища.

43.

Схема горячей штамповки днища:
1-протяжное кольцо матрицы, 2- «грибок»
пуансона, 3-формирующее кольцо матрицы

44.

Схема давильных станков горизонтального типа:
1-оправка, 2-прижимная шайба, 3-давильный ролик

45.

Схема безоправочного выдавливания днищ:
1-опорный ролик, 2-прижимная шайба, 3-шпиндель
станка

46.

Схема работы портальной машины:
1-неподвижный бортовочный, 2-неподвижный
давильный валки

47.

Схема ротационного выдавливания днищ

48.

Установка ротационного выдавливания днищ

49.

Штамповка тонкостенных днищ:
1-заготовка, 2-протяжное кольцо, 3-фланец

50.

Пресс двойного действия:
1-заготовка, 2-штамп, 3-плунжер, 4-прижим

51.

Гидравлическая вытяжка днища

52.

Схема правки днища:
1-днище, 2-калибровачное кольцо,
3-пустотелая камера, 4-гидроцилиндр.

53.

Схема калибровки днищ обжимом:
1-пуансон, 2-днище, 3-корпус матрицы, 4-протяжное кольцо

54.

а)
б)
Калибровка днищ пластическим обжимом:
1-днище, 2-ползуны, 3-кольцо

55. Копирующее устройство для снятия односторонней фаски: 1-обкатывающий ролик,2-пружина прижимная, 3-резец

56.

Копирующее устройство для снятия двухсторонней
фаски
1-обкатывающий ролик,2-пружина прижимная, 3-резец

57. Установка для производства трехслойного биметалла методом холодной прокатке в рулонне

58. Установка для производства трехслойного биметалла методом холодной прокатке в рулонне

59. Схема прокатки биметалла в профильных валках

60.

61. а) б) Схема установки пластин для отливки биметаллических заготовок: а) и б)-двухслойные листы

62.

63.

64.

65. Заливка жидкого металла непосредственно на плакируемый металл

66.

67. а) б) Схема непрерывно отливки биметаллов: а)-трехслойных, б)-двухслойных, 1 и 2-кристаллизаторы, 3- основной, 4-плакирующий

а)
б)
Схема непрерывно отливки биметаллов:
а)-трехслойных, б)-двухслойных, 1 и 2кристаллизаторы, 3- основной, 4-плакирующий слой

68.

69. Схема футерования труб волочением: 1-наружная труба,2-внутренняя труба, 3-обжатый конец, 4-фильера

Схема футерования труб волочением:
1-наружная труба,2-внутренняя труба, 3-обжатый конец, 4фильера

70.

71.

Схема получения многослойных днищ:
1-заготовка второго слоя, 2-ролик,3-матрица(плунжер),
4-пуансон, 5-внутронний слой,6-центрирующий ролик.
7-давильный ролик

72.

Подготовка двухслойной стали к
кислородной резке

73.

Последовательность односторонней сварки

74.

Последовательность сварки двухслойной
стали с V-образной разделкой:
1,2-сварка несущего слоя, 3-сварка плакирующего
слоя

75.

Сварка с применением вкладыша из титана

76.

Соединение фланца с корпусом обечайки
(плакирование поверхностей соединяемых
элементов)

77. Установка для безкопирной вырезки отверстий в корпусах аппаратов

78. Установка для газовой вырезки отверстий

79.

80.

81.

82.

83.

84.

85. Конструкции фланцев

86.

87.

88.

89.

90.

91.

92. Фланцевое соединение

93. Приварка фланца в стык

94. Свободный фланец (пластмасса)

95.

96.

97.

98.

99.

Литой фланец задвижки трубопровода

100. Виды уплотнительных паверхностей фланцев: а) плоская поверхность, б)-полузащищенный фланец, в)-защищищенный фланец (типа

Виды уплотнительных паверхностей фланцев:
а) плоская поверхность, б)-полузащищенный фланец, в)защищищенный фланец (типа шип-паз), г)-фланец с
металлической прокладкой

101.

Штамп для безоболочной штамповки фланцев:
1-верхняя часть, 2-нижжняя часть

102.

Схема гибки фланца на фланцегибочном
станке:
а)-круглый фланец, б)-фланец в виде эллипса

103.

Ролики с направляющими пазами:
1-полоса, 2-ролики

104.

Схема прокатки фланца на кольцепрокатном станке:
1и2-консольные валки, 3-заготовка, 4-пружина, 5-два упорных
ролика

105.

Профиль линзы после штамповки

106.

Ролик для гибки линзового компенсатора:
1-гибочное кольцо, 2-прижимное кольцо

107.

Изготовление линзовых компенсаторов на
карусельном станке:
1-давильный ролик, 2-внутренние ролики, 3-обечайка

108. Конструкция гибкого элемента двухслойного куомпенсатора

109.

110.

111.

112.

Пресс для отбортовки отверстий

113.

Способы соединения штуцеров и люков с
корпусами аппаратов:
а)-укрепляющее кольцо, б)-утолщенный патрубок,
в)-приварка к отбортовке, г)- приварка к торовой
вставке

114.

115.

116.

Типы конструкций кованно-сварных
аппаратов

117.

Штамно-сварной аппарат

118.

119.

Схема работы навивочной машины:
1-прижимной ролик, 2-навивочный ролик, 3профильная лента, 4- сердечник(внутренняя труба)

120.

121.

Схема изготовления рулонированных сосудов:
1-рулон стали, 2,3,6,7,8 - протяжные ролики,
прижимные и опорные ролики, ,4-ножи, 5внутренняя обечайка

122.

Узел рулонированного корпуса:
1-внутренняя обечайка, 2-клиновидная вставка, 3лента, 4-сварной шов , 5- сварной шов внутренней
обечайки

123.

Обварка торцов рулонированных обечаек под
сварку

124.

125.

Изготовление многослойных аппаратов наложением
двух изогнутых половин:
1-бандажи, 2-гидравлические цилиндры

126.

Гильзирование. Сборка многослойной
обечайки
English     Русский Rules