Расчет разветвленной магнитной цепи методом двух узлов
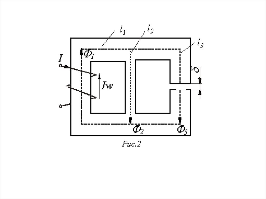
Рассчитать магнитную цепь методом двух узлов и определить магнитные потоки Ф1, Ф2, Ф3
Составить систему уравнений по закону Кирхгофа
1.18M
Category: physicsphysics

Расчет разветвленной магнитной цепи методом двух узлов

1. Расчет разветвленной магнитной цепи методом двух узлов

Лекция ТОЭ2

2.

• Между магнитными и электрическими величинами
существует аналогия:
• Магнитная проницаемость ферромагнитного
участка зависит от индукции, следовательно, его
магнитное сопротивление нелинейно. Поэтому
чаще расчеты ведут, пользуясь магнитными
характеристиками участков, аналогичными
вольтамперным характеристикам нелинейных
электрических элементов.
• Магнитной характеристикой называется
зависимость Ф(Uм) или Ф(Hl), которая легко
определяется по кривой намагничивания
материала участка и его геометрическим размерам.

3.

• Расчет разветвленных магнитных цепей может
выполнятся графическим или аналитическим методами
точно так же, как и нелинейных электрических цепей.
• Пример . Заданы геометрические размеры
разветвленной магнитной цепи и основная кривая
намагничивания В=f(Н) для материала магнитопровода.
• Графическое решение задачи выполняется в следующей
последовательности.
1. Магнитная цепь разбивается на однородные участки
и согласно этой разбивке составляется эквивалентная
схема.
• На основе заданных геометрических размеров (l, S) и
основной кривой намагничивания В=f(Н) выполняется
расчет ВАХ для каждого выделенного участка цепи по
форме . Результаты расчета ВАХ сводятся для удобства
пользования в общую таблицу.

4.

5.

Эквивалентная схема заданной магнитной цепи

6. Рассчитать магнитную цепь методом двух узлов и определить магнитные потоки Ф1, Ф2, Ф3

Н, А/м
В, Тл
Ф1 Вб
20
0,22
40
0,75
60
80
120
0,93 1,02 1,14
Ф2 Вб
Ф3 Вб
Uм1 А
Uм2 А
Uмв А
Uм3+Uмв
• Φ1=B·S1 ; Φ2=B·S2 ; Φ3=B·S3
• Um1=H·Ɩ1; Um2=H·Ɩ2; Um3=H·Ɩ3;
• UmВ=Hв·lв; Hв=В/μ0
200 400 600 800
1,28 1,47 1,53 1,57
1200
1,6

7. Составить систему уравнений по закону Кирхгофа

m : Ф1 Ф2 Ф3 0
I : I U m1 U m 2 H1l1 H 2l2
II : 0 U m 2 U m3 U B H 2l2 H 3l3 H B lB

8.

9.

10.

Ф, Вб
Ф=Ф1+Ф2+Ф3
Ф3
Ф2
Ф3
Ф1
Ф2
Um, A
0
Ф1
Рассчитать магнитное напряжение Um n.
Ф1 Ф2 Ф3 0
English     Русский Rules