3.93M
Category:
Construction
Similar presentations:
Монолитное и сборно-монолитное строительство
Сборно-монолитное балочное перекрытие
Сборный железобетонный каркас многоэтажных промышленных зданий
Плоские железобетонные перекрытия (сборно-монолитные перекрытия)
Основы развития малоэтажного градостроительства. (Лекция 6)
«Основы технологии оклейки помещений обоями» 6 класс
ОШ №6
Отделочные работы. (Тема 6)
Металлический каркас
Свайные фундаменты. Классификация. (Лекция 6)
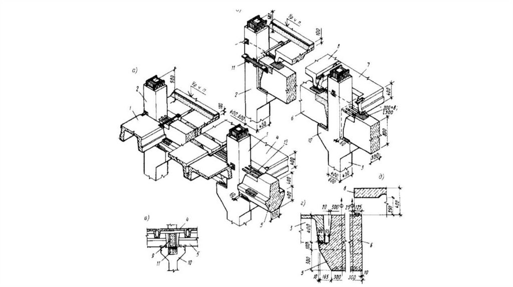
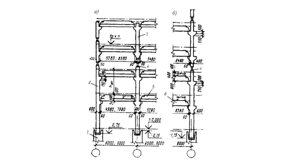
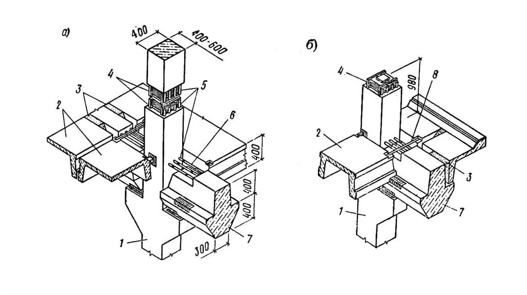
Сборно-монолитный каркас. Лекция № 6
1.
English
Русский
Rules