14.77M
Category: industryindustry

Топливная система

1.

• Топливная система служит для ‘питания двигателей и
газотурбинной установки топливом на всех режимах их работы .
Топливная систем а состоит из двух аналогичных по устройству
и расположению .систем , питающих соответственно левый и
правый двигатели. Левый двигатель питается топливом из
баков левой половины крыла, а правый двигатель — из баков
правой полвины крыла.
• Двигатель турбогенератора питается топливом из баков правого
полукрыла.

2.

• Топливные емкости каждой половины крыла образуют две
группы баков. Первая группа баков состоит из бака-отсека
(кессона), расположенного в средней части крыла; вторая
группа — ,из двух мягких центральных баков.
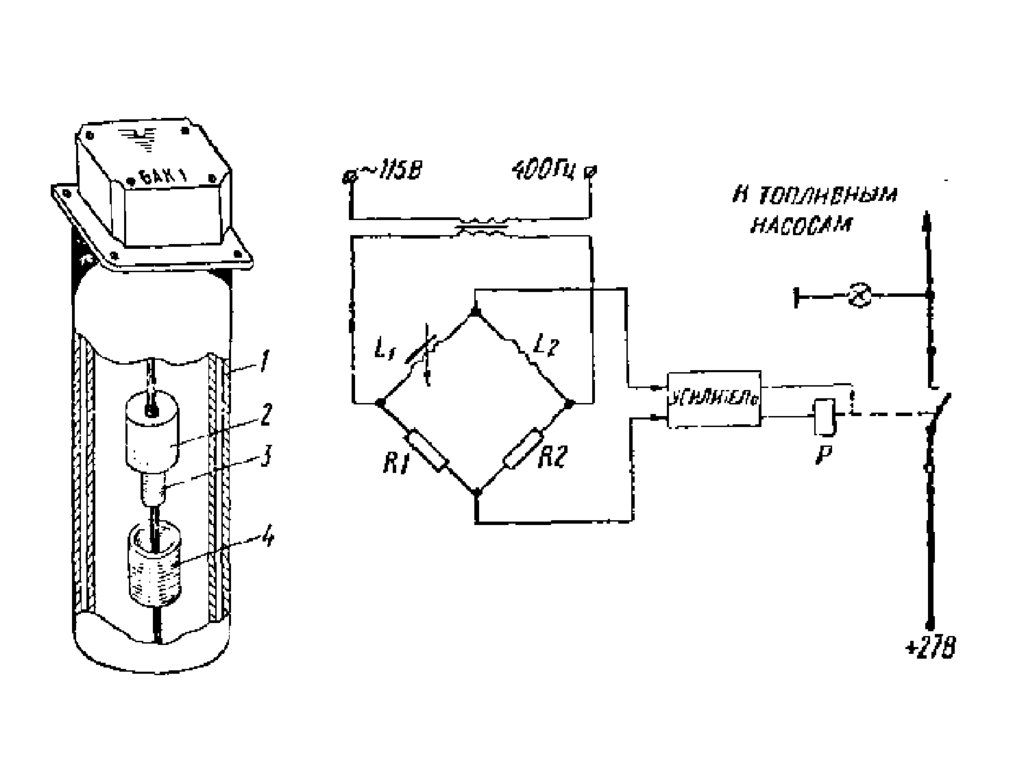
• Электрооборудование топливной системы обеспечивает:
• — выработку топлива из баков с автоматическим и ручным
управлением расхода;
• — измерение количества топлива как в баках каждой группы ,
так и суммарного его количества раздельно для обоих
полукрыльев;
• — .сигнализацию остатка топлива (580 кг);
• — управление централизованной заправко й баков топливом .

3.

4.

5.

6.

Топливомеры.
Расходомеры.
Измерители вибрации.

7.

Расходомер
Топлива
Мгновенного
и
Суммарного
остатка
РТМС-0,85Б1

8.

РТМС-0,85Б1
Расходомер топлива предназначена для
измерения часового (мгновенного) расхода топлива (в кг/ч) каждым
двигателем и запаса топлива во левой и правой половине крыла
топливной системы самолета.
В состав расходомера входят:
- датчик (2 шт.) (состоит из двух частей)
- мгновенного расхода
- суммарного остатка
(в трубопроводах топлива между НД-24А и фильтром 12ТФ-29 );
- преобразователь тиратронный ПТ-56А (2 шт.)
(под полом переднего багажного отсека)
- трансформатор расходомера ТРП-52 (1 шт.)
(на потолке переднего багажного отсека)
- указатели
(2 шт.) (средняя приборная доска)

9.

трансформатор ТРП-52
Комплект расходомера
РТМС-0,85Б1
(1 шт.)
блок
мгновенного расхода
(2 шт.)
датчик
блок
суммарного остатка
(2 шт.)
преобразователь ПТ-56А
(2 шт.)
указатель

10.

датчик расхода РТМС
В одном корпусе РТМС установлено два датчика:
Датчик мгновенного расхода работает по принципу указателя
тахометра. Он имеет крыльчатку соединенную с магнитным узлом.
На оси цилиндра магнитного узла закреплен сельсин-датчик.
При прохождении топлива по трубке
вращается крыльчатка, через
редуктор вращается магнитный узел.
Цилиндр узла закручивается на
определённый угол и передает своё
положение ротору сельсин-датчика.
Сигнал от датчика передается на
сельсин-приёмник в указателе,
ротор сельсин приёмника занимает
такое-же положение, что и ротор
сельсин-датчика,
при этом повернется стрелка
на соответствующий угол.

11.

1 – турбина; 2 – постоянный магнит; 3 – опора турбины; 4 – заглушка трубы;
5 – цилиндр магнитного узла; 6 – спиральные пружины; 7 – сельсин датчик.

12.

Датчик суммарного остатка работает по принципу храпового
счетчика. Он имеет крыльчатку соединенную с сердечником.
Этот сердечник является частью магнитной цепи катушки.
При заходе вращающегося сердечника в магнитную цепь катушки
её индуктивность резко изменяется.
В электрической цепи катушки стоит чувствительный элемент
выполняющий роль счетчика импульсов.
Каждый импульс поступает на электромагнит указателя.
Храповое устройство импульсами перемещает стрелку.

13.

электромагнит
храповое передающее
устройство устройство
барабанный
счётчик

14.

Система
Программного
Управления
и
измерения
Топлива
СПУТ4-1

15.

В комплект прибора СПУТ1-5АП входят:
- датчики топливомера (ДТ);
- датчики компенсационные (ДК2-3);
(в баках соответствующих групп)
- показывающий прибор 2ППТ1-4;
- лампа сигнализации остатка топлива на 1 ч полета (580 кг);
- галетный переключатель ПГ4-2;
(на средней панели приборной доски);
- блок управления БУ10А-4;
(в правом носовом отсеке у шпангоутов № 2—3);
- дистанционные переключатели ПД1-3;
- блок измерения БИ2-5А;
(на правом борту у шпангоутов № 5—6);
- блок конденсаторов БК1-1. (на правом борту у шпангоута № 7).

16.

I группа прав.
II группа прав.
II группа лев.
Щиток заправки
Щиток управления
I группа лев.

17.

Система управления и измерения количества топлива
предназначена для управления расходом топлива по определенной
программе и измерения количества топлива в топливной системе
самолета.
Состоит из двух частей:
- автоматики расхода
- измерительной части
Автоматическая часть состоит из
- схемы автомата заправки топливом
- схемы автомата расхода.
Автоматическое управление насосами топливной системы,
перекачки топлива и электромагнитными кранами по заданной
программе осуществляется с помощью индуктивных
сигнализаторов.

18.

19.

поплавок
сердечник
̴ 115 В
400 Гц
к топливным
насосам
катушка
L1
L2
БУС
Блок усиления
сигнала
R1
R2
БУП
Блок
управления
программой

20.

Измерительная часть
служит для измерения и указания общего запаса топлива,
а также для поочередного измерения и указания запаса
топлива в группах баков.
В основу принципа работы прибора положен
электроёмкостный метод, измерения запаса топлива.
Метод состоит в том, что измеряется электрическая
емкость конденсатора, помещенного в топливном баке и
представляющего собой набор коаксиально расположенных
металлических труб.
Диэлектрик, находящийся между трубами датчика, меняется
по мере заполнения бака топливом.
В заполненной части бака между трубами датчика
находится топливо, а в незаполненной—воздух. Поэтому по
величине, электрической емкости датчика можно судить о
запасе топлива, находящегося в баке.

21.

РТМС-0,85Б1
СПУТ1-5АП
ПГ4-2

22.

Аппаратура контроля вибрации ИВ-41А
предназначена для контроля виброперегрузок
авиадвигателей АИ-24 в течение всего периода их
эксплуатации на самолете.
В комплект ИВ-41А входят:
- блок фильтров (шп. № 7 и 8 по правому борту);
- два датчика вибрации МВ-25Г
(по одному на левом и правом двигателях);
- два указателя вибрации;
- две сигнальные лампы перегрузок;
- кнопка контроля работоспособности;
(на фонаре кабины экипажа)

23.

24.

Принцип работы вибропреобразовательной аппаратуры ИВ-41А
заключается в резонансном усилении сигналов датчиков
вибрации МВ-25Г, поступающих в два независимых друг от
друга канала блока фильтров.
Усиленный сигнал поступает на указатель вибрации.
Шкала
размах от 0 до 6 g (в единицах ускорения)
Цена деления 0,5 g.
При превышении предельно допустимой величины загорается
сигнальная лампа «Опасная вибрация».
Стрелка указателя показывает уровень вибрации.
Блок
фильтров

25.

измеритель вибрации ИВ-41А
сигнализация

26.

Датчик вибрации
English     Русский Rules