МАГНИТНЫЕ ЦЕПИ Основные величины, характеризующие магнитное поле
Законы Кирхгофа для магнитных цепей
6.84M
Category: physicsphysics

Магнитные цепи. Основные величины, характеризующие магнитное поле

1. МАГНИТНЫЕ ЦЕПИ Основные величины, характеризующие магнитное поле

Лекция по ТОЭ2

2.

3.

4.

• Магнитное поле – это материя, которая
окружает движущиеся заряженные
частицы, неразрывно с ними связана и
определяется по силовому воздействию на
движущиеся заряженные тела.

5.

• Сила Ампера – это сила, которая действует
на проводник с током, помещенный в
магнитное поле.
• Модуль силы Ампера определяется по
формуле:
FA = IBƖsinα
где I – сила тока в проводнике,
B – вектор магнитной индукции,
Ɩ – длина проводника,
α - угол между направлением тока и
вектором магнитной индукции.

6.

• Направление силы Ампера можно определить
по правилу левой руки: если четыре вытянутых
пальца левой руки расположить по току
проводника так, чтобы перпендикулярная
составляющая вектора магнитной индукции
входила в ладонь, то отогнутый на
900 большой палец укажет направление силы
Ампера.

7.

• Сила Лоренца – это сила, действующая со
стороны магнитного поля на любую
заряженную частицу.
• Модуль силы Лоренца определяется по
формуле:
FЛ = qVBsinα
где q – заряд частицы,
V – скорость движения частицы,
B – вектор магнитной индукции,
a - угол между скоростью частицы и
вектором магнитной индукции.

8.

• Направление силы Лоренца определяется по
правилу левой руки: если левую руку расположить
по скорости движения положительно заряженной
частицы, против движения отрицательной, так,
чтобы перпендикулярная составляющая вектора
магнитной индукции входила в ладонь, то
отогнутый на 900 большой палец укажет
направление силы Лоренца.

9.

• По интенсивности и направленности
магнитное поле характеризуется вектором
магнитной индукции – В [1Тл].
• Модуль вектора В равен отношению
максимального значения модуля силы
Ампера к силе тока и длине проводника:
B = FAmax/IƖ

10.

• Направление вектора магнитной индукции
определяется по правилу буравчика: если
буравчик с правой нарезкой расположить так,
чтобы поступательное движение острия
буравчика совпадало с направлением тока в
проводнике, то вращательное движение
рукоятки буравчика укажет направление
вектора магнитной индукции.

11.

• Интегральной характеристикой магнитного поля
служит магнитный поток – Ф[1 Вб]. Он представляет
собой поток вектора магнитной индукции сквозь
данную замкнутую поверхность:
Ф = ВS
Ф = ВScosα
• Характеристикой магнитного поля, не учитывающей
влияния среды, является напряженность магнитного
поля – Н [A/м].
B = μаН
• Свойство тока возбуждать магнитное поле
называется магнитодвижущей силой –F [1A]:
F = I – если мы рассматриваем проводник с током;
F = NI – если мы рассматриваем катушку с током,
где N – число витков катушки.
• Магнитное напряжение – Uм [1A]: UM = HƖ

12.

• Закон полного тока
• Полным током называется алгебраическая
сумма токов, пронизывающих поверхность,
ограниченную замкнутым контуром.
• По закону полного тока МДС (F) вдоль
контура равна полному току, который
проходит сквозь поверхность ограниченную
этим контуром, т. е.
или

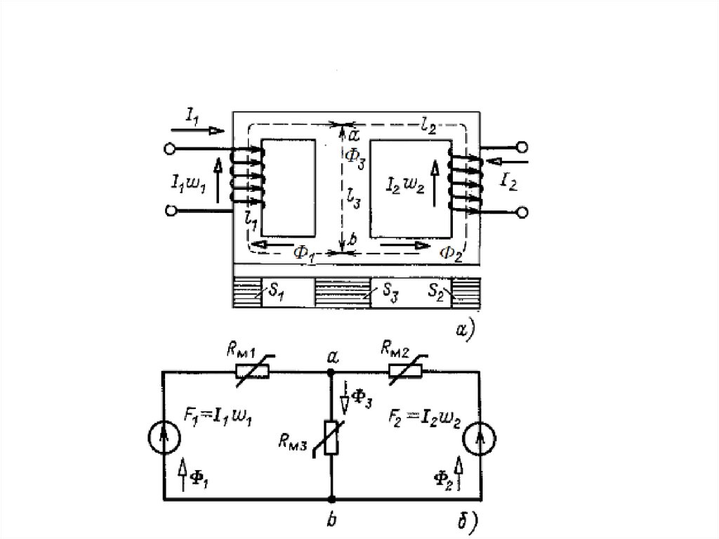
13. Законы Кирхгофа для магнитных цепей

• 1. Алгебраическая сумма магнитных
потоков в точке разветвления равна
нулю: ΣФ =0
• 2. Алгебраическая сумма намагничивающих
сил равна алгебраической сумме
магнитных напряжений на отдельных
участках магнитной цепи: ΣF = ΣIN = ΣUм

14.

• Магнитной цепью называется устройство,
отдельные участки которого выполнены из
ферромагнитных материалов, по которым
замыкается магнитный поток.
• Если магнитная цепь выполнена из одного
и того же материала и имеет по всей длине
одинаковое сечение, то такая цепь
называется однородной, в противном
случае – неоднородной.

15.

• Магнитные цепи подразделяются на разветвленные и
неразветвленные. Разветвленные цепи, в свою
очередь, делятся на симметричные и несимметричные.
• Магнитные поля подразделяются на:
• 1. основные, характеризующиеся основными
магнитными потоками. Линии магнитной индукции
основного магнитного поля замыкаются по
магнитопроводу;
• 2. поля рассеяния, характеризующиеся магнитными
потоками рассеяния (ФS). Линии магнитной индукции
полей рассеяния замыкаются в основном вокруг витков
соответствующих катушек, проходят большей частью по
воздуху и не пересекают витков других катушек.
• UM = H×l = Bl/μrμ0 = Фl/S μrμ0, где μ0 = 4π×10-7 Гн/м
• l/S μrμ0 = RМ – магнитное сопротивление [R] = [1/Гн]
• UM = ФRМ – закон Ома для магнитной цепи.
English     Русский Rules