2.36M
Category: softwaresoftware

Состав и этапы проектирования по ЦСК

1.

СОСТАВ И ЭТАПЫ ПРОЕКТИРОВАНИЯ ПО ЦСК

2.

3.

ЭУС ИМЕЮТ СЛЕДУЮЩИЕ ОСОБЕННОСТИ:
УПРАВЛЕНИЕ ПРОЦЕССАМИ В РЕАЛЬНОМ МАСШТАБЕ ВРЕМЕНИ –
режим, при котором на время выполнения операций накладывается
ограничение (управление процессами осуществляется со скоростью,
соответствующей скорости управляемого процесса);
• РАБОТА В РЕЖИМЕ РАЗДЕЛЕНИЯ ВРЕМЕНИ – режим, при котором
ресурсы процессоров ЭУС предоставляются со сдвигом во времени
для решения задач управления различными объектами пи
процессами;
• УПРАВЛЕНИЕ ПАРАЛЛЕЛЬНЫМИ ЗАДАЧАМИ;
• ОРГАНИЗАЦИЯ МНОГОПРОГРАММНОГО РЕЖИМА РАБОТЫ на основе
принципов приоритетности программ и запуска программ по
заявкам;
• УПРАВЛЕНИЕ НА ОСНОВЕ МЕТОДА «ПРЕРЫВАНИЙ» – метод
сигнализации, используемый для переключения от одной задачи к
другой при наступлении некоторого события;
• КРУГЛОСУТОЧНОЕ
ФУНКЦИОНИРОВАНИЕ
В
ТЕЧЕНИЕ
ДЛИТЕЛЬНОГО ВРЕМЕНИ, что обуславливает повышенные требования
к надежности.

4.

5.

ДОСТОИНСТВА ЦЕНТРАЛИЗОВАННЫХ СИСТЕМ УПРАВЛЕНИЯ:
• простота построения;
• экономичность для небольших станций.
НЕДОСТАТКИ ЦЕНТРАЛИЗОВАННЫХ СИСТЕМ УПРАВЛЕНИЯ:
• высокие требования по производительности ЭУМ для станций большой емкости;
• сложность наращивания емкости.
В ЦСК централизованные системы не получили распространения, но используются в
квазиэлектронных коммутационных системах АТСКЭ и УПАТС.

6.

Объекты управления
(оборуд ование КС)
Пр m
Пр 0
Иерархический уровень 1
Системный
интерфейс
Пр n
Пр0
Иерархический уровень 0
ЦУУ
ДОСТОИНСТВА ИЕРАРХИЧЕСКИХ СИСТЕМ УПРАВЛЕНИЯ:
• более высокая надежность по сравнению с централизованными ЭУС;
• модульность и гибкость структуры;
• простота программного обеспечения для каждого УУ;
• большая производительность УУ.
НЕДОСТАТКИ ИЕРАРХИЧЕСКИХ СИСТЕМ УПРАВЛЕНИЯ:
• необходимость организации межпроцессорного обмена;
• наличие ЦУУ снижает надежность и усложняет процесс наращивания емкости.
иерархические ЭУС используются в ЦСК: МТ-20/25, EWSD, AXE-10, 5ESS,
NEAX.

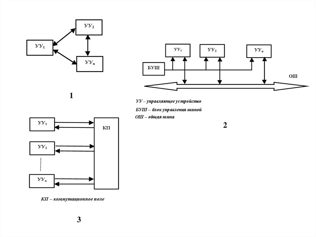
7.

М1
УУ
М2
УУ
Мn
УУ
ЦКП
ПОЛНОСТЬЮ РАСПРЕДЕЛЕННАЯ ЭУС, в которой в каждом
функциональном
блоке
(модуле)
находится
УУ,
а
взаимодействие между модулями осуществляется через
цифровое коммутационное поле ЦКП.
ЧАСТИЧНО
РАСПРЕДЕЛЕННАЯ
ЭУС,
в
которой
управляющие функции
в
каждом блоке (модуле)
выполняются местными УУ, а управление отдельными
функциями
(например,
техническая
эксплуатация,
сопряжение с внешними устройствами ввода-вывода данных)
осуществляется централизовано.
ДОСТОИНСТВА ДЕЦЕНТРАЛИЗОВАННЫХ СИСТЕМ УПРАВЛЕНИЯ:
• простота реализации;
• простота программного обеспечения для одного отдельно взятого блока;
• более высокая надежность из-за отсутствия ЦУУ;
• возможность наращивания емкости.
НЕДОСТАТКИ ДЕЦЕНТРАЛИЗОВАННЫХ СИСТЕМ УПРАВЛЕНИЯ:
сложная организация межпроцессорных связей;
• задержки при межпроцессорных связях.
Распределенные СУ используются в ЦСК: DX-200, S-12, Si-2000.

8.

УУ 2
УУ 1
УУ1
УУ n
УУ 2
УУ n
БУШ
ОШ
1
УУ – управляющее устройство
БУШ – блок управления шиной
ОШ – общая шина
УУ1
КП
УУ2
УУn
КП – коммутационное поле
3
2

9.

АЛГОРИТМ ФУНКЦИОНИРОВАНИЯ ЭУС ‒ точное предписание о
порядке выполнения действий по реализации той или иной функции.
Алгоритмы функционирования ЭУС могут быть описаны разными
способами с различной степенью детализации: на естественном языке с
необходимыми дополнениями графической и цифровой информацией,
либо на некотором формализованном языке.
Совокупность описаний алгоритмов функционирования ЭУС образует
АЛГОРИТМИЧЕСКОЕ ОБЕСПЕЧЕНИЕ (АО).
АО ЭУС может быть полностью или частично реализовано
аппаратными (схемными) или программными средствами.
ПРОГРАММА ‒ алгоритм, представленный в форме, воспринимаемой
реализующей его ЭУС.
ПРОГРАММНОЕ ОБЕСПЕЧЕНИЕ (ПО) – это организованная
совокупность взаимосвязанных и взаимодействующих программ и
соответствующих им данных, предназначенная для целенаправленной
работы ЭУС.

10.

11.

ИНСТРУМЕНТАЛЬНОЕ ПО (ИПО) используется программистами как
инструмент для написания и отладки программ. В составе ПО ЦСК
инструментальное ПО предназначено для автоматизации проектирования
программ на различных уровнях – от уровня алгоритмов до уровня машинных
команд.
СИСТЕМНОЕ ПО (СПО) включает в себя инструментальную и
исполнительную операционную систему (ОС). Различия инструментальной и
исполнительной ОС обусловлены степенью участия человека в управлении
работой ЭУС (степенью интерактивности). В инструментальной ОС
управление осуществляется, главным образом, посредством команд (директив)
оператора. В исполнительной ОС вмешательство оператора минимально и
является вспомогательным, например, при возникновении аварийных ситуаций
и проведении профилактических работ. Для интерактивного общения
используется язык диалога «человек-машина»(MML – Man Machine Language).
ПРИКЛАДНОЕ ПО (ППО) делится на основное и вспомогательное. Основное
ППО содержит программы и данные, предназначенные для обеспечения
технологического процесса установления соединений (коммутационные
программы), удовлетворения запросов абонентов и администрации сети связи
(административные программы), поддержания работоспособности аппаратнопрограммных средств ЦСК (программы технического обслуживания).
Вспомогательное прикладное ПО (ВСПО) используется на этапе разработки
основного прикладного ПО и подготовки ЦСК к эксплуатации.

12.

ПРИНЦИП
СУЩНОСТЬ
МОДУЛЬНОСТЬ
ПО разбивается на небольшие по размерам (по количеству
занмаемых ячеек памяти) физически и логически «независимые
куски», называемые модулями.
ИЕРАРХИЧНОСТЬ
ПРИОРИТЕТНОСТЬ
Взаимоотношения
между
программными
модулями
устанавливается иерархичными и приоритетными уровнями этих
модулей. Иерархические уровни устанавливают такие отношения
подчиненности по управлению, при которых программный модуль,
находящийся на иерархическом i-ом уровне может вызываться
только одним программным модулем уровня (i-1) и вызывать
любой связаный с ним модуль уровня (i+1).
Приоритетные уровни уcтанавливают такие отношения
очередности вызова программных модулей по времени, что при
наличии в некоторый момент времени запросов на выполнение
программ уровней (i-1) и i, в первую очередь будут вызваны модули
приоритетного урорвня (i-1). Очередностью вызова прорграммных
модулей приоритетных уровней управляет главный диспетчер или
супервизор. Он находится на нулевом иерархическом уровне и не
относится ни к одному из проритетных уровней. Очередностью
вызова
программных
модулей,
относящихся
к
одному
приоритетному уровню, управляет диспетчер приоритетного
уровня I, или монитор уровня.

13.

Модули 1-го
иерархического
уровня
Диспетчер n-1
приоритетного
уровня
Модули 2-го
иерархического
уровня
Модули 0-го
иерархического
уровня
Главный диспетчер
прерываний
Модули 3-го
иерархического
уровня
Программа y
Программа k+2
Диспетчер 1-го
приоритетного
уровня
Программа s
Программа k+1
Программа j
Программа i+2
Программа i+1
Программа i
Программа 1
Диспетчер 0-го
приоритетного
уровня
Программа m
Программа 0
Программа 0
Сигналы прерываний от БПП

14.

Спецификация
и планирование
Системное
проектирование
SDL
Детальное
проектирование
CHILL
Программирование
Компоновка
MML
Верификация
Генерация
SDL,
CHILL
Документирование

15.

СПЕЦИФИКАЦИЯ И ПЛАНИРОВАНИЕ – разработка укрупненной
структурной схемы ПО, определение перечня (спецификации) основных
параметров и состава всех процессов;
СИСТЕМНОЕ ПРОЕКТИРОВАНИЕ – выделение
стандартных
процессов, определение информационных связей между ними;
ДЕТАЛЬНОЕ ПРОЕКТИРОВАНИЕ – разработка
алгоритмов,
отражающих действительное поведение системы;
ПРОГРАММИРОВАНИЕ – запись разработанных алгоритмов на одном
из языков программирования высокого уровня;
КОМПОНОВКА – связывание отдельных модулей программы в
единую систему ПО;
ВЕРИФИКАЦИЯ – выявление и устранение ошибок, практически
работы по выявлению и устранению ошибок выполняются на каждом
этапе разработки ПО;
ГЕНЕРАЦИЯ – запись готовых программ на машинные носители
информации, на этом этапе в ПО заносятся данные конкретной
коммутационной станции;
ДОКУМЕНТИРОВАНИЕ – составление документации (описание
структуры ПО, алгоритмы, листинг программы, структуры данных,
инструкция пользователя и др.), фактически документирование
выполняется в процессе всех этапов разработки ПО.
English     Русский Rules