3.7. Обозначения графических материалов и правила их нанесения на чертежах (ГОСТ 2.306-68)
Простые разрезы
Горизонтальные и вертикальные разрезы.
3.70M
Category: draftingdrafting

_Изображения - виды, разрезы, сечения (ЕСКД ГОСТ 2.305-68)

1.

Изображения - виды, разрезы, сечения
(ЕСКД ГОСТ 2.305-68)
1

2.

ИЗОБРАЖЕНИЕ - вид предмета, полученный его прямоугольным
проецированием на плоскость проекций, когда предмет находится между
наблюдателем и этой плоскостью.
Изображения на чертеже в зависимости от их содержания разделяются на:
- виды,
- разрезы,
- сечения.
Количество изображений (видов, разрезов, сечений) должно быть
наименьшим, но обеспечивающим полное представление о предмете при
применении условных обозначений, знаков и надписей, установленных в
соответствующих стандартах.
2

3.

Термины и определения
ГОСТ 2.305-2008 ЕСКД. ИЗОБРАЖЕНИЯ — ВИДЫ, РАЗРЕЗЫ, СЕЧЕНИЯ
3.2 вид предмета (вид): Ортогональная проекция обращенной к
наблюдателю видимой части поверхности предмета, расположенного между
ним и плоскостью проецирования.
3.3 вынесенное сечение: Сечение, расположенное на чертеже вне контура
изображения предмета или в разрыве между частями одного изображения.
3.4 выносной элемент: Дополнительное, обычно увеличенное, отдельное
изображение части предмета.
3.5 главный вид предмета (главный вид): Основной вид предмета на
фронтальной плоскости проекции, который дает наиболее полное
представление о форме и размерах предмета, относительно которого
располагают остальные основные виды.
3

4.

Термины и определения
ГОСТ 2.305-2008 ЕСКД. ИЗОБРАЖЕНИЯ — ВИДЫ, РАЗРЕЗЫ, СЕЧЕНИЯ
3.5 главный вид предмета (главный вид): Основной вид предмета на
фронтальной плоскости проекции, который дает наиболее полное
представление о форме и размерах предмета, относительно которого
располагают остальные основные виды.
3.18 простой разрез: Разрез, выполненный одной секущей плоскостью
3.19 профильный разрез: Вертикальный разрез, выполненный секущими
плоскостями, параллельными профильной плоскости проекций.
4

5.

Термины и определения
ГОСТ 2.305-2008 ЕСКД. ИЗОБРАЖЕНИЯ — ВИДЫ, РАЗРЕЗЫ, СЕЧЕНИЯ
3.20 разрез предмета (разрез): Ортогональная проекция предмета,
мысленно рассеченного полностью или частично одной или несколькими
плоскостями для выявления его невидимых поверхностей.
3.21 сечение предмета (сечение): Ортогональная проекция фигуры,
получающейся водной или нескольких секущих плоскостях или поверхностях
при мысленном рассечении проецируемого предмета
5

6.

I. Виды
6

7.

I. Виды
Устанавливаются следующие названия видов, получаемых на основных
плоскостях проекций (гpанях куба ) :
- вид спереди (главный вид);
- вид сверху;
- вид слева;
- вид справа;
- вид снизу;
- вид сзади.
7

8.

Если
виды сверху,
слева,
справа,
снизу, сзади
не
находятся
в отмечены
непосредственной
проекционной
связи
с главным
изображением,
тото
они
должны
быть
нана
чертеже
проекционной
связи
главным
изображением,
то
они
должны
быть
отмечены
на
чертеже
проекционной
связи
ссглавным
изображением,
они
должны
быть
отмечены
чертеже
проекционной
с главным
изображением,
то они
должны
бытьбыть
отмечены
на чертеже
надписью
посвязи
типу
"А"
(рис.3.4).
Направление
взгляда
должно
указано
стрелкой
надписью
по
типу
"А"
(рис.3.4).
Направление
взгляда
должно
быть
указано
стрелкой
надписью
по
типу
"А"
(рис.3.4).
Направление
взгляда
должно
быть
указано
стрелкой
Если виды
сверху,
слева,
справа,
снизу,
сзади
не (рис.3.4).
находятся
надписью
пообозначенной
типу
"А" слева,
(рис.3.4).
Направление
взгляда
должно
быть
указано в
стрелкой
(рис.3.3),
прописной
буквой
русского
алфавита
(рис.3.3),
обозначенной
прописной
буквой
русского
алфавита
(рис.3.4).
(рис.3.3),
обозначенной
прописной
буквой
русского
алфавита
(рис.3.4).
Если
виды
сверху,
справа,
снизу,
сзади
не
находятся
в непосредственной
(рис.3.3), обозначенной
прописной
буквой русского
алфавита
(рис.3.4).
непосредственной
проекционной
связи
с главным
изображением,
то они
проекционной
связи с главным
изображением,
то они
должны
быть отмечены на чертеже
надписью
по типу "А"
Направление
взгляда
должно"А".
бытьНаправление
указано стрелкой
должны быть
отмечены
на(рис.3.4).
чертеже
надписью
по типу
(рис.3.3), обозначенной
прописной
буквой русского
алфавита (рис.3.4).
взгляда должно
быть указано
стрелкой,
обозначенной
прописной буквой
русского алфавита.
Рис.3.3
Рис.3.3
Рис.3.3
Рис.3.3
а)а)а)
а)
а)
б)б)
б)
Рис.3.3
б)
б)
Рис.3.4
Рис.3.4
Рис.3.4
Кроме
основных
применяют
дополнительные
виды,
получаемые
нана
плоскостях,
Кроме
основных
применяют
дополнительные
виды,
получаемые
на
плоскостях,
Кроме
основных
применяют
дополнительные
виды,
получаемые
плоскостях,
Рис.3.4
8 на
нене
параллельных
основным
плоскостям
проекций,
например,
дополнительный
вид
АА
на
не
параллельных
основным
плоскостям
проекций,
например,
дополнительный
вид
А
параллельных
основным
плоскостям
проекций,
например,
дополнительный
вид
на
Кроме
основных
применяют
дополнительные
виды,
получаемые
на
плоскостях,
рис.3.5.
рис.3.5.
рис.3.5.

9.

Дополнительные виды получают на
плоскостях, не параллельных основным
плоскостям проекций, например,
дополнительный вид А.
Ø
Для удобства чтения чертежа
дополнительный вид
допускается поворачивать, при
этом к надписи
должен быть добавлен знак,
заменяющий слово «повернуто».
9

10.

Местный вид-изображение отдельного ограниченного
места поверхности предмета.
Местный вид может быть ограничен линией обрыва
(сплошной волнистой) или линией контура (сплошная
основная).
10

11.

II. Разрезы
Разрез - изображение предмета, мысленно
рассеченного одной или несколькими
плоскостями.
На разрезе показывается то, что получается в
секущей плоскости и что расположено за ней.
Фигура сечения, входящая в разрез, выделяется
штриховкой, условно характеризующей материал.
Правила выполнения штриховки регламентирует
ГОСТ 2.306-68.
11

12. 3.7. Обозначения графических материалов и правила их нанесения на чертежах (ГОСТ 2.306-68)

Обозначения материалов. ГОСТ 2.306-68.
3.7. Обозначения графических
материалов и правила их
нанесения на чертежах (ГОСТ
2.306-68)
12

13.

Расстояние между линиями штриховки зависит от
площади штриховки и должно быть от 1 до 10 мм.
Наклонные параллельные линии штриховки должны
Рис.3.27
проводиться под углом 45° к линии контура
изображения или к его оси, или к линиям рамки
чертежа.
Если линии штриховки
совпадают по направлению
с линиями контура или
осевыми линиями, то вместо
угла 45° следует брать угол
30° или 60°.
30°
Рис.3.28
13

14.

сечения узкой полоской равномерной ширины (рис.3
Для смежных сечений двух деталей следует брать
Рис.3.27
наклон линий штриховки
для одного сечения вправо,
для другого - влево или изменять расстояние между
линиями штриховки.
14

15.

КЛАССИФИКАЦИЯ РАЗРЕЗОВ.
В зависимости от числа секущих плоскостей
разрезы разделяются на:
• простые (одна секущая плоскость);
• сложные (несколько секущих плоскостей).
15

16.

Разрезы
Простые
Сложные
16

17. Простые разрезы

Простые разрезы разделяются на:
-горизонтальные;
- вертикальные: фронтальные, профильные;
- наклонные;
- местные.
17

18. Горизонтальные и вертикальные разрезы.

Такие разрезы получают при рассечении предмета
плоскостью, параллельной какой-нибудь плоскости
проекций и располагают, как правило, на месте
соответствующего основного вида:
фронтальный – на месте вида спереди;
профильный – на месте вида слева;
горизонтальный – на месте вида сверху.
Эти разрезы не обозначают, если деталь
симметрична относительно секущей плоскости и
изображение находится на месте основного вида.
В остальных случаях разрезы обозначаются.
18

19.

В случае обозначения разрезов:
для линий сечения применяют разомкнутую линию
с указанием стрелками направления взгляда.
У начала и конца линии сечения ставят одну и ту же
прописную букву русского алфавита.
А
А
Такие же буквы ставят над изображением по типу А-А.19

20.

Горизонтальный разрез
Секущая плоскость - горизонтальная плоскость уровня.
20

21.

Рис.3.13
Рис.3.13
Фронтальный разрез
Рис.3.13
Рис.3.14
20
Секущая плоскость - фронтальная
Рис.3.14 плоскость уровня.
21
20
Рис.3.14

22.

Профильный разрез
Секущая плоскость - профильная плоскость уровня
(проходящая через ось симметрии детали).
22

23.

Соединение части вида с частью разреза.
Форма многих деталей не может быть выявлена только разрезом или видом.
Чтобы иметь полное представление о форме детали, целесообразно соединить
часть вида и часть разреза.
В левой части рисунка
даны главный вид и вид
сверху. По этим
изображениям можно
судить в основном о
внешней форме детали.
Правая часть рисунка
содержит разрез и вид
сверху. По этим
изображениям легче
судить о внутреннем
устройстве детали.
23

24.

Если с осью симметрии совпадает линия контура, то соединяют часть вида и
часть разреза, разделяя их сплошной тонкой волнистой линией так, чтобы
контурная линия, о которой идет речь, не исчезла с чертежа.
24

25.

Построить необходимый
разрез
25

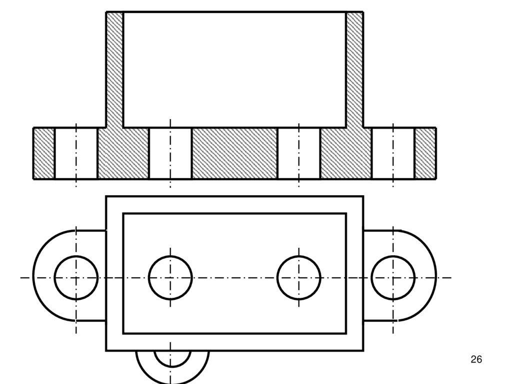
26.

26

27.

Соединение
части вида
с частью разреза
Применяется, когда
основные элементы
детали симметричны, но
присутствует элемент,
нарушающий общую
симметрию.
В данном случае разрез
не обозначают.
27

28.

Наклонный разрез
При получении наклонных разрезов секущая плоскость
составляет с горизонтальной
плоскостью угол, отличный от
Рис.3.16
прямого угла. Наклонные разрезы обозначают всегда.
28

29.

Местный разрез
Служит для выяснения устройства предмета лишь в
отдельном, ограниченном месте.
Если местный разрез выполнен на виде,
то его не обозначают.
29

30.

Условность при выполнении разрезов:
такие элементы, как спицы маховиков, шкивов, зубчатых
колес; тонкие стенки типа ребер жесткости и т.п., показывают
незаштрихованными, если секущая плоскость направлена
вдоль оси или длинной стороны такого элемента.
Рис.3.26
30

31.

Рациональнее для данной детали дать на фронтальной
плоскости проекций изображение половины вида с
половиной разреза, т.к. и вид, и разрез являются
фигурами симметричными.
31

32.

На профильной плоскости проекций также рациональнее
выполнить соединение половины вида с половиной
разреза.
32

33.

Дополним чертеж простановкой размеров и оформлением
основной надписи.
33

34.

Сложные разрезы:
- Ступенчатые
- Ломаные
34

35.

Ступенчатый
разрез
Сложные разрезы бывают
ступенчатыми, если секущие плоскости параллельны
Сложные
разрезы бывают
ступенчатыми,
еслипересекаются
секущие плоскости
параллельны
(рис.3.17),
и ломаными,
если секущие
плоскости
(рис.3.18).
(секущие
плоскости
(рис.3.17),
и ломаными,
если секущие параллельны)
плоскости пересекаются (рис.3.18).
Рис.3.17
При сложном разрезе штрихи также проводят у мест пересечения
При ломаных разрезах секущие плоскости условно повертывают до совмещения в
секущих
плоскостей
между собой.
Рис.3.17
одну плоскость
(рис.3.18).
При ломаных разрезах секущие плоскости условно повертывают до совмещения в
35

36.

Рис.3.17
Рис.3.17
Ломаный разрез
При ломаных
ломаных
разрезах секущие
секущие
плоскости условно
условно повертывают
повертывают до
до совмещения
совмещения вв
(секущие
плоскости
пересекаются)
При
разрезах
плоскости
одну плоскость
плоскость (рис.3.18).
(рис.3.18).
одну
Рис.3.18
Рис.3.18
ПриПоложение
ломаныхсекущей
разрезах
секущие
плоскости
условно
поворачивают
до
плоскости
на чертеже
чертеже
указывают
линией сечения
сечения со
со стрелками
стрелками
Положение секущей
плоскости
на
указывают
линией
совмещения
в одну разрезе
плоскость
(рис.3.10).
При сложном
сложном
разрезе
штрихи проводят
проводят также
также уу мест
мест пересечения
пересечения секущих
секущих
(рис.3.10).
При
штрихи
плоскостей между
между собой.
собой. Обозначение
Обозначение линии
линии сечения
сечения и
и самого
самого разреза
разреза аналогично
аналогично
плоскостей
36
принятому
для
сечений.
принятому для сечений.
Когда секущая плоскость совпадает с плоскостью симметрии предмета в целом, а

37.

III. Сечения
Сечение - изображение фигуры,
получающейся при мысленном рассечении
предмета одной или несколькими
плоскостями.
Сечения обычно применяют для выявления
поперечной формы предмета.
37

38.

На сечении показывается только то, что находится
непосредственно в секущей плоскости.
38

39.

Сечения разделяются на:
•наложенные
•вынесенные.
39

40.

Наложенное сечение
Контур наложенного сечения изображают сплошными тонкими линиями
40

41.

Вынесенные сечения.
Контур сечения изображают сплошными толстыми линиями.
Линию сечения не проводят, если сечение симметрично и
располо-жено в разрыве или на продолжении следа секущей
плоскости.
Сечение в разрыве.
Сечение, расположенное на
продолжении следа секущей
плоскости.
41

42.

В остальных случаях сечение обозначают.
42

43.

Условности при выполнении сечений:
1. Если секущая плоскость проходит через ось поверхности
вращения, ограничивающей отверстие или углубление, то контур
отверстия или углубления в сечении показывают полностью.
2. Если сечение распадается на
отдельные части, то его заменяют
разрезом.
43

44.

Пример построения сечений вала
Наносим обозначение сечения с односторонним
44
пазом.
English     Русский Rules