Размещение оборудования в машинном зале
Исходные данные:
Выбор арматуры и фасонных частей
Приемные воронки стальные сварные
Машинный зал КНС (г. Новосибирск)
8.94M

Размещение оборудования в машинном зале

1. Размещение оборудования в машинном зале

2. КНС

2. Исходные данные:

• Подача КНС 300 л/с, напор 22 м.
• Подобраны 2 рабочих и 1 резервный насос
марки СМ 250-200-400/6.
• Отметка земли в месте расположения НС
50,8м;
• Отметка лотка 45,6 м;
• Размеры насоса: Н =1150мм, h=570мм.
• Построить план и разрезы машинного
зала.

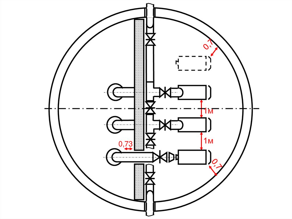
3.

Схема расположения
насосов, трубопроводов,
арматуры и фасонных
частей

4.

Определение диаметров
внутристанционных трубопроводов
Наименование
трубопровода
Q,
л/с
D,
мм
V,
м/с
i
1
2
3
4
5
1. Всас.тр-д насоса
2. Напорный тр-д насоса
3. Наружные нап. трубопр-ды
4. Напорный коллектор

5.

Q= 300 л/с
150 л/с
3
150 л/с
4
3
150 л/с
1
2

6.

Определение диаметров
внутристанционных трубопроводов
Наименование
трубопровода
Q,
л/с
D,
мм
V,
м/с
i
1
2
3
4
5
1. Всас.тр-д насоса
150
2. Напорный тр-д насоса
150
3. Наружные нап. трубопр-ды
150
4. Напорный коллектор
-

7.

8.

Канализация населенных мест и
промышленных предприятий
(Справочник проектировщика), табл.8.2.
Диаметр труб, Скорости движения воды
мм
в трубопроводах КНС, м/с
всасывающие
напорные
До 250
0,7 – 1,0
1,0 – 1,5
Св. 250 до 800
1,0 – 1,5
1,2 – 2,0
Св. 800
1,2 – 1,5
1,8 – 2,5

9.

Определение диаметров
внутристанционных трубопроводов
Наименование
трубопровода
Q,
л/с
D,
мм
V,
м/с
i
1
2
3
4
5
1. Всас.тр-д насоса
150
400
1,19 0,0048
2. Напорный тр-д насоса
150
400
1,19 0,0048
3. Наружные нап. трубопр-ды
150
400
1,19 0,0048
-
400
4. Напорный коллектор
-
-

10.

11. Выбор арматуры и фасонных частей

12.

Задвижка шиберная c двухсторонним
уплотнением и электроприводом тип 2905

13.

Задвижка шиберная c двухсторонним
уплотнением и электроприводом тип 2905 PN10
1286
m=146кг
400
86

14.

Клапан обратный шаровый фланцевый тип
6516/6526

15.

ГОСТ 26349 "Соединения трубопроводов и арматура. Давления
номинальные. Ряды".

16.

Dу=400мм
Клапан обратный шаровый
фланцевый тип 6516 PN10
m=395кг
L=900мм

17. Приемные воронки стальные сварные


Н
D (Dвх)
Dу, мм
D, мм
Н, мм
Масса, кг
150
200
250
300
350
400
500
600
800
270
380
470
565
650
730
900
1070
1400
165
230
280
340
390
440
540
840
840
5,4
10,5
15,9
23,3
30,8
39
70,3
112,6
193,5

18.

План машинного зала




19.

Разрез 1-1
0,4
0,3
H
h

0,5
L
ΔL1

20.

Вариант 1
L


0,8

21.

Вариант 2
L


22.

0,2(n-1)
Zнчпола=51,0 0,00
Zземли=5
0,8
-0,20
Zmax=45,6
-5,40
2,0м
Zл=45,6
-5,40
II
I
Zmin=43,6
-7,40
1,46
0,584
Zдна=41,556
-9,444
Zвкл=45,4
0,2
-5,60
Zвн=45, 0.4
-6,58
Zон=44,42 Z =43,8
0 -6,00
вф
-7,15
II’
I

h
H
0,5
Zмзпола=43,3
5-7,65
0,73
0,73
Отн.отметка = абс.отм. - Zнчпола

23.

Zнчпола=51,0 0,00
Zземли=5
0,8
-0,20
0,2(n-1)
440
Zmax=45,6
-5,40
2,0м
Zл=45,6
-5,40
II
I
-7,82
Zmin=43,6
-7,40
0,2
Zв -7,165
-6,00
н
-8,86
1,46
0,584
Zдна=41,556
-9,444
-6,655 – (-7,82) = 1,165м
-8,42
600
Zвкл=45,4
-5,60
-6,58
Zо-7,745 Z
вф
-7,15
н
h
1,165
-6,655
0,73
H
-8,315
0,2
-8,815 Zмзпо
-7,65 ла
0,73
250
400
75

24.

Zземли=5 -0,20
0,8
Разрез 1-1
Dкнс
Zл=45,6
-5,40
1,04
0,584
0,73

25.

Справочное пособие к СНиП 2.01.0182 «Строительные климатология и
геофизика»
Рис. 8. Схематическая
карта распределения
максимальной глубины
нулевой изотермы
обеспеченностью 0,98, см
hпромерз =1,8 м
hкзал=hпромерз-0,3=
=1,8-0,3=1,5м

26.

Zземли=5 -0,20
0,8
Разрез 1-1
hкзал=1,5
Zтруб=49,
3-1,7
Zл=45,6
-5,40

27.


0,73

28.

Zземли=5 -0,20
0,8
Разрез 2-2
Zтруб=49,
3-1,7

н
-7,745


Zмзпо
ла
-8,815

29. Машинный зал КНС (г. Новосибирск)

30.

Машинный зал КНС (г. Новосибирск)

31.

Машинный зал КНС (г. Новосибирск)

32.

Тепловой пункт в машинном зале КНС
English     Русский Rules