6.21M
Category:
Construction
Similar presentations:
Опирание перекрытий на стены из кирпича
Стены. Несущий каркас. Лекция 2
Конструктивные схемы гражданских зданий с несущими стенами. Здания с неполным каркасом
Схема армирования оболочки по форме гиперболического параболоида, схемы оболочек, поддерживаемых стенами или фермами
Стены зданий. Общие сведения о стенах
Подпорные стенки
Устройство стены, колонны и перекрытия в здании из монолитного железобетона
Стены промзданий
Балочная плита перекрытия, многопролетная неразрезная балка. Расчетная схема
Общие сведения о стенах
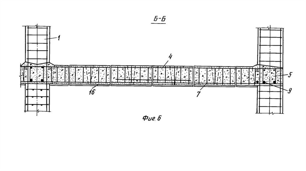
Схема монтажа перекрытия СПМ-350 на несущих стенах
1.
2.
3.
4.
5.
6.
7.
Ребристая плита
Часторебристая плита
Кесонная плита
Безбалочная плита
English
Русский
Rules