128.50K
Category: electronicselectronics

Обобщенная структура процессора

1.

X
S1
...
уу
КОП
...........
...........
...........
...
...
ОУ
...
Sn
...
Вх. данные
P1
...
...
Pm
Признак
результата
Код опера...
Вых. данные
ции (+, -, /, *
Z
и т.д.)
Рис. 3.1. Обобщенная структура процессора

2.

Вход
АЛУ
Выход

3.

X
S
Арифметика
ЧФЗ
Двоичная
арифметика
Логические
операции
Z
Арифметика
ЧПЗ
Специальная
арифметика
Индексная
арифметка
P

4.

Внутренняя шина данных
Рг временного
хранения
Аккумулятор
Сумматор
АЛУ
Рг признаков
Сдвигатель

5.

Код
операции . . . .
(КОП) . . . .
УУ
....
....
Р
....
....
S (сигналы управления – СУ)
Оповещающие
сигналы (признаки) от АЛУ

6.

КОП . . . . . . .
Признаки
от УУ
Логические
.....
схемы
.......
.....
...
...
Синхроимпульсы
от ГТИ
Микрофазный счетчик
тактов
СУ к
ОУ

7.

Слой элементов "И"
1
Слой входных
инверторов
1
1
1
1'
2
1
n
1
.
k
1
1
2'
2
n
1
n
n'
&
n
.
.
.
.
.
.
1
.
.
.
.
.
.
n
Слой элемен- Слой выходных
тов "ИЛИ"
инверторов
1
1
.
1
1
.
&
2
.
.
.
1
k
.
.
.
1
.
.
.
1
&
k
.
.
.
k
1
2
.
.
.
1
r

8.

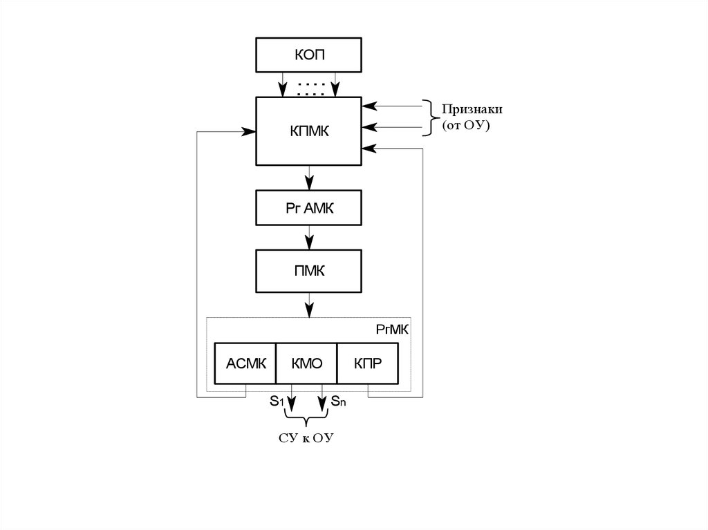
КОП
....
....
Признаки
(от ОУ)
КПМК
Рг АМК
ПМК
РгМК
АСМК
КМО
S1
КПР
Sn
СУ к ОУ

9.

КМО
a)
б)
a
в)
a
АСМК
КМО
КПР
АСМК
Рис. 3.10. Форматы микрокоманды:
а - операционная МК при принудительной адресации;
б - операционная МК при естественной адресации;
в - управляющая МК при обоих типах
адресации

10.

а)
1
n
1
б)
КМО
m
КМО
.......
......
МО1 МО2
МОn
ДШМО
.......
МО1МО2
в)
КМО1
...
...
г)
. . . . КМОL
...
...
ДШМО1
ДШМОL
......
......
МО1МО2 МОi МОk
МОn
1
2 3
КМО1
ДШМО
1
1
МОn
8
КМО2
ДШМО2
....
....
Логическая
схема
4
...
...
МО1МО2 МОn

11.

а)
б)
КМО
&
&
&
Тактовый
импульс
КМО
Фазирующ.
импульс
&
&
&
МО1
МОn
МО1
МОn
English     Русский Rules