1.79M

ЮЗРДУ №004 и ПГУ2003

1.

Режимная записка (РЗ)
№004
для ДД ЮЗРДУ

2.

Управляющие воздействия (УВ) на ОГ:
•«ОГ СБЧС»
•«ОГ АКСА-Тал»
•«ОГ ВЭС»

3.

Состав «ОГ СБЧС»
• Откл. Л-Л-К на ПС Каракуль
• ОГ1 Заравшан (Т1 на ПС Томды ОРУ-1)
• ОГ2 Заравшан (Т2 на ПС Томды ОРУ-2)
• ОГ Кармана
• ОГ Тутли
• ОГ Акса-Бухара ТЭС
• Откл. Л-565 на ПС Каракуль
• ОГ1 Алат
• ОГ2 Алат

4.

Состав «ОГ АКСА-Тал»
• Откл Т1 на АКСА-Талимарджанская ТЭС
• Откл Т2 на АКСА-Талимарджанская ТЭС
• Откл Т3 на АКСА-Талимарджанская ТЭС
• Откл Т4 на АКСА-Талимарджанская ТЭС

5.

Состав «ОГ ВЭС»
• ОГ1 Джанкельды (Т1 ПС Джанкельды)
• ОГ2 Джанкельды (Т2 ПС Джанкельды)
• ОГ1 Баш (Т1 ПС Баш)
• ОГ2 Баш (Т2 ПС Баш)

6.

7.

8.

Режимные записки (РЗ)
№006, №007, №008
для ДД ЮЗРДУ

9.

ПАУ Юго-Западной части
энергосистемы при работе ПГУ
•ПГУ-2, ПГУ-3 ТЭС Талимарджан-1
•ПГУ-4, ПГУ-5 ГЭС-33
•ПГУ-1, ПГУ-2 ГЭС-17

10.

ПГУ-2, ПГУ-3 ТЭС Талимарджан-1

11.

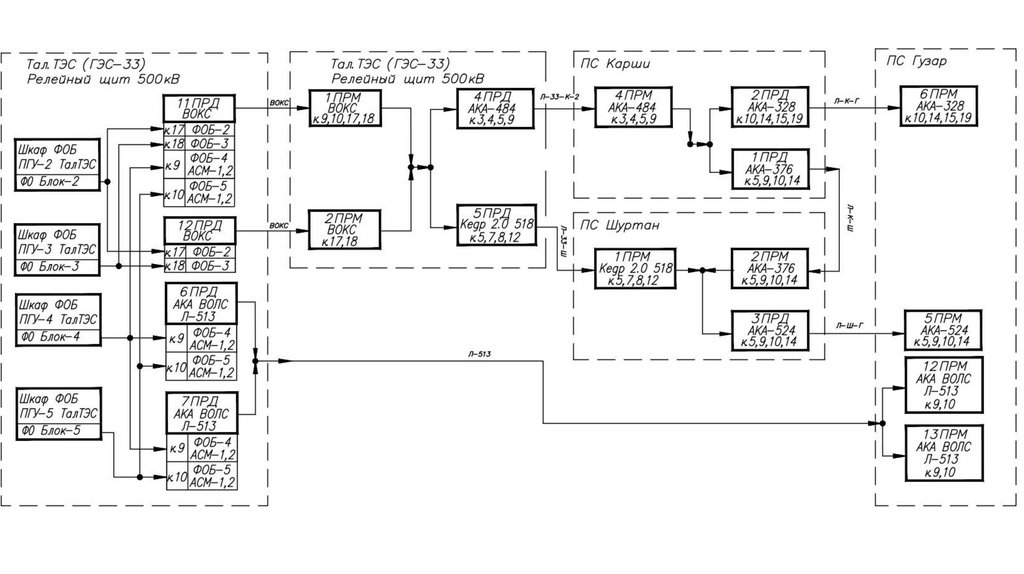
ПГУ-4, ПГУ-5 ГЭС-33

12.

ПГУ-1, ПГУ-2 ГЭС-17

13.

14.

15.

16.

Аплодисменты
English     Русский Rules