Технология изготовления волноводных трактов
Потери в волноводных трактах
Поверхностное сопротивление материала
Шероховатость поверхности
Гибка волноводов
Заполнения при гибке волноводов
Гибка насечкой
Скручивание волновода
3.94M

Технология_изготовления_волноводных_трактов

1. Технология изготовления волноводных трактов

2. Потери в волноводных трактах

Потери электромагнитной энергии связаны с омическими потерями,
зависящими от материала волновода и качества поверхности, а также с потерями на
отражение и создание высших типов волн связанными с неоднородностями в
волноводе.
Омические потери в металлических поверхностях зависят от следующих
факторов:
- поверхностного сопротивления материала;
- рабочей частоты;
- шероховатости поверхности;
- пористости поверхности и степени коррозии металла.

3. Поверхностное сопротивление материала

Где: Rs – поверхностное сопротивление;
ω – частота электромагнитной волны;
µ - магнитная проницаемость среды;
g – проводимость по постоянному току – величина обратная удельному
сопротивлению среды по постоянному току.

4.

5. Шероховатость поверхности

Глубина проникновения тока в стенки волновода (скин-эффект) как правило, много меньше
величины шероховатости в реальных волноводах.
Зависимость толщины скин-слоя в меди от длины электромагнитной волны показана на рис.1.

6.

7.

необходимо максимально уменьшать шероховатость поверхности и поверхностное
сопротивление. Это достигается путем применения покрытия серебром токоведущих
поверхностей и уплотнения серебряного покрытия до приемлемой шероховатости.
Технологический процесс покрытия волноводных узлов «Ср.3»
1. Обезжиривание в растворе:
Натрий едкий (NaOH) 7-10 г/л
Сода кальцинированная (Na2CO3) 15-20 г/л
Тринатрий фосфат (Na2PO4x12H2O) 20-30 г/л
Сульфанол 3-15 г/л
Время 5 мин. Температура 50-60⁰С
2. Промывка в проточной холодной воде, декапирование в концентрированной соляной
кислоте (HCl), промывка проточной водой;
3. Контактное серебрение в растворе:
Серебро азотнокислое (AgNO3) 10-15 г/л
Калий железносинеродистый 25-30 г/л
Калий углекислый К2СО3 10-20 г/л
Температура 50-55⁰C
Скорость осаждения 5 мкм/час при загрузке 3 дм2 на 1 литр раствора.

8.

Декапирование – процесс химического или электрохимического удаления
окислов, образующихся на поверхности детали в процессе обезжиривания,
промывки, транспортировки и т.д.
При декапировании происходит легкое травление верхнего слоя металла,
выявляющее кристаллическую структуру и способствующее прочному сцеплению с
ним гальванического покрытия.

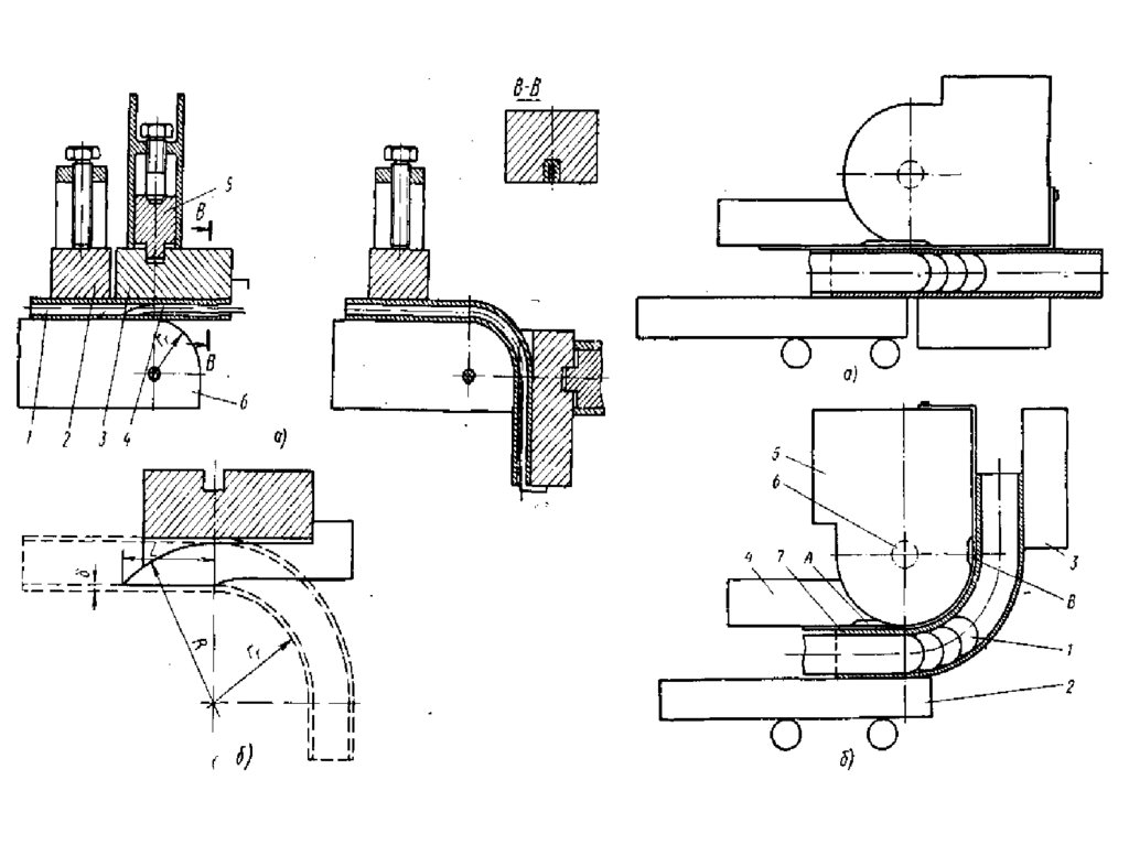
9. Гибка волноводов

10. Заполнения при гибке волноводов

1. Мягкий припой;
2. Звеньевая оправка;
3. Пластины;
4. Твердая оправка

11.

12.

13.

14. Гибка насечкой

15. Скручивание волновода

English     Русский Rules