Компоновки главных корпусов ТЭС
Простейшая тепловая схема конденсационной ТЭС
Экспресс-опрос
Технологическая схема КЭС с одним энергоблоком
Принципиальная технологическая схема четырехблочной КЭС
Основные положения
Факторы, влияющие на компоновочные решения главных корпусов ТЭС:
Компоновочные решения главных корпусов ТЭС должны обеспечить:
Группы требований предъявляемых к компоновочным решениям главных корпусов ТЭС:
Принципиальные компоновочные схемы главных корпусов конденсационных станций
Варианты взаиморасположения котла и турбоагрегата: а – П-образный котел; Т-образный котел; ПК-котел, Т-турбина, Г-генератор,
Схемы примыканий строительных ячеек котла и турбоагрегата: а — вариант с П-образным котлом; ТА — турбоагрегат; ПК — паровой
Схемы примыканий строительных ячеек котла и турбоагрегата: б — вариант с П-образным котлом; ТА — турбоагрегат; ПК — паровой
в–ж. Схемы примыканий строительных ячеек котла и турбоагрегата: в, г — варианты с П-образным котлом; д, е, ж — варианты с
Варианты д, е
Схемы взаиморасположения парового котла и оборудования системыпылеприготовления с прямым вдуванием пыли в топочную камеру: а —
. Поперечники главных корпусов с различными схемами этажерок:а — этажерка, встроенная в объем котельного отделения (КО); б —
Схема-пример компоновки гл. корпуса КЭС
Варианты компоновочных схем четырехблочных главных корпусов при различных длинах ячеек котла и турбоагрегата (планы): а — схема
Примеры заданий для самопроверки, варианты №1, №8
Примеры компоновочных решений главных корпусов отечественных паросиловых (паротурбинных) конденсационных электростанций с
Компоновка главного корпуса газомазутной КЭС мощностью 2400 МВт с энергоблоками 300 МВт: а — план здания; б — план ячейки
План ячейки турбоагрегата блока 300 МВт
Поперечный разрез главного корпуса с энергоблоками 300 МВт
Компоновка главного корпуса газомазутной КЭС мощностью 2400 МВт (Запорожская ГРЭС) с энергоблоками 800 МВт: а – план здания; б
План ячейки энергоблока 800 МВт
Поперечный разрез главного корпуса с энергоблоками 800 МВт
Компоновка (план) главного корпуса газомазутной КЭС мощностью 4800 МВт (Сургутская ГРЭС) с энергоблоками 800 МВт: а — план
Поперечный разрез главного корпуса газомазутной КЭС с блоками 800 МВт (Сургутская ГРЭС)
Компоновка главного корпуса пылеугольной КЭС мощностью 4000 МВт (Экибастузская ГРЭС №1) с энергоблоками 500 МВт:а — план
План ячейки пылеугольного энергоблока 500 МВт (Экибастузская ГРЭС №1)
Поперечный разрез главного корпуса с пылеугольными энергоблоками 500 МВт (Экибастузская грэс №1)
Машинный зал Экибастузской ГРЭС (8 энергоблоков по 500 МВт)
Поперечный разрез главного корпуса пылеугольной КЭС с энергоблоками 800 МВт. (Березовская ГРЭС, по проекту 8х800 МВт). ХБ –
Котельное отделение Березовской ГРЭС. Пылеугольный блок 800 МВт с котлом производительностью 2500 т/ч пара. По проекту в
Машинный зал Костромской ГРЭС, энергоблок 1200 МВт. Подробно в презентации «Компоновка, конструкции блока 1200 МВт»
Компоновки главных корпусов паросиловых (паротурбинных) теплоэлектроцентралей (ТЭЦ)
Схема отпуска пара и горячей воды на ТЭЦ
Принципиальная тепловая схема теплоэлектроцентрали
Примеры компоновок главных корпусов ТЭЦ-ЗИТТ из типовых секций
Разрез главного корпуса ТЭЦ-ЗИТТ по секции с турбоагрегатом ПТ-135
Компоновочная схема главного корпуса ТЭЦ-ЗИГМ с турбинами Т-60 и Т-100
Компоновка объединенного главного корпуса ТЭЦ мощностью 400 МВт с турбинами Т-100: а-план, б- разрез по котлотурбинной секции,
Поперечный разрез по котлотурбинной секции объединенного главного корпуса ТЭЦ с турбоагрегатами 100 МВт
Поперечный разрез по секциям водоподготовки, водогрейным котлам идр. объединенного главного корпуса ТЭЦ с турбоагрегатами 100
Однопролетный главный корпус ТЭЦ, разрез.
Однопролетный главный корпус ТЭЦ, план
Сравнительные характеристики главных корпусов ТЭЦ в металлическом каркасе
Главный корпус ТЭЦ в арочных конструкциях
Компоновки главных корпусов газотурбинных и парогазовых электростанций
Компоновка основного оборудования энергоблока парогазовой электростанции в машинном отделении:а — одновальная; б — двухвальная;
Простейшая компоновка главного корпуса ГТУ–ТЭЦ с тремя газотурбинными установками: 1 — генератор; 2 — газовая турбина; 3 —
Газотурбинная установка 14 МВт в контейнерном здании
Компоновка в здании трехвального парогазового блока мощностью 450 МВт. План , разрез 1-1, разрез 2-2
Разрез 1-1
Разрез 2-2
Компоновка одновального парогазового блока мощностью 400 МВт. План
Компоновка одновального парогазового блока мощностью 400 МВт. Разрез
. Компоновки парогазовых установок: а — одновальная 420 МВт (ГТУ-270 МВт; ПТУ-150 МВт); б — двухвальная 420 МВт (ГТУ-270 МВт;
12.43M
Category: industryindustry

Компон.гл.корп.ТЭС (2)

1. Компоновки главных корпусов ТЭС

Материал настоящей презентации представляет собой в основном
иллюстративную часть раздела компоновки. Подробная описательная часть:
1. Глава 5 учебника «Строительство тепловых электростанций. Том 1.
Проектные решения». И.К.Вишницкий, Ю.И.Кириллов, Б.Ф.Лейпунский и
др. – М.: Изд-во АСВ, 2010 (далее – учебник).
2. Пергаменщик Б.К. «Компоновки главных корпусов тепловых
электростанций». Учебное пособие . М.: МГСУ (далее – пособие)

2. Простейшая тепловая схема конденсационной ТЭС

3. Экспресс-опрос

«Газоплотный паровой котел». Как понимать эту особенность котла?
Уплотнение турбины. Что это?
Турбины типа «К» и типа «Т», в чем отличие, назначение?
«Холодная воронка». Что это такое??
Очень жаркое лето. Как это сказывается на работе паросиловой (паротурбины) ТЭС.
«Ороситель». Где находится, для чего?
Что главное определяет КПД паросиловой ТЭС?
«Разъединитель». Что это, где используется?
«Эжектор». Где и для чего используется на паросиловой ТЭС?
Для какой цели используется водород при работе ТЭС?
Назовите 2-3 преимущества газотурбины ТЭС по сравнению с паросиловой.
«Брызгальный бассейн». Что это, назначение?
-------------------------------------------------------------------------------------------------------------------------------------------------Как изменяют мощность реактора в процессе работы АЭС?
«Обогащение урана 4%». Как это понимать?
Примерный диаметр и высота корпуса реактора ВВЭР-1200.
«Выгородка». Что это за элемент в конструкции реактора ВВЭР?
Оболочка ТВЭЛ сделана из циркония. Почему не из стали? Недостатки и достоинства циркония.
В качестве топлива на некоторых АЭС используется, кроме урана, плутоний. Где его берут, добывают?
«Сухая защита». Из чего, где конкретно используется?
Замедлитель. Его назначение. Что используется в качестве замедлителя?
Основные виды излучения, на которые рассчитывается защита реактора?
Почему радиоактивный фон в воздухе вблизи АЭС определяется в основном изотопами криптона и
ксенона? Откуда они берутся?
Для какой цели используется тяжелая вода на АЭС? В чем ее преимущество по сравнению с обычной
водой?
Что такое наведенная активность?

4. Технологическая схема КЭС с одним энергоблоком

5. Принципиальная технологическая схема четырехблочной КЭС

6. Основные положения

Главный корпус ТЭС - здание или комплекс зданий, в которых
размещаются основное и вспомогательное оборудование,
непосредственно участвующее в процессе выработки тепловой и
электрической энергии. В главный корпус подаются топливо,
подлежащее сжиганию, холодная вода для охлаждения
отработавшего пара и других целей. Из него отводятся теплая
вода (технологическая) после конденсаторов, дымовые газы,
шлак, зола, а также электрическая и тепловая энергия.
На долю главного корпуса ТЭС по различным оценкам
приходиться около 50 % от общих капиталовложений в
строительство электростанции.
Стоимость
строительства,
трудозатраты,
а
также
эксплуатационные показатели, в значительной степени зависят
от компоновочного решения главного корпуса.
Под компоновкой главных корпусов ТЭС обычно понимают
взаиморасположение
оборудования,
коммуникаций
и
строительных элементов здания.

7. Факторы, влияющие на компоновочные решения главных корпусов ТЭС:

тип электростанции, ее технологическая структура
(блочная, с поперечными связями и т.д.);
количество и мощность устанавливаемых энергоблоков
(агрегатов) ;
вид топлива и его характеристики;
габариты, особенности конструктивно-компоновочного
решения основного технологического оборудования, в
первую очередь котла, турбоагрегата, газотурбинной,
парогазовой установки;
количество и структура эксплуатационных служб, объем
служебных помещений;
проектная
надежность
работы
оборудования,
продолжительность и частота ремонтных периодов,
необходимость размещения специальных площадок и
грузоподъемных механизмов;
особенности площадки для размещения ТЭС.

8. Компоновочные решения главных корпусов ТЭС должны обеспечить:

надежное, бесперебойное энергоснабжение потребителей;
условия для эксплуатации ревизии, ремонта, монтажа и демонтажа
оборудования, в том числе и санитарно-гигиенические;
безопасность персонала, защиту окружающей среды при авариях,
пожарную и взрывобезопасность;
возможность реализации проекта, в том числе его архитектурноконструктивной части, на площадке (с учетом этапов изготовления и
транспортировки) современными доступными технологиями в
оптимальные или заданные сроки;
высокие технико-экономические показатели главного корпуса и
электростанции в целом, к числу которых в первую очередь
относятся: удельные капиталовложения и объем строительномонтажных работ (руб./кВт), себестоимость вырабатываемой
энергии (руб./кВт*ч), срок окупаемости;
возможность модернизации оборудования по завершении
проектного срока службы, реконструкции здания, а также полный
демонтаж с восстановлением на площадке условий «природной
лужайки».

9. Группы требований предъявляемых к компоновочным решениям главных корпусов ТЭС:

A Функционально-технологическая группа.
B Архитектурно-конструктивная группа.
C Эксплуатационная
группа,
санитарногигиеническая и охраны труда.
D Группа надежности и безопасности.
E Организационно-строительная группа.
F Группа требований
по реконструкции и
ликвидации объекта.
Детально требования изложены в разделе 5.2 учебника, в разделе 3 пособия

10. Принципиальные компоновочные схемы главных корпусов конденсационных станций

11. Варианты взаиморасположения котла и турбоагрегата: а – П-образный котел; Т-образный котел; ПК-котел, Т-турбина, Г-генератор,

Варианты взаиморасположения котла и турбоагрегата: а – П-образный котел; Т-образный котел; ПКкотел, Т-турбина, Г-генератор, К-конденсатор, Тр-трансформатор, Ф-фундамент турбоагрегата

12. Схемы примыканий строительных ячеек котла и турбоагрегата: а — вариант с П-образным котлом; ТА — турбоагрегат; ПК — паровой

котел; К — конденсатор;
МК — мостовой кран. Колонны фахверка условно не показаны

13. Схемы примыканий строительных ячеек котла и турбоагрегата: б — вариант с П-образным котлом; ТА — турбоагрегат; ПК — паровой

котел; К — конденсатор;
МК — мостовой кран. Колонны фахверка условно не показаны

14. в–ж. Схемы примыканий строительных ячеек котла и турбоагрегата: в, г — варианты с П-образным котлом; д, е, ж — варианты с

Т-образным котлом;
ТА — турбоагрегат; ПК — паровой котел; К — конденсатор; МК — мостовой кран.
Колонны фахверка условно не показаны

15. Варианты д, е

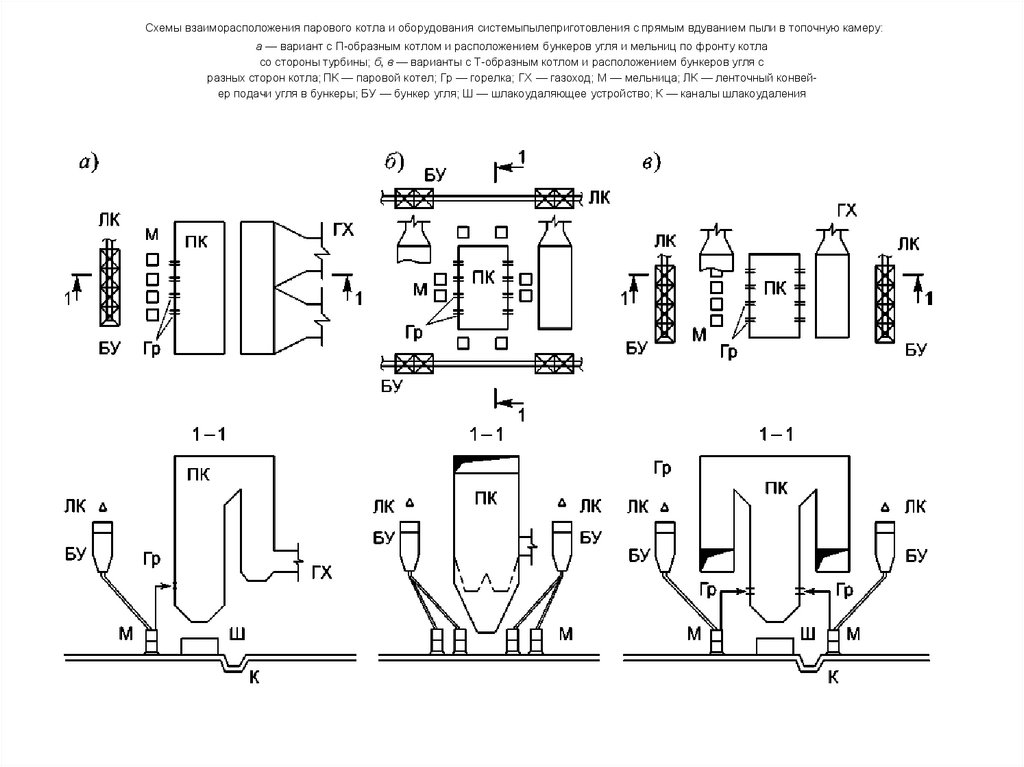
16. Схемы взаиморасположения парового котла и оборудования системыпылеприготовления с прямым вдуванием пыли в топочную камеру: а —

вариант с П-образным котлом и расположением бункеров угля и мельниц по фронту котла
со стороны турбины; б, в — варианты с Т-образным котлом и расположением бункеров угля с
разных сторон котла; ПК — паровой котел; Гр — горелка; ГХ — газоход; М — мельница; ЛК — ленточный конвейер подачи угля в бункеры; БУ — бункер угля; Ш — шлакоудаляющее устройство; К — каналы шлакоудаления

17. . Поперечники главных корпусов с различными схемами этажерок:а — этажерка, встроенная в объем котельного отделения (КО); б —

этажерка, выделенная в самостоятельный объем между машинным и котельным отделениями; в — этажерка в КО с опиранием
перекрытий на каркас котла; г, д — варианты двухпролетных этажерок: решение с выделением в самостоятельный объем обоих
пролетов и решение с одним из пролетов внутри КО с опиранием перекрытий на каркас котла; е — вариант с дополнительной
этажеркой со стороны отходящих газоходов для размещения дополнительных бункеров угля

18.

19. Схема-пример компоновки гл. корпуса КЭС

20. Варианты компоновочных схем четырехблочных главных корпусов при различных длинах ячеек котла и турбоагрегата (планы): а — схема

формирования полиблока из моноблоков путем последовательного присоеди-нения ячеек; б — вариант с индивидуальными котельными
отделениями — «зубчатая» компоновка; в — вариант с размещением котлов в общем котельном отделении; г — вариант с котельными
отделениями для двух котлов — «попарно-зубчатая» компоновка; ПК — паровой котел; ТА — турбоагрегат; МК — мостовой кран

21. Примеры заданий для самопроверки, варианты №1, №8

22.

23.

24. Примеры компоновочных решений главных корпусов отечественных паросиловых (паротурбинных) конденсационных электростанций с

блоками мощностью 200, 300, 500, 800
МВт

25. Компоновка главного корпуса газомазутной КЭС мощностью 2400 МВт с энергоблоками 300 МВт: а — план здания; б — план ячейки

турбоагрегата; ТА — турбоагрегат; ПВД — подогреватель высокого
давления; ПТН — питательный турбона-сос; ПЭН — питательный электронасос; Г — газоход; ПНД —
подогреватель низкого давления;И — испаритель; КиСН — конденсатный и сливной насосы; БЩУ —
блочный щит управления; ПК – паровой котел; ЦВ – циркводоводы; МБ - маслобак

26. План ячейки турбоагрегата блока 300 МВт

27. Поперечный разрез главного корпуса с энергоблоками 300 МВт

28. Компоновка главного корпуса газомазутной КЭС мощностью 2400 МВт (Запорожская ГРЭС) с энергоблоками 800 МВт: а – план здания; б

— план ячейки турбоагрегата; в — поперечный разрез здания;
ТА — турбоагрегат; Д — деаэратор; ПК — паровой котел; ПН — питательный насос; Г — газоход; В — воздуховод; ПВД — подогреватель высокого давления; ПНД — подогреватель низкого
давления; Т — токопровод к повышающем трансформатору и к транформатору; ХБ — хребтовая
балка; ДВ — дутьевой вентилятор; ЦВ — циркуляционный водовод; К — конденсатор

29. План ячейки энергоблока 800 МВт

30. Поперечный разрез главного корпуса с энергоблоками 800 МВт

31. Компоновка (план) главного корпуса газомазутной КЭС мощностью 4800 МВт (Сургутская ГРЭС) с энергоблоками 800 МВт: а — план

здания; б — поперечный разрез здания; ТА — турбоагрегат; ПНД — подогреватель
низкого давления; КН1 — конденсатный насос пер-вого подъема; КН2 — конденсатный насос второго подъема; Ф —
фильтр конденсатоочистки; ПТН — питательный турбонасос; ПК — паровой котел; ПВД — подогреватель высокого давления; ДВ — дутьевой вентилятор; ДМР — дымосос рецикуляции; ВП — воздухоподогреватель; БЩУ — блочный щит
управления; ДМ — дымосос; Г — газоход; В — воздуховод; Д — деаэртор; ЦВ — циркуляционный водовод; ХБ —
хребтовая балка; К — конденсатор

32. Поперечный разрез главного корпуса газомазутной КЭС с блоками 800 МВт (Сургутская ГРЭС)

33. Компоновка главного корпуса пылеугольной КЭС мощностью 4000 МВт (Экибастузская ГРЭС №1) с энергоблоками 500 МВт:а — план

здания; б — план ячейки энергоблока ;ТА — турбоагрегат; ПК — паровой котел; ПрК —
продольный конвейер раздачи топлива по системам пылеприготовления энегоблоков; ПпК — поперечный конвейер
подачи топлива в бункера; ПНД — подогреватель низкого давления; ПВД — подогреватель высокого давления;
ВП — воздухоподогреватель; ПТН — питательный турбонасос; М — мельница; БУ — бункер угля; БЩУ — блочный щит
управления; Ф — фильтр конденсатоочистки

34. План ячейки пылеугольного энергоблока 500 МВт (Экибастузская ГРЭС №1)

35. Поперечный разрез главного корпуса с пылеугольными энергоблоками 500 МВт (Экибастузская грэс №1)

36. Машинный зал Экибастузской ГРЭС (8 энергоблоков по 500 МВт)

37. Поперечный разрез главного корпуса пылеугольной КЭС с энергоблоками 800 МВт. (Березовская ГРЭС, по проекту 8х800 МВт). ХБ –

хребтовый диск, к которому подвешен котел

38. Котельное отделение Березовской ГРЭС. Пылеугольный блок 800 МВт с котлом производительностью 2500 т/ч пара. По проекту в

главном корпусе 8 блоков.

39. Машинный зал Костромской ГРЭС, энергоблок 1200 МВт. Подробно в презентации «Компоновка, конструкции блока 1200 МВт»

40. Компоновки главных корпусов паросиловых (паротурбинных) теплоэлектроцентралей (ТЭЦ)

41. Схема отпуска пара и горячей воды на ТЭЦ

42. Принципиальная тепловая схема теплоэлектроцентрали

43. Примеры компоновок главных корпусов ТЭЦ-ЗИТТ из типовых секций

44. Разрез главного корпуса ТЭЦ-ЗИТТ по секции с турбоагрегатом ПТ-135

Разрез главного корпуса ТЭЦ-ЗИТТ по секции с турбоагрегатом ПТ135

45. Компоновочная схема главного корпуса ТЭЦ-ЗИГМ с турбинами Т-60 и Т-100

46. Компоновка объединенного главного корпуса ТЭЦ мощностью 400 МВт с турбинами Т-100: а-план, б- разрез по котлотурбинной секции,

в- разрез по
секции системы водоподготовки и водогрейным котлам.

47. Поперечный разрез по котлотурбинной секции объединенного главного корпуса ТЭЦ с турбоагрегатами 100 МВт

48. Поперечный разрез по секциям водоподготовки, водогрейным котлам идр. объединенного главного корпуса ТЭЦ с турбоагрегатами 100

МВт.

49. Однопролетный главный корпус ТЭЦ, разрез.

50. Однопролетный главный корпус ТЭЦ, план

51. Сравнительные характеристики главных корпусов ТЭЦ в металлическом каркасе

52. Главный корпус ТЭЦ в арочных конструкциях

53. Компоновки главных корпусов газотурбинных и парогазовых электростанций

54. Компоновка основного оборудования энергоблока парогазовой электростанции в машинном отделении:а — одновальная; б — двухвальная;

в — трехвальная;
1 — котел-утилизатор; 2 — газовая турбина; 3 — генератор; 4 — паровая турбина; 5 — конденсатор (на рис. б и в конденсатор находится под паровой турбиной); 6 — трансформатор

55. Простейшая компоновка главного корпуса ГТУ–ТЭЦ с тремя газотурбинными установками: 1 — генератор; 2 — газовая турбина; 3 —

котел-утилизатор; 4 — воздухозаборное
устройство

56. Газотурбинная установка 14 МВт в контейнерном здании

57. Компоновка в здании трехвального парогазового блока мощностью 450 МВт. План , разрез 1-1, разрез 2-2

58. Разрез 1-1

59. Разрез 2-2

60. Компоновка одновального парогазового блока мощностью 400 МВт. План

61. Компоновка одновального парогазового блока мощностью 400 МВт. Разрез

62.

ТЭС-ПГУ Pembroke (Великобритания), 5х400 МВт, ГТУ-288 МВт. Alstom (2012г.).
Одновальная ПГУ.

63. . Компоновки парогазовых установок: а — одновальная 420 МВт (ГТУ-270 МВт; ПТУ-150 МВт); б — двухвальная 420 МВт (ГТУ-270 МВт;

ПТУ-150 МВт); в — трехвальная 820 МВт (ГТУ-2×270 МВт; ПТУ-280 МВт); 1 — паровая турбина; 2 —
газовая турбина; 3 — котел-утилизатор; 4 — генератор; 5 — генератор ПТУ; 6 — генератор ГТУ; 7 — конденсатор; 8 —
трансформатор; 9 — электрическое распределительное устройство; 10 — АСУ ТП; 11 — диффузор; 12 —
воздухозаборник компрессора;13 — экранированные токопроводы; 14 — газоотводящая труба; 15 — подача
охлаждающей воды
English     Русский Rules