Технология сбора и промысловой подготовки нефти и газа
Парафины и АСПО
Парафины в нефти
Парафиновые отложения
Измерение температуры начала кристаллизации парафинов
Ингибиторы парафиноотложений
Ингибиторы парафиноотложений
Теории действия полимерных ИПО
Теории действия полимерных ИПО
Теории действия полимерных ИПО
Очистные устройства для трубопроводов
Очистные устройства для трубопроводов
Солеотложение
Солеотложение
Ингибиторы солеотложений
Ингибиторы солеотложений
Механизмы действия
Противотурбулентные присадки
Противотурбулентные присадки
Механизм действия ПТП
Действие ПТП
Технологические особенности подачи ПТП в трубопроводы
Поглотители кислорода
Поглотители кислорода
Поглотители сероводорода
Ингибиторы коррозии
Ингибиторы коррозии
Промысловая подготовка высоковязких нефтей
Промысловая подготовка высоковязких нефтей
Промысловая подготовка высоковязких нефтей
Промысловая подготовка высоковязких нефтей
Промысловая подготовка высоковязких нефтей
Промысловая подготовка высоковязких нефтей
Промысловая подготовка высоковязких нефтей
Промысловая подготовка высоковязких нефтей
Промысловая подготовка высоковязких нефтей
Промысловая подготовка высоковязких нефтей
Промысловая подготовка высоковязких нефтей
Особенности очистки нефти от хлорорганических соединений (ХОС)
Особенности очистки нефти от хлорорганических соединений (ХОС)
Природный газ
Состав природных газов и газовых конденсатов
Природные газы
КОМПОНЕНТНЫЙ СОСТАВ ГАЗА
ЛИНЕЙКА ТОВАРНЫХ ПРОДУКТОВ, ПОЛУЧАЕМЫХ ИЗ ГАЗА
Состав природных и попутных газов
Природный газ: термины
Природный газ: термины
Сравнение попутного нефтяного газа и газового конденсата
Нежелательные примеси
Почему нужно удалять эти соединения?
Свойства сернистых соединений
Составы газов (содержание S)
Газовые конденсаты
Свойства компонентов природных газов
Метан
Метан
Основные понятия
Идеальный газ vs Реальный газ
Свойства индивидуальных компонентов газа
Растворимость газов в нефти зависит от:
Газовый конденсат
Нормативная документация
Нормативная документация
Нормативная документация
Нормативная документация
Нормативная документация
Осушка природных углеводородных газов
Осушка газов. Общие положения
Осушка газов. Общие положения
Абсорбционная осушка газов
Абсорбционная осушка
Абсорбционная осушка
Абсорбционная осушка
Абсорбционная осушка газов
Абсорбционная осушка газов
Абсорбционная осушка газов
Абсорбционная осушка газов
Адсорбционная осушка
Адсорбционная осушка
Адсорбционная осушка газов
Адсорбционная осушка
Адсорбционная осушка
Адсорбционная осушка
Адсорбционная осушка газов
Адсорбционная осушка
Основные абсорбционные способы удаления кислых газов
Как выбрать способ?
Перечень основных мировых процессов сероочистки
Принцип хемосорбционной технологии очистки
Технологическая схема хемосорбционной очистки
Технологические показатели хемосорбционной очистки
Технологический режим
Требования к аминам
МЭА или ДЭА?
Мембранная технология
Мембранная технология
Мембранная технология
Мембранная технология
Мембранная технология
СТАДИИ МЕМБРАННОГО РАЗДЕЛЕНИЯ
ОСОБЕННОСТИ ПРОЦЕССА:
Мембранная технология
ПОКАЗАТЕЛИ ПРОЦЕССА ПОДГОТОВКИ ПНГ
Источники холода
Охлаждение с использованием вихревого эффекта
Охлаждение с использованием вихревого эффекта
Принципиальная схема вихревой трубы Ранка-Хилша
Технические характеристики вихревой трубы
Основные определения
Основные определения
Применение дросселирования в технологии подготовки газа.
Адиабатические процессы.
Термодинамика процесса Джоуля — Томсона
Термодинамика процесса Джоуля — Томсона
Конструкция дросселей. Значения дроссель-эффекта
Требования к холодильным агентам
Ключевые эвристики холодильных процессов
Сравнение хладагентов
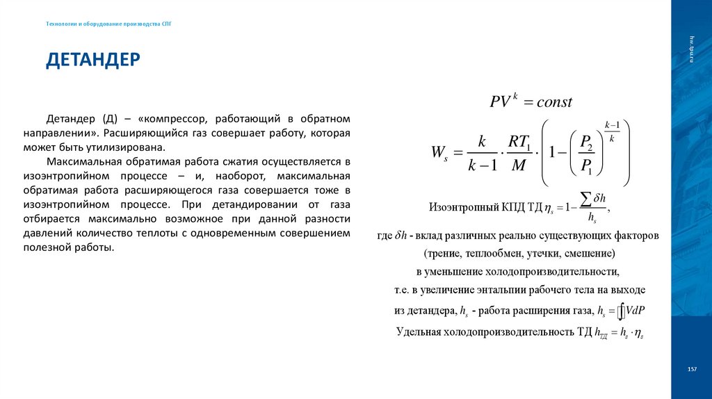
Детандер
турбоДетандер
турбоДетандер
турбоДетандер
турбоДетандер
Турбодетандерный агрегат
Турбодетандерный агрегат
Классификация турбодетандеров
Классификация турбодетандеров
Классификация турбодетандеров
Способы регулирования холодопроизводительности ТД
Детандер-нагнетательные турбоагрегаты
Детандер-компрессорные турбоагрегаты
Устройство турбодетандера-компрессора
Установка низкотемпературной сепарации
Установка низкотемпературной сепарации
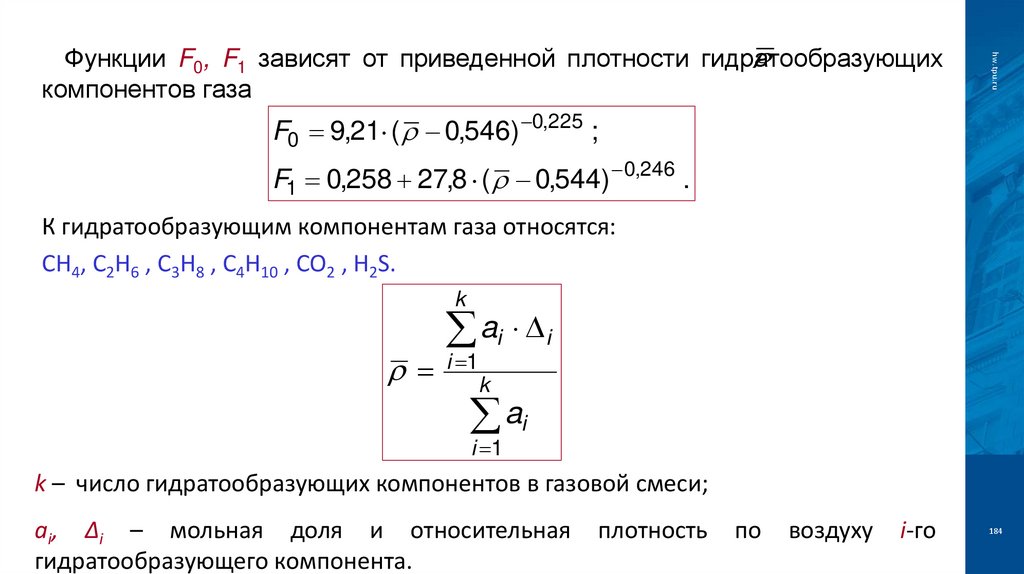
Структурные элементы гидрата газов
Кристаллическая решетка и типы структур газового гидрата
ВИДЫ ГИДРАТОВ
Гидратообразование
Последствия гидратообразования
Ингибиторы гидратообразования
Мероприятия по предупреждению образования гидратов и их разрушению
Расчет количества метанола на обработку газа
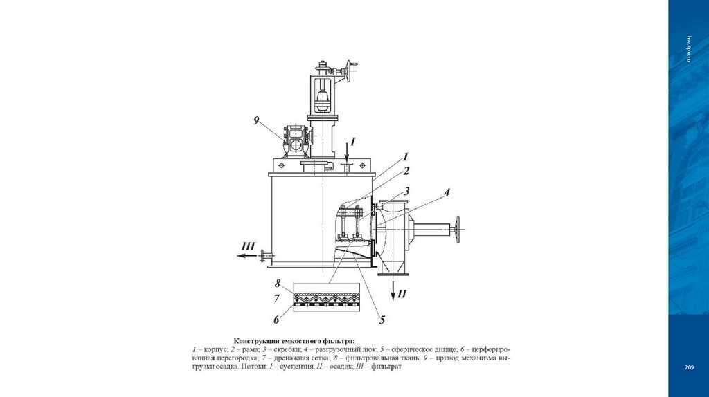
Фильтрование
Характеристики процесса
Физический смысл
Влияние ΔP на характер процесса
Сжигание попутного газа
Сжигание попутного газа
Сжигание попутного газа
Сжигание попутного газа
Сжигание попутного газа
Продукты сгорания газа
Сжигание газа
Пределы воспламенения и детонации
Явления отрыва и проскока пламени
Требования к факельным установкам
Классификация факельных установок
Классификация факельных установок
Конструкция факельной утсновки
Газовые затворы
Источники воспламенения
Факторы, влияющие на полноту сгорания
Закрытые факельные системы
Закрытые факельные системы
Закрытые факельные системы
Закрытые факельные системы
Закрытые факельные системы
Закрытые факельные системы
Закрытые факельные системы
49.36M
Category: industryindustry

Технология сбора и промысловой подготовки нефти и газа

1. Технология сбора и промысловой подготовки нефти и газа

hw.tpu.ru
Технология сбора и промысловой подготовки
нефти и газа
Попок Евгений Владимирович
Руководитель проектного направления группы стратегических инициатив
17.06.2024

2.

hw.tpu.ru
Нефтепромысловая химия – это наука о причинах и методах
предотвращения и устранения проблем, возникающих при добыче,
транспортировке и первичной подготовки нефти и газа.
Основные направления:
• Борьба с асфальтосмолопарафиновыми отложениями;
• Борьба с отложениями солей;
• Борьба с коррозией;
• Реагенты для разрушения водонефтяных эмульсий;
• Противотурбулентные присадки;
• Поглотители кислорода;
• Поглотители сероводорода.
2

3. Парафины и АСПО

hw.tpu.ru
ПАРАФИНЫ И АСПО
Парафины – твердые при нормальной температуре углеводороды,
содержащиеся в нефти в растворенном или, в зависимости от
температуры, кристаллическом состоянии, и представляющие собой смесь
предельных углеводородов (алканов) С16-С70, состояших из нормальных
алканов С16-С40, известных как парафины, изопарафиновых углеводородов
и нафтеновых углеводородов С30-С70.
3

4. Парафины в нефти

hw.tpu.ru
ПАРАФИНЫ В НЕФТИ
4

5. Парафиновые отложения

hw.tpu.ru
ПАРАФИНОВЫЕ ОТЛОЖЕНИЯ
5

6. Измерение температуры начала кристаллизации парафинов

hw.tpu.ru
ИЗМЕРЕНИЕ ТЕМПЕРАТУРЫ НАЧАЛА КРИСТАЛЛИЗАЦИИ
ПАРАФИНОВ
Единого стандарта по измерению температуры начала кристаллизации
парафинов не существует.
Применяемые методы:
• Микроскопия в поляризованном свете.
• Метод холодного стержня.
6

7. Ингибиторы парафиноотложений

hw.tpu.ru
ИНГИБИТОРЫ ПАРАФИНООТЛОЖЕНИЙ
Ингибиторами парафиноотложений называются вещества и их смеси,
которые при добавлении их к нефти в соответствующей концентрации
влияют на процесс кристаллизации парафинов.
Механизмы воздействия:
• Понижение температуры текучести нефти;
• Снижение низкотемпературной вязкости нефти;
• Снижение количества парафинов, выпадающих в осадок.
7

8. Ингибиторы парафиноотложений

hw.tpu.ru
ИНГИБИТОРЫ ПАРАФИНООТЛОЖЕНИЙ
Современные ингибиторы это высокомолекулярные полимеры: полиэтилены (с
молекулярным весом более 6000), полиолефины, полиакрилаты, полиметакрила-ты,
сополимеры этилена и полярных мономеров — полиэтиленвинилацетат (концентрация
винилацетата от 20 до 80 % масс), полиоктадецилакрилат, полимеры на основе эфиров
полисахаридов и жирных кислот и др. Одним из перспективных ИПО, обладающим менее
выраженным, по сравнению с другими ИПО, специфическим действием, считается
полиэтиленвинилацетат с концентрацией винилацетата от 30 до 38 % масс, и
молекулярным весом около 35000.
Общей теории действия полимерных ИПО не существует, в настоящее время
рассматривается 3 механизма.
8

9. Теории действия полимерных ИПО

hw.tpu.ru
ТЕОРИИ ДЕЙСТВИЯ ПОЛИМЕРНЫХ ИПО
Первый механизм действия: ИПО формирует на поверхности растущих
кристаллов парафинов области дефектов, которые влияют на дальнейший
рост кристалла (рост либо прекращается, либо замедляется). В результате
парафиновая сетка образуется при более низкой температуре: ИПО
понижает температуру текучести и низкотемпературную вязкость нефти.
Поскольку ИПО по первому механизму действия изменяют кристаллы
парафинов, их называют также модификаторами кристаллов парафинов
(crystal modifiers).
9

10. Теории действия полимерных ИПО

hw.tpu.ru
ТЕОРИИ ДЕЙСТВИЯ ПОЛИМЕРНЫХ ИПО
Второй механизм действия ИПО: ингибитор не уменьшает размеров и
не изменяет вида растущих кристаллов парафинов, но, адсорбируясь на их
поверхности или сокристаллизуясь, изменяет их поверхностные свойства
так, что уменьшается адгезия кристаллов друг к другу и к твердым
поверхностям (например, к металлическим стенкам труб и оборудования):
кристаллы парафинов находятся в нефти в виде суспензии, не выпадают в
осадок и не отлагаются на нефтепромысловом оборудовании.
10

11. Теории действия полимерных ИПО

hw.tpu.ru
ТЕОРИИ ДЕЙСТВИЯ ПОЛИМЕРНЫХ ИПО
Третий механизм действия ИПО заключается в том, что они создают в
нефти большое количество центров кристаллизации для кристаллов
парафинов, в результате чего парафины кристаллизуются в виде большого
количества очень мелких кристаллов, которые не соединяются друг с
другом и долгое время могут находиться в нефти, не выпадая в осадок.
11

12. Очистные устройства для трубопроводов

hw.tpu.ru
ОЧИСТНЫЕ УСТРОЙСТВА ДЛЯ ТРУБОПРОВОДОВ
12

13. Очистные устройства для трубопроводов

hw.tpu.ru
ОЧИСТНЫЕ УСТРОЙСТВА ДЛЯ ТРУБОПРОВОДОВ
13

14. Солеотложение

hw.tpu.ru
СОЛЕОТЛОЖЕНИЕ
• Одновременное присутствие в водной фазе продукции скважин различных анионов и
катионов обусловливает возможность образования труднорастворимых соединений
(осадков солей, солеотложений): СаСО3, FeCO3, CaSO4, BaSO4, SrSO4, которые наряду с FeS
являются типичными составляющими минеральных отложений большинства
нефтепромысловых систем.
• Образование минеральных отложений может происходить в любом месте
нефтепромысловых систем, где в результате, химического состава воды или температуры,
нарушается химическое равновесие. Поэтому осадки солей обнаруживают в скважинах,
на различной глубине по стволу скважины, в трубопроводах ССН, в аппаратах установок
подготовки нефти, в трубопроводах, транспортирующих нефть от ДНС до товарных
парков, в оборудовании и трубопроводах систем поддержания пластового давления
(ППД).
14

15. Солеотложение

hw.tpu.ru
СОЛЕОТЛОЖЕНИЕ
15

16. Ингибиторы солеотложений

hw.tpu.ru
ИНГИБИТОРЫ СОЛЕОТЛОЖЕНИЙ
Ингибиторами солеотложений называются химические вещества и их
смеси, которые при добавлении их к пересыщенным водным растворам
минеральных солей в соответствующей концентрации предотвращают или
значительно снижают выделение из растворов осадков малорастворимых
солей.
16

17. Ингибиторы солеотложений

hw.tpu.ru
ИНГИБИТОРЫ СОЛЕОТЛОЖЕНИЙ
Ингибиторами солеотложений являются следующие вещества и их смеси:
фосфоновые кислоты (гидроксиэтил-амино-ди(метиленфосфоновая) кислота эффективно ингибирует
осадкообразование СаСО3;
1-гидроксиэтан-(1,1-дифосфоновая),
амино-три(метиленовая)
фосфоновая,
этилендиамин-тетра (метиленовая) фосфоновая, гексаметилендиамин-тетра(метиленфосфоновая), фосфонобутан1,2,4-трикарбоновая кислоты эффективно ингибируют осадкообразование СаСО3 и CaSO4; диэтилентриаминпента(метиленфосфоновая) кислота -BaSO4);
- винилидендифосфоновая кислота и ее соли;
- фосфонаты - эфиры и соли фосфоновых кислот;
- ненасыщенные монокарбоновые и дикарбоновые кислоты;
- винилсульфоновая кислота и ее соли;
- соли и эфиры винилуксусной кислоты;
- виниловые спирты;
- винилхлорид;
- фосфорноватистая кислота;
- акриламид;
- водорастворимые анионные полимеры сложных эфиров акриловой, мета-криловой или цианакриловой кислоты.
17

18. Механизмы действия

hw.tpu.ru
МЕХАНИЗМЫ ДЕЙСТВИЯ
Чаще всего различают 3 механизма действия:
• ингибитор, адсорбируясь на поверхности возникшего зародыша кристалла (центра
кристаллизации), препятствует его дальнейшему росту - так называемый пороговый
механизм (threshold effect) или стабилизирование пересыщенного раствора;
• ингибитор, адсорбируясь на активно растущей поверхности кристалла и на
дефектах кристаллической решетки, останавливает или замедляет рост кристалла, а
также может изменять кристаллическую решетку — ингибирование роста кристаллов;
• ингибитор,
адсорбируясь
на
поверхности
кристаллов,
препятствует
взаимодействию кристаллов между собой и их агрегированию в однородные
отложения — дисперсионный механизм (dispersion).
Индивидуальные вещества, являющиеся ингибиторами солеотложений, проявляют три
механизма действия одновременно, но один из эффектов, как правило, является
превалирующим.
18

19. Противотурбулентные присадки

hw.tpu.ru
ПРОТИВОТУРБУЛЕНТНЫЕ ПРИСАДКИ
Противотурбулентные присадки (ПТП) - это вещества, которые при
добавлении их в небольших количествах к воде или углеводородам (сырая
подготовленная нефть, дизельное топливо и др.), транспортируемым по
трубопроводам, снижают потери энергии в турбулентных потоках.
Применение ПТП позволяет снизить перепад давлений на участке
трубопровода при неизменном расходе жидкости или при постоянном
перепаде давлений увеличить расход. В обоих случаях увеличивается
производительность действующего трубопровода. В зависимости от
конкретных условий и концентрации ПТП производительность
трубопровода может быть увеличена на 10-100 %.
19

20. Противотурбулентные присадки

hw.tpu.ru
ПРОТИВОТУРБУЛЕНТНЫЕ ПРИСАДКИ
В качестве ПТП для углеводородных жидкостей используют высокомолекулярные
полимеры (молекулярный вес (0,3-10)106):
• полиалкилакрилаты и метакрилаты;
• полисилоксаны;
• поливинилалкиловые эфиры;
• полиизобутилен;
• полистирол;
• полиолефины (молекулярный вес (5-10)106 ).
Товарные формы ПТП представляют собой 5-30 %-ные растворы (суспензии)
высокомолекулярных полимеров в углеводородных растворителях (керосин,
минеральные или растительные масла и др.) и работают при концентрациях 10-120г/м3
20

21. Механизм действия ПТП

hw.tpu.ru
МЕХАНИЗМ ДЕЙСТВИЯ ПТП
Общепринятой теории механизма действия ПТП не существует.
Наиболее распространенной является гипотеза о том, что ПТП снижают рассеяние
энергии в турбулентных потоках путем непосредственного механического
взаимодействия с турбулентными возмущениями. В этой теории принимают, что в
турбулентном потоке можно различать три зоны (слоя). В первом слое, соприкасающемся
со стенкой трубопровода, режим течения ламинарный, вектор скорости совпадает с
направлением потока, а модуль скорости возрастает линейно по мере удаления от
стенки. Третий слой - это центральная часть потока (ядро), где режим течения развитый
турбулентный. Большая часть жидкости движется именно в ядре турбулентного потока. В
ядре средняя скорость потока слабо (логарифмически) зависит от удаленности от стенки
трубопровода, а течение вихревое. Между этими двумя слоями расположена так
называемая буферная зона — второй слой, где и происходит формирование завихрений.
Жидкость из второго слоя выбрасывается в ядро потока, вызывая его турбулизацию и
рассеяние энергии в различных направлениях.
21

22. Действие ПТП

hw.tpu.ru
ДЕЙСТВИЕ ПТП
22

23. Технологические особенности подачи ПТП в трубопроводы

hw.tpu.ru
ТЕХНОЛОГИЧЕСКИЕ ОСОБЕННОСТИ ПОДАЧИ ПТП В ТРУБОПРОВОДЫ
1. Высокая вязкость, как правило, выше 100 МПа-с при 20 °С и до 1500 МПа-с при температуре -10 °С.
2. Чувствительность к различного рода гидравлическим препятствиям: при прохождении через насосы
перекачивающих станций, через частично закрытую запорную арматуру при изменении диаметра трубопровода
молекулы ПТП могут изменять свои свойства.
3. Относительно высокая температура застывания (не ниже —15 °С), которая не позволяет складировать ПТП
на открытых площадках в холодное время года. При замерзании продукт приобретает кашеобразную
консистенцию, и для возвращения ему текучести необходимы нагрев и перемешивание.
4. При температуре выше 40 °С многие полимеры, входящие в состав ПТП, существенно изменяют свои
свойства и в ряде случаев становятся непригодными к дальнейшему использованию.
5. Расслоение (при транспортировке и хранении) на полимерную составляющую и растворитель, что
особенно сильно проявляется у ПТП на спиртовой основе даже при небольшом сроке хранения.
6. При контакте с транспортируемыми по трубопроводу углеводородами полимерная составляющая ПТП
разворачивается в линейную макромолекулу. Это нормальное (и желаемое) поведение реагента. Однако если
контакт с углеводородами происходит вне трубопровода, например в плохо промытой расходной емкости ДУ, в
тонких трубках дозировочного оборудования, манометров или расходомеров, это приводит к образованию
клейкой желеобразной субстанции и остановке работы дозировочного оборудования.
23

24. Поглотители кислорода

hw.tpu.ru
ПОГЛОТИТЕЛИ КИСЛОРОДА
Известно, что в воде систем ППД большинства нефтяных
месторождений обнаруживают кислород. Кислород попадает в системы
ППД различными путями:
• с поверхностными или сточными водами, которые по необходимости
закачивают в системы ППД;
• с подтоварной водой, имеющей в резервуарах контакт с атмосферой;
• через негерметичности фланцевых соединений в случае использования
сеноманской воды из водозаборных скважин;
• через негерметичности насосов высокого давления.
24

25. Поглотители кислорода

hw.tpu.ru
ПОГЛОТИТЕЛИ КИСЛОРОДА
В качестве ПК используют следующие вещества:
• бисульфит аммония (NH4HSO3):
О2 +2NH4HSO3 →(NH4)2SO4, +H2SO4;
• сульфит натрия (Na2SO3):
O2+2Na2SO3 → 2Na2SO4;
• гидразин (N2H4):
O2+N2H4 → 2H2O + N2;
• карбогидразин (H6N4CO):
2O2 + H6N4CO -> 3H2O + 2N2 +CO2;
• метилэтилкетоксим (синонимы: 2-бутанон оксим, МЕКО);
• диэтилгидроксиламин (ДЭГА);
• гидрохинон.
25

26. Поглотители сероводорода

hw.tpu.ru
ПОГЛОТИТЕЛИ СЕРОВОДОРОДА
Органические нейтрализаторы часто называют поглотителями сероводорода.
Поглотители сероводорода - это вещества, вступающие в химическую реакцию с
сероводородом и образующие безвредные и термостабильные продукты реакции,
которые не разлагаются с выделением сероводорода при дальнейшей переработке нефти
и газа.
В нефтегазодобывающей промышленности наиболее распространенными являются
поглотители сероводорода на основе триазинов. Триазины представляют собой
шестичленные гетероциклические соединения, содержащие три атома азота в цикле
26

27. Ингибиторы коррозии

hw.tpu.ru
ИНГИБИТОРЫ КОРРОЗИИ

28. Ингибиторы коррозии

Адсорбционный ингибитор коррозии с гидрофильными молекулярными хвостами в сторону от
поверхности металла
hw.tpu.ru
ИНГИБИТОРЫ КОРРОЗИИ

29. Промысловая подготовка высоковязких нефтей

• Промысловая подготовка высоковязкой нефти в
термохимическом режиме
hw.tpu.ru
ПРОМЫСЛОВАЯ ПОДГОТОВКА ВЫСОКОВЯЗКИХ НЕФТЕЙ

30. Промысловая подготовка высоковязких нефтей

Промысловая подготовка высоковязкой нефти с
использованием разбавителя
hw.tpu.ru
ПРОМЫСЛОВАЯ ПОДГОТОВКА ВЫСОКОВЯЗКИХ НЕФТЕЙ

31. Промысловая подготовка высоковязких нефтей

Эффективность обезвоживания сверхвязкой нефти при
воздействии электрического поля
Зависимость удельной электропроводности
сверхвязкой нефти от температуры
hw.tpu.ru
ПРОМЫСЛОВАЯ ПОДГОТОВКА ВЫСОКОВЯЗКИХ НЕФТЕЙ

32. Промысловая подготовка высоковязких нефтей

Сравнение вариантов обезвоживания эмульсии высоковязких
нефтей при электрообработке и увеличенном времени
статического отстаивания
hw.tpu.ru
ПРОМЫСЛОВАЯ ПОДГОТОВКА ВЫСОКОВЯЗКИХ НЕФТЕЙ

33. Промысловая подготовка высоковязких нефтей

Коалесцирующие устройства
hw.tpu.ru
ПРОМЫСЛОВАЯ ПОДГОТОВКА ВЫСОКОВЯЗКИХ НЕФТЕЙ

34. Промысловая подготовка высоковязких нефтей

hw.tpu.ru
ПРОМЫСЛОВАЯ ПОДГОТОВКА ВЫСОКОВЯЗКИХ НЕФТЕЙ

35. Промысловая подготовка высоковязких нефтей

hw.tpu.ru
ПРОМЫСЛОВАЯ ПОДГОТОВКА ВЫСОКОВЯЗКИХ НЕФТЕЙ

36. Промысловая подготовка высоковязких нефтей

Ультразвуковое воздействие
О-1- отстойник; УЗТА-3/30-о –ультразвуковой комплекс ≪Булава≫, УЗК-1,2,3ультразвуковые коалесценторы, ТЭН –нагревательный элемент, 1 – термометр, ман.1 –
манометр, сч.1-3 – счетчики, пр.1-4 пробоотборники, зд,1-8 – задвижки
hw.tpu.ru
ПРОМЫСЛОВАЯ ПОДГОТОВКА ВЫСОКОВЯЗКИХ НЕФТЕЙ

37. Промысловая подготовка высоковязких нефтей

Принципиальная технологическая схема установки подготовки
нефти с применением УЗВ в отстойниках
hw.tpu.ru
ПРОМЫСЛОВАЯ ПОДГОТОВКА ВЫСОКОВЯЗКИХ НЕФТЕЙ

38. Промысловая подготовка высоковязких нефтей

Принципиальная технологическая схема установки подготовки
нефти с применением ультразвуковых коалесценторов
hw.tpu.ru
ПРОМЫСЛОВАЯ ПОДГОТОВКА ВЫСОКОВЯЗКИХ НЕФТЕЙ

39. Промысловая подготовка высоковязких нефтей

Принципиальная технологическая схема установки разделения
устойчивой эмульсии методом испарения воды
hw.tpu.ru
ПРОМЫСЛОВАЯ ПОДГОТОВКА ВЫСОКОВЯЗКИХ НЕФТЕЙ

40. Особенности очистки нефти от хлорорганических соединений (ХОС)

• На современном этапе развития нефтяной отрасли процесс добычи
нефти неизбежно связан с применением различных химических
реагентов, в том числе и композиционных составов на основе
отходов нефтехимических производств, в которых могут
содержаться ХОС.
• Подходы:
• отгон фракции с температурой кипения до 204 °С, в которой
лимитируется содержание органических хлоридов с последующей
ее очисткой и возвратом в нефть;
• удаление ХОС непосредственно из нефти.
hw.tpu.ru
ОСОБЕННОСТИ ОЧИСТКИ НЕФТИ ОТ ХЛОРОРГАНИЧЕСКИХ СОЕДИНЕНИЙ
(ХОС)

41. Особенности очистки нефти от хлорорганических соединений (ХОС)

Методы очистки:
• Обработка раствором, содержащим щелочной или щелочноземельный металл
– способ достаточно сложен для реализации в промышленных масштабах,
поскольку Na является высоко реакционноспособным металлом и основное
требование – отсутствие следов воды в реакционной среде;
• Более приемлем в этом отношении способ, в котором щелочной металл (Na, K,
Li) предварительно реагирует со спиртом, предпочтительно полигликолем, или
его эфиром с образованием алкоголята щелочного металла, являющегося
дегалогенирующим агентом;
• Щелочной реагент в присутствии одноатомного спирта или его производного,
также имеющего свободную гидроксильную группу, дезактивирует
органилгалогенид;
• Каталитическое дегалогенирование полихлор- и полибромгетероциклических
соединений под действием гидроксида щелочного металла в присутствии
спирта и каталитического количества палладия на углероде осуществляется при
температуре 50–150 °С
hw.tpu.ru
ОСОБЕННОСТИ ОЧИСТКИ НЕФТИ ОТ ХЛОРОРГАНИЧЕСКИХ СОЕДИНЕНИЙ
(ХОС)

42. Природный газ

hw.tpu.ru
ПРИРОДНЫЙ ГАЗ
Природный газ — полезное горючее ископаемое, смесь газов, образовавшихся в недрах
Земли, в пластовых условиях находящийся в газообразном состоянии в виде отдельных
скоплений, в виде газовой шапки нефтегазовых месторождений, или в растворённом
состоянии в нефти или воде.
Месторождение
Относительная
плотность
CH4
C2H6
C3H8
C4H10
C5+
CO2
H2S
N2
98,4
0,1
-
-
-
0,3
-
1,2
0,56
89,3
4,9
1,6
0,9
2,7
0,2
-
0,4
0,66
98,6
0,1
-
-
-
0,1
-
1,2
0,57
90,2
4,3
1,5
0,7
2,0
0,9
-
0,4
0,63
Харасавейское
96,6
2,3
0,1
0,2
-
0,3
-
0,5
0,57
Шебелинское
92,0
4,0
1,1
0,5
0,3
0,1
-
2,0
0,61
Оренбургское
81,4
4,0
1,6
1,1
2,0
1,1
2,0
6,8
0,68
Мессояхское
97,6
0,1
0,1
-
-
0,6
-
1,6
0,57
Лак (Франция)
64,9
2,8
1,2
0,7
0,9
9,7
15,3
-
0,77
Эмори (США)
39,6
6,4
2,9
2,1
0,7
4,8
42,4
1,0
0,95
Самотлорское
86,5
3,2
2,6
3,9
3,1
0,5
-
0,2
0,86
68,0
4,4
9,6
7,8
4,1
0,5
-
5,6
1,1
89,1
4,8
1,7
1,6
0,7
0,1
-
2,0
0,79
49,2
15,8
16,8
9,4
5,6
0,7
-
2,5
1,3
76,1
12,1
5,3
4,0
2,2
0,1
-
0,2
0,93
Уренгойское
Природный газ –
газ месторождений:
• газовых;
• газоконденсатных;
• нефтегазовых.
Объемное содержание компонентов, %
Ямбургское
Усинское
Марковское
42

43. Состав природных газов и газовых конденсатов

hw.tpu.ru
СОСТАВ ПРИРОДНЫХ ГАЗОВ И ГАЗОВЫХ КОНДЕНСАТОВ
Природные газы
Газы чисто газовых
месторождений
(сухой газ)
Попутные нефтяные
газы (ПНГ)
Газы газоконденсатных
месторождений
43

44. Природные газы

hw.tpu.ru
ПРИРОДНЫЕ ГАЗЫ
Государство
Месторождение
Год открытия
Запасы, трлн. м3
Регион
Катар Иран
Северное/Южный Парс
1991
28
Персидский залив
Туркмения
Галкыныш (Южный Иолотань)
2006
21,4
Мургаб
Россия
Уренгой
1966
10,2
Западная Сибирь
США
Хейнсвиль
7
Мид Континент
Россия
Ямбургское
1969
5,2
Западная Сибирь
Россия
Бованенковское
1971
4,9
Ямал и Карское море
США
Маркеллус
4,4
Предаппалачский
Россия
Штокмановское
1988
3,9
Баренцево море
Россия
Астраханское, Центрально-Астраханское
1976
3,8
Прикаспийская впадина
КНР
Дачжоу
2008
3,8
Сычуань
Россия
Заполярное
1965
3,3
Западная Сибирь
Россия
Ленинградское
1992
3
Карское море
Россия
Русановское
1992
3
Карское море
США
Пойнт Томсон
1965
3
Аляска
Перспектива (в России):
- создание новой сырьевой базы в Восточной Сибири и Якутии (например, Ковыктинское и Чаяндинское газовые
месторождения);
Однако, в настоящее время использование полезных компонентов газа в нашей стране не полностью отвечает
потенциальным возможностям сырьевой базы и не полностью соответствует мировой практике: за последние 35 лет
запасы конденсата возросли в 100 раз, а его выделение не превышает 35 млн.т/год (2016 г.), зарубежом - 471
млн.т/год (2014 г.).
44

45. КОМПОНЕНТНЫЙ СОСТАВ ГАЗА

hw.tpu.ru
КОМПОНЕНТНЫЙ СОСТАВ ГАЗА
45

46. ЛИНЕЙКА ТОВАРНЫХ ПРОДУКТОВ, ПОЛУЧАЕМЫХ ИЗ ГАЗА

hw.tpu.ru
ЛИНЕЙКА ТОВАРНЫХ ПРОДУКТОВ, ПОЛУЧАЕМЫХ ИЗ ГАЗА
46

47. Состав природных и попутных газов

hw.tpu.ru
СОСТАВ ПРИРОДНЫХ И ПОПУТНЫХ ГАЗОВ
Метан до 99%.
С2-С4 1,5-7,0%
СОСТАВ:
Н-пентан и высшие н-алканы 1-3%.
Бутан и изобутан 4-7% Пропан 7-22%
Этан 10-26% Метан 30-80%
Сероводород, диоксид углерода,
инертные газы
47

48. Природный газ: термины

hw.tpu.ru
ПРИРОДНЫЙ ГАЗ: ТЕРМИНЫ
Горючие газы/Горючие природные газы — природный газ, пригодный для
использования в качестве топлива;
Сухой газ — природный горючий газ, характеризующийся высоким
содержанием метана;
Влажный газ — неосушенный природный газ или газ со значительным
содержанием жидких УВ;
Тощий газ — природный горючий газ, характеризующийся низким
содержанием УВ С3+ (С2+) (читай, высоким содержанием метана);
Жирный газ — природный горючий газ, характеризующийся высоким
содержанием УВ С3+ (С2+).
48

49. Природный газ: термины

hw.tpu.ru
ПРИРОДНЫЙ ГАЗ: ТЕРМИНЫ
• Газовый фактор – отношение объемов полученного из
скважины газа и добытой за то же время нефти, приведенных
к атмосферному давлению и температуре 20°С.
• Конденсатосодержание – отношение объема конденсата,
растворенного в газе, к объему газа в стандартных условиях
49

50. Сравнение попутного нефтяного газа и газового конденсата

Смесь, добываемая на нефтегазовом месторождении
Попутный нефтяной газ (газовая фаза)
Нефть (жидкая фаза)
hw.tpu.ru
СРАВНЕНИЕ ПОПУТНОГО НЕФТЯНОГО ГАЗА И ГАЗОВОГО КОНДЕНСАТА
Смесь, добываемая на газоконденсатном
месторождении
Природный газ (газовая фаза)
Газовый конденсат
(жидкая фаза)
50

51. Нежелательные примеси

hw.tpu.ru
НЕЖЕЛАТЕЛЬНЫЕ ПРИМЕСИ
К числу нежелательных химических примесей,
углеводородных газовых смесях относятся:
содержащихся
в
- токсичные;
- коррозионно-агрессивные серосодержащие соединения;
- негорючие инертные газы, снижающие теплоту сгорания углеводородного газа.
Среди серосодержащих примесей чаще всего присутствуют сероводород
(H2S), серооксид углерода (СОS), сероуглерод (СS2) меркаптаны (CnH2n-1-SH),
а в газовом конденсате – также сульфиды (R-S-R) и дисульфиды (R-S-S-R).
•В состав инертных газов входят диоксид углерода, азот и гелий.
51

52. Почему нужно удалять эти соединения?

hw.tpu.ru
ПОЧЕМУ НУЖНО УДАЛЯТЬ ЭТИ СОЕДИНЕНИЯ?
Меркаптаны, COS и сероводород – токсичные вещества, обладают
отвратительными запахами, вызывают раздражение слизистых оболочек
Меркаптаны, сероуглерод, сероводород, диоксид углерода, особенно, во
влажной среде вызывают коррозию с образованием меркаптидов, сульфидов и
карбонатов
Меркаптаны, сульфиды, кислородсодержащие соединения являются ядами для
катализаторов газо- и нефтепереработки
Меркаптаны и сероводород можно утилизировать с целью получения
элементарной серы
CO2 и H2S снижают теплоту сгорания газообразного топлива, являются балластом
при перекачке газа
52

53. Свойства сернистых соединений

hw.tpu.ru
СВОЙСТВА СЕРНИСТЫХ СОЕДИНЕНИЙ
Тиол
Температура
кипения R-SH, °C
H2S
- 60,4
CH3SH
5,9
C2H5SH
35,0
C3H7SH
67,7
Сернистые соединения присутствуют в
природных и попутных нефтяных газах
как на стадии добычи из скважины, так
и образуются в ходе переработки.
Наименование показателя
Выдержка из ГОСТ 20448-90 «Газы
углеводородные сжиженные топливные
для коммунально-бытового потребления»
Норма для марки
ПТ
СПБТ
БТ




4. Массовая доля сероводорода и
меркаптановой серы, %, не более
0,013
0,013
0,013
в том числе сероводорода, не более
0,003
0,003
0,003




53

54. Составы газов (содержание S)

hw.tpu.ru
СОСТАВЫ ГАЗОВ (СОДЕРЖАНИЕ S)
От сероводорода очищают:
- природный газ,
- попутный нефтяной газ,
- газы различных нефтеперерабатывающих и нефтехимических
процессов (гидроочистки, крекинга, риформинга, пиролиза и др.).
Например:
- природные газы Оренбургского месторождения содержат 4—6%
сероводорода,
- Астраханского—25%,
- Харметтен, Пантер-Ривер и Барберри в Канаде - 50 - 70% (об.)
- Газы нефтепереработки и нефтехимии могут содержать от 0,5 до 15%
сероводорода.
Более 30% мирового производства S - из природных газов, богатых
сероводородом; более 5 млн.т/год S производят в настоящее время
Оренбургский и Астраханский ГПЗ
54

55. Газовые конденсаты

hw.tpu.ru
ГАЗОВЫЕ КОНДЕНСАТЫ
По высокому содержанию серы резко
выделяются конденсаты Оренбургского
(1,18%)
и
Астраханского
(1,37%)
месторождений.
Газовые конденсаты наряду с
парафиновыми у/в содержат
нафтеновые и ароматические у/в
Газоконденсаты являются существенным
ресурсом у/в сырья. Однако в России
извлечение конденсата от потенциала
не превышает 50-60%
В развитых капиталистических странах,
обладающих
крупными
газоконденсатными месторождениями
(США, Канада), отбор - до 95%
55

56. Свойства компонентов природных газов

Физико-химические свойства и применение СПГ
hw.tpu.ru
СВОЙСТВА КОМПОНЕНТОВ ПРИРОДНЫХ ГАЗОВ
56

57. Метан

Физико-химические свойства и применение СПГ
hw.tpu.ru
МЕТАН
- Наиболее устойчивый и инертный УВ (отсутствие связи С-С) – температура
разложения на 200 °С выше, чем у С2 (при том что между С2 и С3 25 °С);
- Обладает слабым наркотическим действием, практически неопасен для
здоровья человека (помимо своей взрывоопасности) в виду ничтожной
растворимости в воде и плазме крови;
- Без цвета, без запаха.
57

58. Метан

Физико-химические свойства и применение СПГ
hw.tpu.ru
МЕТАН
ингибиторы
Химические свойства:
- Окисляется кислородом воздуха со взрывом, ОЧм=110;
- Реакции замещения с галогенами;
- Дегидрирование до этилена/ацетилена (при t > 1400 °С);
- В водных растворах окисляется до муравьиной кислоты (150-200 °C, давление 3-9
МПа);
- Конверсия метана в синтез-газ (каталитическая – 800-900 °С, некаталитическая – 14001600 °С) – характеристическая реакция;
- Пиролиз метана при t > 1600 °C.
Ar
He
N2
CO2
H2O
58

59. Основные понятия

Физико-химические свойства и применение СПГ
hw.tpu.ru
ОСНОВНЫЕ ПОНЯТИЯ
Уравнение состояния (в газохимии): уравнение, устанавливающее связь между объемом газа, давлением
и температурой f(p,V,T)=0.
Мольный (молярный) объем газа: объем одного моля газа, Vm, м3/моль;
Наиболее распространенная задача практических расчетов в газовой отрасли – верная оценка
мольного объема газа при определенных (T, p).
Критические параметры: давление и температура (Tс, pс) в критической точке (т.е. когда исчезает различие
в свойствах жидкой и газообразной фаз вещества).
Для понимания:
- При температурах выше критической,
вещество не может быть сжижено
ни при каком сколь угодно большом
давлении;
- При давлениях выше критического,
жидкость и газ не могут сосуществовать,
независимо от величины температуры;
59

60.

Влияние
3
Увеличивает затраты на транспортировку за счет
увеличения вязкости и плотности.
Снижение температуры самовоспламенения
Изменение концентрационного предела
распространения пламени
Увеличение скорости распространения пламени
Пропан С3Н8, горючий углеводород без цвета и
запаха, ценное химическое сырье
Среди газообразных УВ ряда:
Средняя теплоемкость
Средняя энтальпия испарения
Средняя плотность
Средняя вязкость
hw.tpu.ru
№ Компон
Особенности
п/ ент
п
1 Метан СН4, горючий углеводород без цвета и
запаха.
Среди газообразных УВ ряда:
Наибольшая теплоемкость
Наименьшая энтальпия испарения
Наименьшая плотность
Наибольшая вязкость
2 Этан
С2Н6, горючий углеводород без цвета и
запаха, ценное химическое сырье
Среди газообразных УВ ряда:
Средняя теплоемкость
Средняя энтальпия испарения
Средняя плотность
Средняя вязкость
Основной компонент природного газа, базовые
свойства природного газа определяются свойства
метана
Увеличивает затраты на транспортировку за счет
увеличения вязкости и плотности.
Снижение температуры самовоспламенения
Изменение концентрационного предела
распространения пламени
Увеличение скорости распространения пламени
60

61.

hw.tpu.ru
4
5
Бутан,
С4Н10, горючий углеводород без цвета и Увеличивает затраты на транспортировку за счет
изобутан запаха, ценное химическое сырье
увеличения вязкости и плотности.
Среди газообразных УВ ряда:
Снижение температуры самовоспламенения
Наименьшая теплоемкость
Изменение концентрационного предела
Наибольшая энтальпия испарения
распространения пламени
Наибольшая плотность
Увеличение скорости распространения пламени
Наименьшая вязкость
Пентан и С5Н12, горючий углеводород, жидкий
Возможно выпадение в качестве капельной жидкости.
тяжелые при нормальных условиях, высокая
Повышенное пенообразование при очистке от
УВ
плотность, низкая вязкость.
сероводорода.
5
Пентан и С5Н12, горючий углеводород, жидкий
тяжелые при нормальных условиях, высокая
УВ
плотность, низкая вязкость.
Возможно выпадение в качестве капельной жидкости.
Повышенное пенообразование при очистке от
сероводорода.
6
Углекисл СО2, не горюч, высокая растворимость
ый газ
в воде, образует угольную кислоту.
7
Сероводо H2S, высокотоксичный горючий газ,
род
каталитический яд.
Коррозионный агент,
Увеличивает содержание паров воды в газе,
Уменьшение теплоты сгорания топлива
Коррозионный агент,
Каталитический яд,
Чрезвычайно токсичный газ
Увеличивает содержание паров воды в газе
61

62.

hw.tpu.ru
8
Азот
N2, плотность выше, чем у УВ газов, Уменьшает содержание паров воды в газе.
инертен.
Снижает теплотворную способность газа.
9
Гелий
Не, значительно плотность выше,
чем у УВ газов, инертен.
Ценнейший компонент
Положительного и отрицательного влияния нет,
концентрации незначительны.
10 Вода
Коррозионный агент, входит в
состав газовых гидратов, инертна,
негорюча.
В больших количествах – балласт при транспортировке.
В малых количествах:
Образование газовых гидратов;
При замерзании образуется твердая фаза;
Коррозионная активность (совместно с CO2 и H2S);
Нарушение технологического режима транспорта и
подготовки газа – капельная жидкость в оборудовании
11 Твердые Различные минаретные примеси,
частицы окалины и т.д.
Эрозионный износ трубопроводов
Механическое повреждение оборудования
62

63. Идеальный газ vs Реальный газ

hw.tpu.ru
ИДЕАЛЬНЫЙ ГАЗ VS РЕАЛЬНЫЙ ГАЗ
Идеальный газ
Реальный газ
1. Объем молекул незначителен по сравнению с
общим объемом газа;
При повышении давления повышается плотность →
объемом молекул относительно объема газа
нельзя пренебречь!!!
2. Между молекулами газа (а также между
молекулами газа и стенками сосуда) нет сил
притяжения и отталкивания;
Гравитационные силы (в т.ч. и Ван-дер-Ваальсовы)
имеют место быть всегда → чем чаще молекулы
сталкиваются, тем выше вклад этих сил!!!
3. Все столкновения молекул являются абсолютно
упругими (изменение внутренней энергии
отсутствует).
Молекулы не идеально шарообразные →
столкновения не идеально упругие, происходит
перераспределение внутренней энергии
Уравнение состояния идеального газа
Уравнение состояния реального газа
pV=nRT
pV=znRT
Коэффициент сжимаемости
z=f(p,V)
В общем случае: должны применяться при невысоких
давлениях и средних температурах
Должны применяться при высоких давлениях и низких
температурах, т.е. вблизи точки конденсации
63

64. Свойства индивидуальных компонентов газа

hw.tpu.ru
СВОЙСТВА ИНДИВИДУАЛЬНЫХ КОМПОНЕНТОВ ГАЗА
(101325
Па, 0 °С)
Молекулярн Коэффициен
ая масса
т
сжимаемост
и
Мольный
объем,
л/моль
Плотность
реального газа,
кг/м3
Отн. плотность Критическая
Критическое
реального газа температура, К давление, атм
Температура
кипения при 1
атм, °С
CO
28,01
0,999
22,398
1,25
0,967
126,2
34,0
-191,51
Водород
2,016
1,0
22,425
0,089
0,069
32,98
12,9
-252,75
Метан
16,043
0,997
22,36
0,715
0,554
190,56
45,9
-161,49
Этан
30,07
0,99
22,19
1,355
1,048
305,33
48,7
-88,6
Пропан
44,097
0,978
21,941
2,009
1,554
369,85
42,5
-42,08
Н-Бутан
58,123
0,957
21,455
2,709
2,095
425,16
38,0
-0,51
Изобутан
58,123
0,958
21,473
2,706
2,093
407,85
36,4
-11,79
Н-Пентан
72,15
0,918
20,576
3,506
2,712
469,71
33,7
36,07
Азот
28,013
0,999
22,403
1,25
0,967
132,92
35,0
-195,81
Гелий
4,003
0,999
22,408
0,178
0,138
5,19
2,3
-268,93
CO2
44,010
0,993
22,264
1,976
1,528
304,21
73,8
-78,48
O2
31,999
0,999
22,392
1,429
1,105
154,58
50,4
-182,96
H2S
34,082
0,990
22,19
1,535
1,187
373,53
90,0
-60,27
H2O (г)
18,015
0,930
20,845
0,864
0,668
647,14
220,6
100,00
Воздух
28,961
0,999
22,403
1,292
1
-
-
64

65.

газ
hw.tpu.ru
Плотность:
- Абсолютная плотность, кг/м3: при н.у. составляет 0,7-3,0 кг/м3;
- Относительная плотность: эталон – воздух, имеющий 1,292 кг/м3 при 0 °С, 101325
Па (состав воздуха: об. %, N2 – 78,084; O2 – 20,945; Ar – 0,093; CO2 – 0,031 + Ne, Kr,
CH4, He, H2, Xe; молярная масса – 28,98 г/моль);
- При одинаковых (p, T)
zвозд M газ
zгаз M возд
Температура кипения:
- Обязательно учитывать давление (!);
- Давление насыщенных паров: давление,
создаваемое парами жидкости, находящимися
с ней в состоянии равновесия;
Критические параметры (температура,
давление, объем):
– определяют условия сжижения газов;
65

66.

hw.tpu.ru
Особое влияние на величину вязкости газа оказывает
азот. При содержании в углеводородном газе более 5 %
азота следует учитывать его влияние на вязкость газа и
оценивать средневзвешенную вязкость смеси по принципу
аддитивности:
смеси N азота азота 1 N азота УВ
μсм – динамическая вязкость смеси газов;
μазота и μУВ – динамические вязкости азота и углеводородов;
Nазота – молярная доля азота в составе газа.
66

67. Растворимость газов в нефти зависит от:

hw.tpu.ru
РАСТВОРИМОСТЬ ГАЗОВ В НЕФТИ ЗАВИСИТ ОТ:
• Давления: с ростом давления растворимость газов растет до
определенного значения, но это справедливо при низких давлениях.
• Температуры: с ростом температуры растворимость углеводородных
составляющих газа в нефти снижается.
• Природы газа: при высоком содержании ароматических углеводородов
в нефти растворимость в ней углеводородных газов снижается.
• Свойств нефти, обусловленных различными фракционными и
углеводородными составами: с ростом содержания парафиновых
углеводородов растворимость газов возрастает
67

68. Газовый конденсат

hw.tpu.ru
ГАЗОВЫЙ КОНДЕНСАТ
Газовые конденсаты:
-смесь тяжелых УВ (иногда называемая широкой фракцией легких
углеводородов (ШФЛУ) или газовым бензином), выделяемая из газа перед
отправкой в магистральные газопроводы;
-жидкая смесь тяжелых УВ, выносимая газом из скважин в капельном виде и
отделяемая от газа различными методами.
Конденсат газовый стабильный (КГС) - газовый конденсат, получаемый путем
очистки нестабильного газового конденсата от примесей и выделения из него
углеводородов С1-С4. (ГОСТ Р 54389-2011 Конденсат газовый стабильный.
Технические условия)
Как химическое сырье (аналог нефти) ГК оценивали по ОСТ 51.58-79 Конденсаты
газовые. Технологическая классификация.
В СССР было принято называть ГК - С5+ (согласно форме статистической
отчетности 34 ТП «Отчет по эксплуатации газовых скважин»).
68

69. Нормативная документация

hw.tpu.ru
НОРМАТИВНАЯ ДОКУМЕНТАЦИЯ
ГОСТ 5542-2022 Газы горючие природные промышленного и
коммунально-бытового назначения. Технические условия.
Наименование показателя
1 Молярная доля компонентов (компонентный состав), %
Норма
не менее
не более
Не нормируют, определение обязательно
2 Молярная доля кислорода, %
-
0,050
3 Молярная доля диоксида углерода, %
-
2,5
4 Массовая концентрация сероводорода, г/м
-
0,020
5 Массовая концентрация меркаптановой серы, г/м
-
0,036
6 Объемная теплота сгорания низшая, МДж/м (ккал/м)
31,80 (7600)
-
7 Число Воббе высшее, МДж/м (ккал/м)
41,20 (9840)
54,50 (13020)
-
5
8 Отклонение числа Воббе от номинального значения, %
9 Плотность, кг/м
Не нормируют, определение обязательно
10 Температура точки росы по воде, °С
Ниже температуры газа в точке отбора пробы
11 Температура точки росы по углеводородам, °С
Ниже температуры газа в точке отбора пробы
12 Массовая концентрация механических примесей, г/м
-
0,001
13 Интенсивность запаха, балл
3
-
69

70. Нормативная документация

hw.tpu.ru
НОРМАТИВНАЯ ДОКУМЕНТАЦИЯ
СТО Газпром 089-2010 Газ горючий природный, поставляемый и транспортируемый по магистральным газопроводам.
Технические условия
Наименование показателя
1. Компонентный состав, молярная доля, %
2. Точка росы газа по воде (ТТРв) при абсолютном давлении 3,92 МПа, ° С, не выше:
Зимний период
Летний период
2. Точка росы газа по углеводородам (ТТРув) при абсолютном давлении от 2,5 до 7,5 МПа ° С, не
выше:
Зимний период
Летний период
4. Массовая концентрация сероводорода, г/м3, не более
5. Массовая концентрация меркаптановой серы, г/м3, не более
6. Массовая концентрация общей серы, г/м3, не более
7. Теплота сгорания низшая, МДж/м3, при СУ, не менее
8. Молярная доля кислорода, %, не более
Значение для макроклиматических районов
Умеренный
Холодный
Определение обязательно
-10
-10
-20
-14
-2
-2
-10
-5
0,007
(0,02)
0,016
(0,036)
0,030
(0,070)
31,8
0,02
9. Молярная доля диоксида углерода, %, не более
2,5
10. Массовая концентрация механических примесей, г/м3, не более
0,001
11. Плотность при стандартных условиях, кг/м3
Не нормируется, определение обязательно
70

71. Нормативная документация

hw.tpu.ru
НОРМАТИВНАЯ ДОКУМЕНТАЦИЯ
ГОСТ Р 52087-2018 Газы углеводородные сжиженные топливные. Технические
условия
Марка
Наименование
Код ОКП
ПТ
Пропан технический
02 7236 0101
ПА
Пропан автомобильный
02 7239 0501
ПБА
Пропан-бутан автомобильный
02 7239 0502
ПБТ
Пропан-бутан технический
02 7236 0102
БТ
Бутан технический
02 7236 0103
71

72. Нормативная документация

hw.tpu.ru
НОРМАТИВНАЯ ДОКУМЕНТАЦИЯ
Наименование показателя
1 Массовая доля компонентов, %:
Норма для марки
ПБА
Не нормируется.
- сумма метана, этана и этилена
Определение обязательно
ПТ
ПА
- сумма пропана и пропилена, не менее
75
-
-
в том числе пропана
-
85±10
50±10
- сумма бутанов и бутиленов:
Не нормируется.
Определение обязательно
ПБТ
БТ
Не нормируется. Определение
обязательно
-
-
-
-
не более
-
-
-
60
-
не менее
-
-
-
-
60
- сумма непредельных углеводородов, не более
-
6,0
6,0
-
-
2 Объемная доля жидкого остатка при температуре 20°С,%, не
более
0,7
0,7
1,6
1,6
1,8
72

73. Нормативная документация

hw.tpu.ru
НОРМАТИВНАЯ ДОКУМЕНТАЦИЯ
Наименование показателя
ПТ
ПА
+45°С, не более
1,6
1,6
-20°С, не менее
0,16
-30°С, не менее
4 Массовая доля сероводорода и меркаптановой серы, %, не
более
0,013
Норма для марки
ПБА
ПБТ
БТ
1,6
1,6
1,6
-
0,07
-
-
0,07
0,01
0,01
0,013
0,013
3
3
-
-
-
-
3 Давление насыщенных паров избыточное, МПа, при
температуре:
в т.ч. сероводорода, не более
5 Наличие свободной воды и щелочи
6 Интенсивность запаха, баллы, не менее
0,003
Отсутствие
3
7 Запах
-
8 Октановое число, не менее
-
Характерный неприятный при концентрации в воздухе
20% об. от нижнего предела воспламеняемости
89
73

74. Осушка природных углеводородных газов

hw.tpu.ru
ОСУШКА ПРИРОДНЫХ УГЛЕВОДОРОДНЫХ ГАЗОВ
Осушка охлаждением
Абсорбционная осушка
Осушка газа впрыском гликоля
Адсорбционная осушка
74

75.

hw.tpu.ru
Осушка охлаждением
При охлаждении газа при постоянном
давлении избыточная влага
конденсируется, а точка его росы снижается
Используется обычно в комбинации с
другими методами для
предварительного удаления
основного количества влаги
Абсорбционная осушка
Наиболее
распространенный
процесс при
подготовке газа к
транспорту (в
России более 70%
добываемого газа)
Основана на селективном
поглощении паров воды жидкими
сорбентами. Первоначально
использовали этиленгликоль и
глицерин, в дальнейшем - менее
летучие - диэтиленгликоль (ДЭГ) и
триэтиленгликоль (ТЭГ)
Установки осушки газа
с использованием
жидких поглотителей
(гликолей) бывают двух
типов: с
барботажными
аппаратами и с
впрыском гликоля в
поток газа
75

76.

hw.tpu.ru
Распыление
гликоля
производится
в
аппарате, диаметр кот. близок к диаметру
подводящего газопровода. Эффективность
процесса определяется степенью распыления
раствора
форсунками.
Наилучший
массообмен – при впрыске гликоля навстречу
газовому потоку
Осушка газа впрыском
гликоля
Используют
70-85%-ный
раствор
ЭГ.
Оптимальная т-ра 15-30ºС. При низких т-рах
сказывается
вязкость
гликолей,
при
высоких – увеличивается упругость паров
гликолей и возрастают потери
Процесс осушки в каждой ступени проходит в
конусе форсунки в момент образования капель
гликоля и заканчивается в объеме аппарата и
сепараторе.
В состав установки входят три основных узла:
впрыск гликоля, трехфазный разделитель и
регенерация гликоля
Метод впрыска в сочетании с
охлаждением газа позволяет
значительно понижать точку росы, а
также использовать в качестве
осушителя гликоли с конц.70-80%.
Недостаток - большие
потери осушителя с газовым
конденсатом.
76

77. Осушка газов. Общие положения

Подготовка газа к сжижению
hw.tpu.ru
ОСУШКА ГАЗОВ. ОБЩИЕ ПОЛОЖЕНИЯ
Влагоемкость (влагосодержание, ВС) газа - это количество паров воды (в г/м3) в
состоянии их насыщения (max) при данных температуре и давлении.
Абсолютная влажность газа - это фактическое содержание паров воды (в г/м3 газа).
Относительная влажность – это отношение массы водяного пара, фактически
находящегося в газовой смеси, к массе насыщенного пара, который мог бы находиться в
данном объеме при тех же давлении и температуре, т.е. это отношение абсолютной
влажности к влагосодержанию.
Относительную влажность
также выражают отношением парциального давления
водяных паров в газе к давлению насыщенного пара при той же температуре.
* Квалифицированная первичная переработка нефтяных и природных углеводородных газов / М. А. Берлин, В. Г. Гореченков, В. П. Капралов. — Краснодар: Советская Кубань, 2012. — 515 с.
77

78. Осушка газов. Общие положения

Подготовка газа к сжижению
hw.tpu.ru
ОСУШКА ГАЗОВ. ОБЩИЕ ПОЛОЖЕНИЯ
Обычно, глубина осушки (остаточное содержание влаги) регламентируется температурой
точки росы.
Температура точки росы (точка росы) - это температура при данном давлении, при
которой пары жидкости приходят в состояние насыщения, т.е. это наивысшая
температура, при которой при данном давлении и составе газа могут конденсироваться
капли жидкости. Чем глубже осушка, тем ниже точка росы: (–20 до –70) °С.
Точка росы по воде — характеризует конденсацию воды из газа.
Точка росы по углеводородам — характеризует конденсацию УВ из газа.
Абсолютная точка росы — это температура, при которой из газа начинает выделяться
жидкая фаза (любого состава).
Депрессия точки росы — это разность точек росы влажного и осушенного газа.
Точка росы должна быть ниже температур технологической переработки и
транспорта газа!!!
78

79.

Абсорбционная осушка
79

80. Абсорбционная осушка газов

Подготовка газа к сжижению
hw.tpu.ru
АБСОРБЦИОННАЯ ОСУШКА ГАЗОВ
Остаточное давление
– 200 мм Hg
Температура
контакта – 10-20 °С
Температура в
испарителе – 160 °С
А-201 – колонна диам. 1,6 м., высота 16 м, имеет 3 секции: сепарационную, массообменную и секцию улавливания гликоля.
Концентрация воды в: РДЭГ – 1,4-1,8 %; НДЭГ – 5-7 %;
Расход газа – 1,2-1,3 млн. м3/ч (проектные - 3 млн. м3/ч)
Подача РДЭГ – 4 кг/млн. м3
Точка росы по влаге – (-18)-(-22) °С
80
Дополнительно (не для этой установки): перепад давлений в абсорбере – 35-70 кПа; КПД тарелок (абсорбер) – 25-30; десорбер –
насадка, эквивалентная 3-4 тарелкам; время пребывания в выветривателе – 10-20 минут;

81. Абсорбционная осушка

Подготовка газа к сжижению
hw.tpu.ru
АБСОРБЦИОННАЯ ОСУШКА
Основные факторы процесса:
Повышение давления снижает влагосодержание газа и, следовательно,
уменьшает количество раствора, которое необходимо подавать на осушку.
В значительной степени осушка зависит от температуры контакта газ
- абсорбент. Повышение температуры контакта увеличивает
парциальное давление воды над абсорбентом и тем самым повышает точку
росы осушаемого газа; также возрастают потери гликолей от испарения.
Нижняя граница обусловлена снижений влагопоглощающей способности изза повышения вязкости.
Как правило: 10-38 °С.
81

82. Абсорбционная осушка

Подготовка газа к сжижению
hw.tpu.ru
АБСОРБЦИОННАЯ ОСУШКА
Основные факторы процесса:
Параметры абсорбента:
-кратность абсорбента, т. е. количество гликоля, циркулирующее в
системе, на 1 кг извлекаемой влаги (10-35 для ТЭГ);
-концентрация абсорбента: чем меньше воды содержится в абсорбенте,
тем ниже точка росы осушаемого газа;
-Температура разложения абсорбента/температура десорбции - 164°С
(ДЭГ) и 206°С (ТЭГ). При концентрации гликоля 96-97% депрессия точки
росы не более 30°С, при 99% - не более 40°С, при 99,5% - 50-70°С.
82

83. Абсорбционная осушка

Подготовка газа к сжижению
hw.tpu.ru
АБСОРБЦИОННАЯ ОСУШКА
Основные факторы процесса:
Природа абсорбента и его концентрация:
-потери гликоля:
-с механическим уносом;
-разложением;
-окислением при регенерации;
-испарением в потоке осушенного и отпарного газов;
-уносом с конденсатом воды и ее парами, выходящими с верха десорбера;
-за счет растворения в углеводородном конденсате.
Чем тяжелее гликоль тем ниже потери.
83

84. Абсорбционная осушка газов

Подготовка газа к сжижению
hw.tpu.ru
АБСОРБЦИОННАЯ ОСУШКА ГАЗОВ
1) Требования к осушителям.
2) Применяемые осушители.
Диэтиленгликоль
Триэтиленгликоль
3) Основные показатели (сравнение ДЭГ и ТЭГ):
- Депрессия точки росы
84

85. Абсорбционная осушка газов

Подготовка газа к сжижению
hw.tpu.ru
АБСОРБЦИОННАЯ ОСУШКА ГАЗОВ
Основные показатели (сравнение ДЭГ и ТЭГ):
1) Потери гликолей:
При температурах контакта 10-20 °С потери составляют:
- 0,2-1,5 г ТЭГ на 1000 м3 переработанного газа;
- 1-5 г ДЭГ на 1000 м3 переработанного газа;
2) Регенерация насыщенных растворов:
ТЭГ имеет более высокую Т начала разложения – 206 °С, чем ДЭГ – 164 °С, значит:
- без применения вакуума раствор ТЭГ можно концентрировать сильнее – возрастает
поглотительная способность;
- ДЭГ нельзя нагревать свыше 164 °С, значит в насыщенном растворе останется часть
конденсата УВ – ухудшится его поглотительная способность (на практике max
концентрация ДЭГ – 95 %);
Значит, ТЭГ – лучший выбор?
Недостатки ТЭГ:
- Высокая склонность к пенообразованию при наличии УВ-конденсата;
- Растворимость УВ в ТЭГ выше, чем в ДЭГ;
85

86. Абсорбционная осушка газов

Подготовка газа к сжижению
hw.tpu.ru
АБСОРБЦИОННАЯ ОСУШКА ГАЗОВ
Основные технологические параметры:
1) Давление – проект., как правило, до 7,4 МПа; с падением пластового давления:
- увеличивается степень извлечения влаги;
- требуется стр-во ДКС (до или после абсорбера);
86

87. Абсорбционная осушка газов

Подготовка газа к сжижению
hw.tpu.ru
АБСОРБЦИОННАЯ ОСУШКА ГАЗОВ
Основные технологические параметры:
2) Температура – чем ниже Т газа (Т контакта), тем меньше его равновесная
влагоемкость – требуется меньший расход абсорбента – снижаются затраты на
перекачку и аппараты – но выше вязкость раствора;
87

88.

Адсорбционная осушка
88

89. Адсорбционная осушка

Подготовка газа к сжижению
hw.tpu.ru
АДСОРБЦИОННАЯ ОСУШКА
Когда применять?
- Для достижения высокой депрессии ТР (100-120 °С),
- Для обеспечения глубокой осушки газа -85-(-100) °С;
Требования к осушителю:
-должен быстро поглощать влагу из газа;
-легко регенерироваться;
-выдерживать многократную регенерацию без существенной потери
активности и прочности;
-иметь высокую механическую прочность и поглотительную способность;
-оказывать малое гидравлическое сопротивление газу;
-иметь невысокую стоимость.
89

90. Адсорбционная осушка

Подготовка газа к сжижению
hw.tpu.ru
АДСОРБЦИОННАЯ ОСУШКА
Показатели
Бокситы
Глиноземы
Гели
Цеолиты
Форма частиц
Разная
Ц. Т. Ш. П
Ш. П.
Ц. Ш. П.
Размеры частиц, мм
Разные
0,6-6,0
2,4-4,0
1,6-3,2
Внутренняя пористость, %
25-35
25-40
30-40
30-55
Насыпная плотность, кг/м3
690-960
480-850
400-770
480-800
Средний диаметр пор, нм
8,0-14,0
6,0-20,0
3,5-14,0
0,3-1,0
Средняя активная адсорбирующая поверхность,
м2/г
25-150
100-300
200-900
500-800
Адсорбционная емкость сухого поглотителя, г/г
по воде
0,04-0,15
0,1-0,25
0,14-1,0
0,20-0,65
Теплоемкость,
кДж/(кг*°С)
0,83736
1,005-1,047
0,921
0,837
Теплопроводность, кДж/(м2- ч-°С)
830-879
795-1172
795
-
4787
4187
4187
Максимальная теплота адсорбции, отнесенная к 4187
единице массы поглощенного адсорбата, кДж/кг
воды
* Квалифицированная первичная переработка нефтяных и природных углеводородных газов / М. А. Берлин, В. Г. Гореченков, В. П. Капралов. — Краснодар: Советская Кубань, 2012. — 515 с.
90

91. Адсорбционная осушка газов

Подготовка газа к сжижению
hw.tpu.ru
АДСОРБЦИОННАЯ ОСУШКА ГАЗОВ
Используемые адсорбенты:
- Силикагели
Преимущества – низкая t регенерации, низкая себестоимость;
Недостатки – низкая прочность в присутствии воды; чувствительность к тяжелым
УВ (С5+); низкая термическая стойкость (не выше 220-250 °С); быстрая потеря
активности в 2-3 раза по сравнению с первоначальной; сильная чувствительность к
скорости осушаемого газа.
-Цеолиты
Преимущества – высокая депрессия точки росы; высокая прочность; низкие
эксплуатационные расходы; постоянная адсорбционная емкость – стабильная
работа; высокая эффективность при низких содержаниях воды;
Недостатки – высокая стоимость; высокая температура регенерации; склонность
к закоксовыванию пор;
91

92. Адсорбционная осушка

Подготовка газа к сжижению
hw.tpu.ru
АДСОРБЦИОННАЯ ОСУШКА
Полный цикл работы одного аппарата:
- адсорбция при температуре 35 - 50°С, давлении 8-12 МПа,
длительности контакта газа с адсорбентом не менее 10 с (скорость газа
в аппарате 0,15 - 0,30 м/с). Длительность адсорбции выбирают исходя из
адсорбционной емкости поглотителя, начальной и конечной влажности
газа, загрузки адсорбента в аппарате;
-нагрев адсорбента, который производится после переключения
аппарата с режима адсорбции на десорбцию. Нагрев ведется горячим
газом со скоростью не более 60°С в час. Время - 0,1 от периода
адсорбции;
92

93. Адсорбционная осушка

Подготовка газа к сжижению
hw.tpu.ru
АДСОРБЦИОННАЯ ОСУШКА
Полный цикл работы одного аппарата:
-десорбция - вытеснение из пор адсорбента поглощенной воды и
восстановление
его
адсорбционной
активности.
Она
начинает
происходить, когда температура адсорбента достигнет 200-250 °С
(силикагели) или 300-350 °С (цеолиты). Горячий газ проходит слой
адсорбента в направлении, противоположном направлению осушаемого
газа; Время - 0,5 от периода адсорбции;
-охлаждение адсорбента, его начинают после завершения десорбции
и переключения аппарата на режим адсорбции (осушки). Охлаждение
ведут исходным холодным газом. Время охлаждения - 0,40 времени
адсорбции.
93

94. Адсорбционная осушка

Подготовка газа к сжижению
hw.tpu.ru
АДСОРБЦИОННАЯ ОСУШКА
Десорбционная часть цикла работы одного аппарата:
94

95. Адсорбционная осушка газов

Подготовка газа к сжижению
hw.tpu.ru
АДСОРБЦИОННАЯ ОСУШКА ГАЗОВ
В адсорбере 3 слоя:
Муллит
(диам.
7-40
мм.)

распределяет поток газа;
- Защитный слой, крупнопористый
силикагель типа В;
- Основной
осушающий
слой,
мелкопористый силикагель типа А.
Срок службы адсорбента – 2 года.
95

96. Адсорбционная осушка

Подготовка газа к сжижению
Преимущества:
высокая степень осушки газа вне зависимости от его параметров (депрессия ТР до
100°С) – адсорбционная осушка обязательна для заводов по производству гелия;
широкие интервалы температуры и давления газа;
компактность установки, простота и надежность;
малые капитальные затраты для установок малой мощности;
Недостатки:
большие расходы на адсорбент, высокие эксплуатационные затраты;
высокое сопротивление потоку газа;
большие затраты при строительстве установок большой мощности;
периодичность процессов;
постепенное снижение эффективности адсорбента;
hw.tpu.ru
АДСОРБЦИОННАЯ ОСУШКА
96

97.

Удаление сернистых соединений
97

98.

Удаление сернистых соединений
hw.tpu.ru
Хемосорбционные процессы очистки
Процессы очистки аминами
МЭА и ДЭА извлекают из газов с
высокой скоростью H2S, и CO2,
МДЭА и ТЭА—преимущественно
H2S
При 20-40°С и повышенном давлении идет
поглощение кислых газов, а при 105-130ºС и
давлении, близком к атм. - регенерация
поглотителя и выделение кислых газов
1). Реакция H2S/амин – мгновенная:
HO-CH2-CH2-NH2 + H2S ↔ (HO-CH2-CH2-NH3)+HS (гидросульфид МЭА)
2 HO-CH2-CH2-NH2 + H2S ↔ (HO-CH2-CH2-NH3)2+S2- (сульфид МЭА)
2). Реакция CO2/амин – быстрая:
HO-CH2-CH2-NH2 + H2O + CO2 ↔ (HO-CH2-CH2-NH3)+(HCО3)- (гидрокарбонат МЭА)
HO-CH2-CH2-NH2 + H2O+ CO2 ↔ (HO-CH2-CH2-NH3)2+(CО3)2- (карбонат МЭА)
Реакция третичных аминов с CO2:
CO2 +H2O↔H2CO3
H2CO3↔ H++HCO3–
[трет.амин]+ H++HCO3– ↔ [амин H]+ HCO3–
98

99. Основные абсорбционные способы удаления кислых газов

Удаление сернистых соединений
hw.tpu.ru
ОСНОВНЫЕ АБСОРБЦИОННЫЕ СПОСОБЫ УДАЛЕНИЯ КИСЛЫХ ГАЗОВ
Способ
Применяемый растворитель-абсорбент
Плюсы
Минусы
Хемосорбционные процессы с
применением алканоламинов (а также
поташа)
Моноэтаноламин (МЭА)
Диэтаноламин (ДЭА)
Диизопропаноламин (ДИПА, Адип)
Дигликольамин (Эконамин)
К2СО3 (горячий поташ)
Тонкая очистка от CO2 и H2S при
различных Р и Т;
Растворимость УВ невелика;
Аппаратурное оформление отличается
простотой и надёжностью;
Низкая глубина очистки от
меркаптанов, COS, CS2;
COS и CS2 могут образовывать не
регенерируемые соединения;
Высокий расход абсорбента;
Обладают коррозионной активностью
(особенно при насыщении);
Процессы физической абсорбции
органическими растворителями
Пропиленкарбонат (Флюор)
ДМЭ полиэтиленгликоля (Селексол)
N-метилпирролидон (Пуризол)
Высокая глубина комплексной очистки
(при выс. парц.Р);
Не пенятся, не корродируют;
Имеют низкую Т застывания;
Меньшие капиталозатраты (при выс.
парц.Р);
Можно регенерировать без подвода
тепла;
Можно удалять H2S в присутствии CO2
– сырье процесса Клауса
Хорошо поглощают УВ;
Тонкая очистка газов невыполнима;
Комбинированные процессы
(растворитель – смесь алканоламина и
органического растворителя)
ДИПА + Сульфолан (Сульфинол)
ДИПА + Метанол (Ректизол)
Сочетание тонкой и комплексной
очистки – «всеядны» к составу газа;
все равно, Хорошо поглощают УВ;

100.

Удаление сернистых соединений
Выбор способа сводится к выбору абсорбента, который при соответствующем конструктивном
оформлении процесса обеспечивает производство товарного газа и сопутствующих продуктов
при высоких ТЭП.
Как выбрать абсорбент?
Критерии
1. Начальное и конечное 2. Заданное рабочее давление
содержание извлекаемых
компонентов в газе
Закон
Дальтона (следствие)
English     Русский Rules