Уравнения магнитодвижущих сил и токов
Приведение параметров вторичной обмотки и схема замещения приведенного трансформатора
СХЕМА ЗАМЕЩЕНИЯ ПРИВЕДЕННОГО ТРАНСФОРМАТОРА
Векторная диаграмма трансформатора
Трансформирование трехфазного тока и схемы соединения обмоток трехфазных трансформаторов
Параллельная работа трансформаторов
Автотрансформаторы
2.58M
Category: electronicselectronics

Уравнения магнитодвижущих сил и токов (1)

1. Уравнения магнитодвижущих сил и токов

2.

3.

• К зажимам его первичной обмотки подведено
напряжение U1, а вторичная обмотка
разомкнута (U2=0). Ток I0 в первичной обмотке
при этих условиях называют током холостого
хода.
• Магнитодвижущая сила (МДС) I0w1, созданная
этим током, наводит в магнитопроводе
трансформатора основной магнитный поток,
максимальное значение которого
(1.18)
max 2I 0 w1 Rм ,

4.

• При замыкании вторичной обмотки на нагрузку
ZH в ней возникает ток I2. При этом ток в
первичной обмотке увеличивается до значения
I 1.
• Теперь поток Фmах создается действиями МДС
I1w1 и I2w2:
(1.19)
max
2 R I w I w .
м
1 1
max E1 4,44w1 f ,
U1≈(-Е1),
2
2

5.

max U1 4,44w1 f .
(1.20)
2 R I w 2 R I w I w
м
0
1
м
1 1
2
2
уравнение МДС трансформатора
I 0 w1 I 1w1 I 2 w2 .
I 1 w1 I 0 w1 I 2 w2 .
(1.21)

6.

I 0 w1наводит в магнитопроводе
• Составляющая
трансформатора основной магнитный поток Ф,
а составляющая I 2 w2 уравновешивает МДС
вторичной обмотки I w
2 2
• При активно-индуктивной нагрузке, когда
ZH = rн ± jxH и ток нагрузки отстает по фазе от
ЭДС вторичной обмотки Е2 на угол Ψ2, МДС
своей реактивной (индуктивной) составляющей
оказывает на магнитопровод трансформатора
размагничивающее действие:
I 2 p w2 I 2 w2 sin 2 ,

7.

I w I w I w .
(1.22)
При
активно-емкостной
нагрузке
трансформатора, когда ZH = rн ± jxн и ток
нагрузки I2 опережает по фазе ЭДС на угол Ψ2,
реактивная (емкостная) составляющая МДС
вторичной обмотки I2pw2 совпадает по фазе с
основным магнитным потоком Фmах и
подмагничивает
магнитопровод
трансформатора.
Разделив уравнение МДС (1.21) на число
витков w1, получим
2
2
1
1
0
1

8.

• Разделив уравнение МДС (1.21) на число витков
w1, получим
I w w или (1.23)
0
0
Преобразовав выражение (1.23), получим
уравнение токов трансформатора:
I 1 I 0 ( I 2 ).
(1.24)
I0 I
2
0a
I .
2
0p
(1.25)
I1 / I 2 w2 / w1 ,
(1.26)

9. Приведение параметров вторичной обмотки и схема замещения приведенного трансформатора

10.

• Трансформатор
с
коэффициентом
трансформации k = w1/w2 пересчитанный на
эквивалентный трансформатор с k=w1/w’2=1, где
w’2=w1 называют приведенным.
• Электромагнитная мощность вторичной обмотки
реального трансформатора Е2I2 должна быть
равна электромагнитной мощности вторичной
обмотки приведенного трансформатора:
(1.27)
E2 I 2 E2 I 2 .

11.

Значение приведенного тока вторичной обмотки
I/2 = I2(w2/w1)
Приведенная вторичная ЭДС:
I2
I 2 w1
w1
(1.28)
E2 E2
E2 E2
.
I 2
I 2 w2
w2
Так как U2I2 ≈U’2I’2, то приведенное напряжение
вторичной обмотки
(1.29)
U 2 U 2 (w1 / w2 ).
Из условия равенства потерь в активном
сопротивлении вторичной обмотки имеем
I r I ' r'2
2
2 2
2
2

12.

Приведенное активное сопротивление:
r2 r2 ( I 2 / I 2 ) r2 ( w1 / w2 ) .
2
2
(1.30)
Приведенное
индуктивное
сопротивление
рассеяния вторичной обмотки определяют из
условия равенства реактивных мощностей
2
2
, откуда
I x I ' x'
2
2
2
2
x2 x2 ( w1 / w2 ) .
2
(1.31)
Приведенное полное сопротивление вторичной
обмотки трансформатора
2
2
Z 2 r2 jx2 (r2 jx2 )( w1 / w2 ) Z 2 (w1 / w2 ) . (1.32)

13.

Приведенное полное сопротивление нагрузки,
подключенной на выводы вторичной обмотки
(1.33)
Z н Z н ( w1 / w2 ) 2 .
Уравнения напряжений и токов для
приведенного трансформатора
U 1 ( E 1 ) I 1Z1 ( E 1 ) jI 1 x1 I 1r1;
U E I Z E jI x I r ;
2
2
2 2
I 1 I 0 ( I 2 ).
2
2 2
2 2
(1.34)

14. СХЕМА ЗАМЕЩЕНИЯ ПРИВЕДЕННОГО ТРАНСФОРМАТОРА

15.

16.

• Схема замещения приведенного трансформатора
удовлетворяет всем уравнениям ЭДС и токов
приведенного
трансформатора
(1.34)
и
представляет собой совокупность трех ветвей:
• первичной — сопротивлением Z1 = r1 + jx1 и
током I1;
• намагничивающей — сопротивлением Zm=rm+jxm
и током I0;
• вторичной — с двумя сопротивлениями:
сопротивлением собственно вторичной ветви Z'2
= r’2 + jx'2 и сопротивлением нагрузки Z'H = rн' ±
jx'H и током –I2.

17. Векторная диаграмма трансформатора

18.

max E1 4,44 fw1
При
активно
индуктивной
нагрузке
трансформатора, вектор I/2 отстает по фазе от E/2
на угол
x2 xн
2 arctg
,
(1.35)
r2 rн
В
случае
активно-емкостной
нагрузки
трансформатора, вектор I/2 опережает E/2 на угол
x2 xн
2 arctg
.
r2 rн
(1.36)

19.

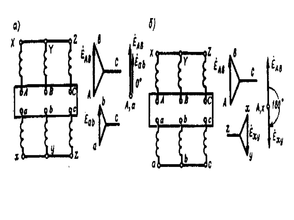
20. Трансформирование трехфазного тока и схемы соединения обмоток трехфазных трансформаторов

21.

22.

Обмотки трехфазных трансформаторов принято
соединять по следующим схемам:
- звезда;
- звезда с нулевым выводом;
- треугольник;
- зигзаг с нулевым выводом.
Схемы соединения обмоток трансформатора
обозначают дробью, в числителе которой
указана схема соединения обмоток ВН, а в
знаменателе — обмоток НН.

23.

24.

Выводы обмоток трансформаторов обозначают:
обмотки ВН — начало обмоток А, В, С,
соответствующие концы X, Y, Z; обмотки НН —
начала обмоток а, b, с, соответствующие концы
х, у, z.
При соединении обмоток звездой линейное
напряжение больше фазного ( U л 3U),ф
а при соединении обмоток треугольником
линейное напряжение равно фазному (Uл = Uф ).

25.

• Отношение линейных напряжений
трехфазного трансформатора определяется
следующим образом:
Схема
соед-ния
обмоток
Отношен
линейны
х
напряже
ний
Y/Y
∆/Y
w1 w2
w1 3w2
∆/∆
Y/∆
ww
1
2
3w1 w2

26.

Группы соединения обмоток

27.

Сдвиг фаз между ЭДС обмотки ВН и обмотки
НН принято выражать группой соединения.
Cдвиг фаз может изменяться от 0 до 360°,
кратность сдвига составляет 30°,
для
обозначения группы соединения принимают ряд
чисел: 1, 2, 3, 4, 5, 6, 7,8,9, 10, 11 и 0.
Угол смещения отсчитывают от вектора ЭДС
обмотки ВН по часовой стрелке до вектора
ЭДС обмотки НН.

28.

29.

30.

• Применением разных способов соединения
обмоток в трехфазных трансформаторах
можно создать 12 различных групп
соединения.
• При одинаковых схемах соединения обмоток
ВН и НН, получают четные группы
соединения, а при неодинаковых схемах,
нечетные.
• Группы соединения (0, 6, 11 и 5) называют
основными.

31.

32.

• Проверку
групп
соединения
трансформаторов
проводят
методом
фазометра и методом вольтметра

33.

Метод фазометра.
Основан на непосредственном измерении угла
фазового сдвига между соответствующими
линейными напряжениями (ЭДС) обмоток ВН и
НН с помощью фазометра φ.
Метод вольтметра.
Это косвенный метод и основан на измерении
вольтметром
напряжений
(ЭДС)
между
одноименными выводами обмоток ВН и НН.

34. Параллельная работа трансформаторов

Параллельной работой двух или нескольких
трансформаторов называется работа при
параллельном соединении их обмоток как на
первичной, так и на вторичной сторонах

35.

36.

Параллельная работа трансформаторов
допускается при следующих условиях:
1. При
одинаковом
первичном
напряжении вторичные напряжения
должны быть равны.
Трансформаторы
должны
иметь
одинаковые
коэффициенты
трансформации:
kI = kII= kIII=…

37.

2. Трансформаторы должны принадлежать
к одной группе соединения
3.
Трансформаторы
должны
иметь
одинаковые напряжения к. з.:
u kI u kII u kIII ...

38.

• Помимо соблюдения указанных трех условий
необходимо перед включением трансформаторов
на параллельную работу проверить порядок
чередования фаз, который должен быть
одинаковым у всех трансформаторов.
• Соблюдение всех перечисленных условий
проверяется фазировкой трансформаторов

39.

Общая нагрузка всех включенных на
параллельную работу трансформаторов S
не
должна
превышать
суммарной
номинальной
мощности
этих
трансформаторов:
S≤∑SHOМX
Распределение
нагрузки
между
параллельно
работающими
трансформаторами определяется:
S x SSíîì . õ ukx Síîì . õ u kx

40.

где Sx — нагрузка одного из параллельно
работающих трансформаторов, кВА;
S — общая нагрузка всей параллельной
группы, кВА;
uкх

напряжение
к.з.
данного
трансформатора, %;
SHOM.X — номинальная мощность данного
трансформатора, кВА.
S
íîì . õ
ukx Síîì 1 uk1 SíîìII
ukII ...

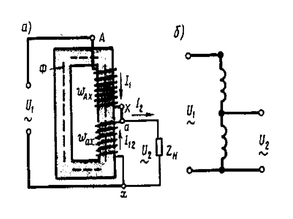
41. Автотрансформаторы

Автотрансформатор — это такой вид
трансформатора, в котором помимо
магнитной связи между обмотками
имеется еще и электрическая связь
Коэффициент
трансформации
автотрансформатора
kA = wAx/wax

42.

43.

проходная
мощность
автотрансформатора, представляет собой
всю передаваемую мощность из первичной
цепи во вторичную.
Sпр=U2I2
Sпр =U2I2=U2(I1+I12)=U2I1+U2I12=Sэ+Sрасч.
расчетная
мощность
Spасч,
представляет
собой
мощность,
передаваемую из первичной во вторичную
цепь магнитным полем.
Sрасч=U2I12

44.

Sэ = U2I1, — мощность, передаваемая из
первичной цепи автотрансформатора во
вторичную благодаря электрической связи
между этими цепями.
Sэ = U2I1=U2I2/kA=Sпр/kA
English     Русский Rules