827.00K
Category: draftingdrafting

Повторение алгоритма построения разреза А-А

1.

Повторение алгоритма построения разреза
А-А
1. Анализ геометрической формы
2. Определение вида разреза
(Фронтальный)
3. Определение положения секущей
плоскости
4. Мысленное удаление части
предмета, расположенной
перед секущей плоскостью
5. Преобразование невидимых линий
в видимые
6. Штриховка фигуры сечения
7. Обозначение разреза
А
А

2.

Соединение вида и разреза
А
Построить целесообразный разрез
Местный разрез
Служит для выявления
внутреннего
устройства предмета
лишь в отдельном,
В
узко ограниченном месте.
Местный разрез не обозначают.
Б

3.

Построить необходимый
разрез

4.

5.

Соединение
части вида
с частью разреза
Применяется, когда
основные элементы
детали симметричны, но
присутствует элемент,
нарушающий общую
симметрию.
В данном случае разрез
не обозначают.

6.

А-А
А
А
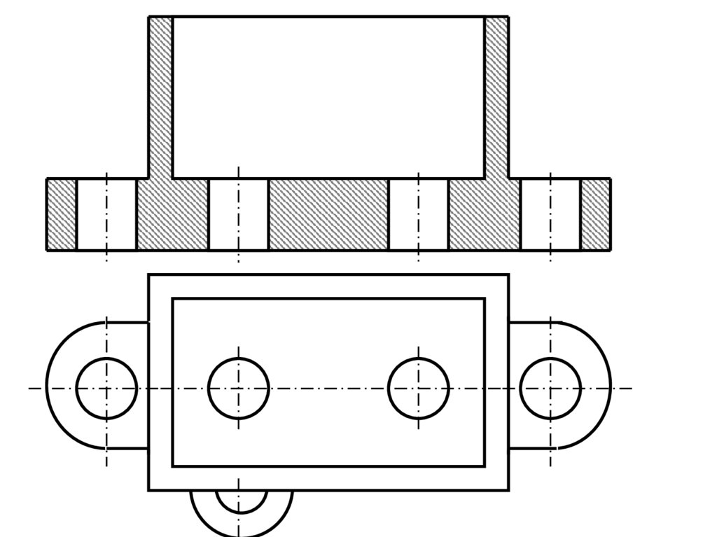
Соединение половины вида
с половиной разреза
Применяется, если изображение
разреза симметрично.
В данном случае разрез при
необходимости обозначают.
Построить целесообразный разрез

7.

Ǿ
Б
А
Ǿ
Ǿ
Ǿ
Ǿ

Соединение
половины вида
с половиной разреза
Особенности нанесения размеров

8.

Закрепление теоретических основ по соединению вида и разреза
Соединение части вида с частью разреза
Местный разрез
А
Б
Соединение половины вида
с половиной разреза
Полный разрез
В
Г
Выполнить необходимый разрез

9.

Определить целесообразность построения разреза.
Исправить допущенные ошибки.
1
А-А
А
А
А
А
2

10.

Определить целесообразность построения разреза.
3
Выполнить необходимый разрез
А
1
А-А
2
А
English     Русский Rules