906.33K
Category: mechanicsmechanics

Гидравлическое сопротивление

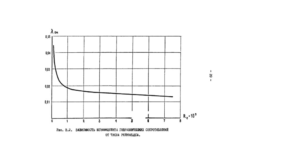
1.

Использование методов обобщённого
анализа для прогнозирования значений
гидравлического сопротивления на
различных участков контура
Выступление подготовила
Ст. гр. М22-ЯЭ Ракова Д.И.
Нижний Новгород, 2023

2.

ГИДРАВЛИЧЕСКОЕ СОПРОТИВЛЕНИЕ
Гидравлические потери или гидравлическое сопротивление — безвозвратные потери
удельной энергии (переход её в теплоту) на участках гидравлических систем
(систем гидропривода, трубопроводах, другом гидрооборудовании), обусловленные
наличием вязкого трения. Хотя потеря полной энергии — существенно положительная величина,
разность полных энергий на концах участка течения может быть и отрицательной (например,
при эжекционном эффекте).

3.

4.

СПАСИБО ЗА ВНИМАНИЕ!
English     Русский Rules